GM Service Manual Online
For 1990-2009 cars only
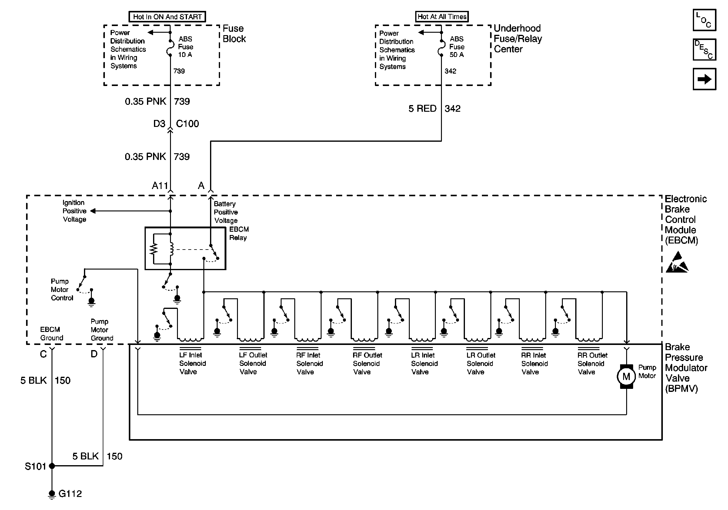
Figure 1:

EBCM Relay and Solenoids


Object Number: 507456  Size: FS
ABS Components
ABS Description
Brake Switch, ETS Switch, and Brake Fluid Level Switch
Ignition Switch, F/P -INJ, SIR, CRUISE, and ABS Fuses
Ignition Switch, F/P -INJ, SIR, CRUISE, and ABS Fuses
Handling ESD Sensitive Parts Notice
Figure 2:

Brake Switch, ETS Switch, and Brake Fluid Level Switch


Object Number: 507462  Size: FS
ABS Components
ABS Description
EBCM and Wheel Speed Sensors
RR DFOG, PWR ACC, and STOP/HAZ Fuses
Ignition Switch, F/P -INJ, SIR, CRUISE, and ABS Fuses
Handling ESD Sensitive Parts Notice
Handling ESD Sensitive Parts Notice
Handling ESD Sensitive Parts Notice
Handling ESD Sensitive Parts Notice
Figure 3:

EBCM and Wheel Speed Sensors


Object Number: 507465  Size: FS
ABS Components
ABS Description
Brake Switch, ETS Switch, and Brake Fluid Level Switch
Handling ESD Sensitive Parts Notice