GM Service Manual Online
For 1990-2009 cars only

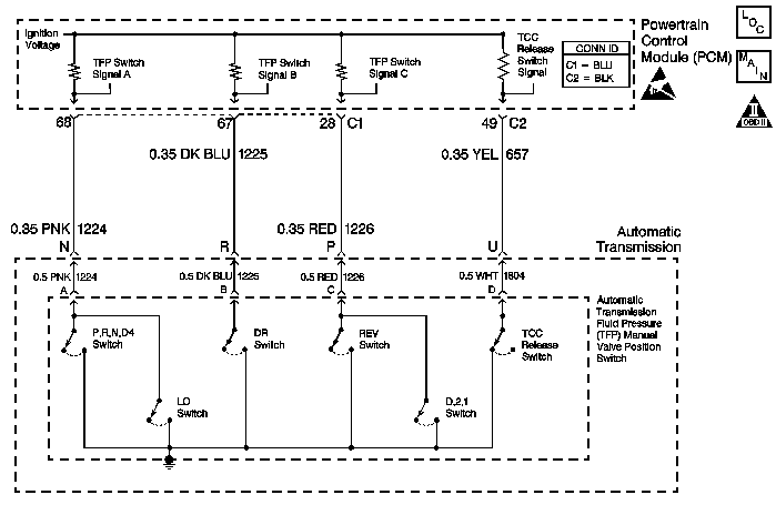
Object Number: 520921  Size: MF
Automatic Transmission Components
Automatic Transmission Controls Schematics
OBD II Symbol Description Notice
Handling ESD Sensitive Parts Notice

Circuit Description

The torque converter clutch (TCC) release switch is part of the automatic transmission fluid pressure (TFP) manual valve position switch. The TFP manual valve position switch is mounted to the transmission valve body. The TCC release switch is normally-closed.

The switch signals the PCM that the TCC is released. This is accomplished by torque converter release fluid pressure acting on the switch contact, thus opening the switch. When the voltage is high on the circuit, the PCM recognizes that the TCC is no longer engaged.

When the PCM determines that the TCC release switch is open (indicating that the TCC is not applied) and the TCC slip speed indicates that the TCC is applied, then DTC P1887 sets. DTC P1887 is a type B DTC.

Conditions for Running the DTC

    • No AT ISS DTCs P0716 or P0717.
    • No TCC DTCs P0741 or P0742.
    • The engine is running.
    • The TFP manual valve position switch indicates D4 range.
    • Engine torque is greater than 45 N·m (33 lb ft).
    • The TCC is commanded ON.
    • The TCC slip speed is -20 to +40 RPM.

Conditions for Setting the DTC

TCC release pressure is present for 6 seconds, twice during the same trip.

Action Taken When the DTC Sets

    • The PCM illuminates the malfunction indicator lamp (MIL) during the second consecutive trip in which the Conditions for Setting the DTC are met.
    • The PCM inhibits TCC engagement.
    • The PCM freezes shift adapts from being updated.
    • The PCM records the operating conditions when the Conditions for Setting the DTC are met. The PCM stores this information as Freeze Frame and Failure Records.
    • The PCM stores DTC P1887 in PCM history during the second consecutive trip in which the Conditions for Setting the DTC are met.

Conditions for Clearing the MIL/DTC

    • The PCM turns OFF the MIL during the third consecutive trip in which the diagnostic test runs and passes.
    • A scan tool can clear the MIL/DTC.
    • The PCM clears the DTC from PCM history if the vehicle completes 40 warm-up cycles without an emission-related diagnostic fault occurring.
    • The PCM cancels the DTC default actions when the fault no longer exists and/or the ignition switch is OFF long enough in order to power down the PCM.

Diagnostic Aids

    • Inspect the connections at the PCM, the TFP manual valve position switch and all other circuit connecting points for an intermittent condition. Refer to Testing for Intermittent Conditions and Poor Connections in Wiring Systems.
    • Inspect the circuit wiring for an intermittent condition. Refer to Testing for Electrical Intermittents in Wiring Systems.
    • Ensure the wiring harness is not stretched too tightly or other components are pressing on the connector body. Also, inspect for proper clearance to any other components and wiring. Refer to Testing for Intermittent Conditions and Poor Connections in Wiring Systems.

Test Description

The numbers below refer to the step numbers on the diagnostic table.

  1. This step tests the PCMs ability to recognize a grounded circuit.

  2. This step tests for a mechanical or hydraulic condition.

DTC P1887 TCC Release Switch Circuit Malfunction

Step

Action

Value(s)

Yes

No

1

Did you perform the Powertrain Diagnostic System Check?

--

Go to Step 2

Go to Powertrain On Board Diagnostic (OBD) System Check (2.2L) or Powertrain On Board Diagnostic (OBD) System Check (2.4L)

2

  1. Install a Scan Tool .
  2. Turn ON the ignition, with the engine OFF.
  3. Important: Before clearing the DTC, use the Scan Tool in order to record the Freeze Frame and Failure Records. Using the Clear Info function erases the Freeze Frame and Failure Records from the PCM.

  4. Record the DTC Freeze Frame and Failure Records.
  5. Clear the DTC.
  6. Select TCC Release Pressure on the Scan Tool .

Does the Scan Tool indicate TCC release pressure is present?

--

Go to Step 3

Go to Step 6

3

  1. Turn OFF the ignition.
  2. Disconnect the AT inline 20-way connector (additional DTCs may set).
  3. Install the J 44152 jumper harness (20 pins) on the engine side of the AT inline 20-way connector.
  4. Using the J 35616 connector test adapter kit, connect a fused jumper wire from terminal U of the J 44152 to ground.
  5. Refer to Automatic Transmission Inline Harness Connector End View .

  6. Turn ON the ignition, with the engine OFF.

Does the Scan Tool indicate TCC release pressure is present?

--

Go to Step 4

Go to Step 5

4

Test the signal circuit (CKT 657) of the TCC release switch for an open between the PCM connector C2 and the AT inline 20-way connector.

Refer to Circuit Testing and Wiring Repairs in Wiring Systems.

Did you find and correct the condition?

--

Go to Step 11

Go to Step 10

5

Test the signal circuit (CKT 1804) of the TCC release switch for an open between the AT inline 20-way connector and the TFP manual valve position switch.

Refer to Circuit Testing in Wiring Systems.

Did you find the condition?

--

Go to Step 8

Go to Step 9

6

  1. Use the Scan Tool snapshot mode in order to record TCC Slip Speed and TCC Release Pressure.
  2. Operate the vehicle under the following conditions:
  3. • Road test the vehicle with gear select lever in D4.
    • Increase the vehicle speed until the TCC is applied.
    • Ensure that slip speed is less than 40 RPM.

With the TCC applied and slip speed less than 40 RPM does the Scan Tool indicate TCC release pressure is present?

--

Go to Step 7

Go to Diagnostic Aids

7

  1. Inspect for the following conditions:
  2. • Leaking torque converter O-ring seal (41) -- Refer to Case and Associated Parts, in Transmission Component Location .
    • Cut torque converter O-ring seal (41).
    • Debris or flash blocking the channel plate (27) (Refer to Case and Associated Parts, in Transmission Component Location ) at the TCC release exhaust passage (48) -- Refer to Channel Plate Passages, in Transmission Component Location .
    • Leaking oil pump bearing and seal assembly (200) seal -- Refer to Oil Pump Assembly, in Transmission Component Location .
    • Cut oil pump bearing and seal assembly (200) seal.
    • Oil pump bearing and seal assembly (200) installed backwards.
    • Misaligned valve body to spacer plate gasket (22) -- Refer to Case and Associated Parts, in Transmission Component Location .
    • Misaligned spacer plate to channel plate gasket (24).
    • Channel plate (27) turbine shaft sleeve installed backwards, or with no press fit.
    • Valve body spacer plate (23) (Refer to Case and Associated Parts, in Transmission Component Location ) release exhaust orifice (46) (Refer to Channel Plate Passages, in Transmission Component Location ) blocked by debris, valve body to spacer plate gasket (22), or spacer plate to channel plate gasket (24).
    • Cut turbine shaft to sprocket seal (33) -- Refer to Case and Associated Parts, in Transmission Component Location .
    • Missing turbine shaft to sprocket seal (33).
  3. Repair any of the above conditions as necessary.

Refer to Transmission Overhaul in the 4T40-E/4T45-E section of the Transmission Unit Repair Manual.

Did you complete the repair?

--

Go to Step 11

--

8

Replace the automatic transmission wiring harness.

Refer to Transmission Overhaul in the 4T40-E/4T45-E section of the Transmission Unit Repair Manual.

Did you complete the repair?

--

Go to Step 11

--

9

Replace the TFP manual valve position switch.

Refer to Pressure Switch Assembly Replacement.

Did you complete the repair?

--

Go to Step 11

--

10

Replace the PCM.

Refer to Powertrain Control Module Replacement/Programming (2.2L) or Powertrain Control Module Replacement/Programming (2.4L) in Engine Controls.

Did you complete the replacement?

--

Go to Step 11

--

11

Perform the following procedure in order to verify the repair:

  1. Select DTC.
  2. Select Clear Info.
  3. Operate the vehicle under the following conditions:
  4. • Drive the vehicle in D4 in order to obtain 74 km/h (45 mph).
    • With the TCC commanded ON and engaged, TCC release pressure must not be present for 3 seconds.
  5. Select Specific DTC.
  6. Enter DTC P1887.

Has the test run and passed?

--

System OK

Go to Step 1