GM Service Manual Online
For 1990-2009 cars only
Makes
🢒
Pontiac
🢒
2000
🢒
Sunfire
🢒
Body and Accessories
🢒
Body Rear End
🢒 Body Rear End Schematics
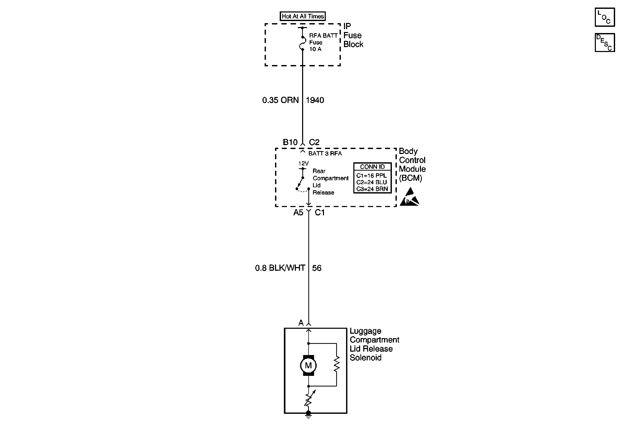
Rear Compartment Lid Release