GM Service Manual Online
For 1990-2009 cars only

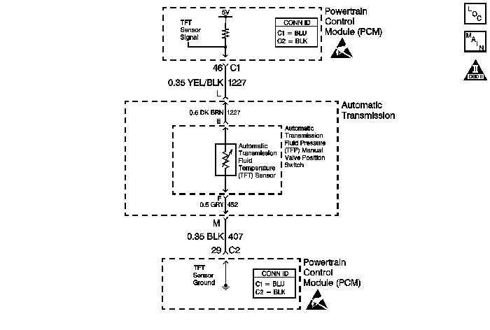
Object Number: 520862  Size: MF
Automatic Transmission Components
Automatic Transmission Controls Schematics
OBD II Symbol Description Notice
Handling ESD Sensitive Parts Notice
Handling ESD Sensitive Parts Notice

Circuit Description

The automatic transmission fluid temperature (TFT) sensor is a negative coefficient thermistor. When the transmission fluid is cold, the sensor resistance is high. As the transmission fluid warms, the sensor resistance decreases. This diagnostic monitors the TFT circuit. The circuit may be functional, but not in the normal operating range. This diagnostic indicates stuck, erratic, intermittent, or skewed values, indicating poor system performance. The TFT range is -40 to +151°C (-40 to +305°F).

When the PCM detects an intermittent voltage or no voltage change in the TFT sensor circuit, then DTC P0711 sets. DTC P0711 is a type C DTC.

Conditions for Running the DTC

    • No VSS DTCs P0502 or P0503.
    • No AT ISS DTCs P0716 or P0717.
    • The system voltage is 8-18 volts.
    • The engine run time is greater than 5 minutes.
    • The engine coolant temperature is greater than 70°C (158°F).
    • The engine coolant temperature has changed by greater than 50°C (90°F) since start-up.
    • The transmission fluid temperature at start-up is -40 to 21°C (-40 to 70°F).
    • The vehicle speed is greater than 8 km/h (5 mph) for 6 minutes and 49 seconds cumulatively.
    • The TCC slip is greater than 300 RPM for 6 minutes and 49 seconds cumulatively.

Conditions for Setting the DTC

One of the following conditions occurs:

Condition 1

The change in transmission fluid temperature is less than 1.5°C (2°F) since start-up for 20 seconds.

Condition 2

The change in transmission fluid temperature is greater than 20°C (36°F) within 200 milliseconds; 14 times within 7 seconds.

Action Taken When the DTC Sets

    • The PCM does not illuminate the malfunction indicator lamp (MIL).
    • The PCM freezes shift adapts from being updated.
    • The PCM calculates a default transmission fluid temperature based on engine coolant temperature, manifold air temperature, and engine run time.
    • The PCM records the operating conditions when the Conditions for setting the DTC are met. The PCM stores this information as Failure Records.
    • The PCM stores DTC P0711 in PCM history.

Conditions for Clearing the DTC

    • A scan tool can clear the DTC.
    • The PCM clears the DTC from PCM history if the vehicle completes 40 warm-up cycles without a non-emission-related diagnostic fault occurring.
    • The PCM cancels the DTC default actions when the fault no longer exists and/or the ignition switch is OFF long enough in order to power down the PCM.

Diagnostic Aids

    • Inspect the connections at the PCM, the TFP manual valve position switch and all other circuit connecting points for an intermittent condition. Refer to Testing for Intermittent Conditions and Poor Connections in Wiring Systems.
    • Inspect the circuit wiring for an intermittent condition. Refer to Testing for Electrical Intermittents in Wiring Systems.
    • Test the TFT sensor at various temperature levels to evaluate the possibility of a skewed (mis-scaled) sensor. Refer to Transmission Fluid Temperature (TFT) Sensor Specifications .

Test Description

The numbers below refer to the step numbers on the diagnostic table.

  1. This step tests for an intermittent short or open condition in the engine wiring harness. The test light is used as a resistor in the circuit.

  2. This step determines if the PCM or the TFT sensor is causing a steady, unchanging TFT reading.

DTC P0711 Transmission Fluid Temperature Sensor Circuit -- Range/Performance

Step

Action

Value(s)

Yes

No

1

Did you perform the Powertrain Diagnostic System Check?

--

Go to Step 2

Go to Powertrain On Board Diagnostic (OBD) System Check (2.2L) or Powertrain On Board Diagnostic (OBD) System Check (2.4L)

2

Did you perform the Transmission Fluid Checking Procedure?

--

Go to Step 3

Go to Transmission Fluid Check

3

  1. Install a Scan Tool .
  2. Turn ON the ignition, with the engine OFF.
  3. Important: Before clearing the DTC, use the Scan Tool in order to record the Failure Records. Using the Clear Info function erases the Failure Records from the PCM.

  4. Record the DTC Failure Records.
  5. Clear the DTC.
  6. Select Trans. Fluid Temp. on the Scan Tool .
  7. Drive the vehicle and observe the Scan Tool for either of the following fail conditions:
  8. • The TFT does not change greater than 1.5°C (2.7°F) in 20 seconds since startup.
    • The TFT changes greater than 20°C (36°F) in 0.200 second, 14 times within 7 seconds (unrealistic change).

Did either of the fail conditions occur?

--

Go to Step 4

Go to Diagnostic Aids

4

Did the Scan Tool display a condition in which the TFT does not change by greater than the specified value in 20 seconds since startup?

1.5°C (2.7°F)

Go to Step 6

Go to Step 5

5

  1. Turn OFF the ignition.
  2. Disconnect the AT inline 20-way connector (additional DTCs may set).
  3. Install the J 44152 jumper harness (20 pins) on the engine side of the AT inline 20-way connector.
  4. Using the J 35616 connector test adapter kit, connect a test light between terminals L and M of the J 44152 .
  5. Refer to Automatic Transmission Inline Harness Connector End View .

  6. Turn ON the ignition, with the engine OFF.
  7. While observing the Scan Tool display, move or wiggle the engine wiring harness from PCM connectors C1 and C2 to the AT inline 20-way connector.

Does the TFT change by greater than the specified value?

20°C (36°F)

Go to Step 7

Go to Step 8

6

  1. Turn OFF the ignition.
  2. Disconnect the AT inline 20-way connector.
  3. Turn ON the ignition, with the engine OFF.

Did the Scan Tool display a condition in which the TFT does not change by greater than the specified value in 20 seconds since startup?

1.5°C (2.7°F)

Go to Step 11

Go to Step 10

7

  1. Test the signal circuit (CKT 1227) of the TFT sensor for an intermittent open or short condition between the PCM connector C1 and the AT inline 20-way connector.
  2. Test the ground circuit (CKT 407) of the TFT sensor for an intermittent open or short condition between the PCM connector C2 and the AT inline 20-way connector.

Refer to Circuit Testing and Wiring Repairs in Wiring Systems.

Did you find and correct a condition?

--

Go to Step 12

Go to Step 11

8

  1. Test the signal circuit (CKT 1227) of the TFT sensor for an intermittent open or short condition between the AT inline 20-way connector and the TFP manual valve position switch.
  2. Test the ground circuit (CKT 452) of the TFT sensor for an intermittent open or short condition between the AT inline 20-way connector and the TFP manual valve position switch.

Refer to Circuit Testing and Wiring Repairs in Wiring Systems

Did you find a condition?

--

Go to Step 9

Go to Step 10

9

Replace the automatic transmission wiring harness.

Refer to Transmission Overhaul in the 4T40-E/4T45-E section of the Transmission Unit Repair Manual.

Did you complete the replacement?

--

Go to Step 12

--

10

Replace the TFT sensor (this is part of the TFP manual valve position switch).

Refer to Pressure Switch Assembly Replacement.

Did you complete the replacement?

--

Go to Step 12

--

11

Replace the PCM.

Refer to Powertrain Control Module Replacement/Programming (2.2L) or Powertrain Control Module Replacement/Programming (2.4L) in Engine Controls.

Did you complete the replacement?

--

Go to Step 12

--

12

Perform the following procedure in order to verify the repair:

  1. Select DTC.
  2. Select Clear Info.
  3. Drive the vehicle and ensure the following conditions are met:
  4. • The TFT changes by greater than 2.25°C (4°F) for 5 seconds since startup.
    • The TFT does not change by greater than 20°C (36°F) within 0.200 second for 11 seconds.
  5. Select Specific DTC.
  6. Enter DTC P0711.

Has the test run and passed?

--

System OK

Go to Step 1