GM Service Manual Online
For 1990-2009 cars only

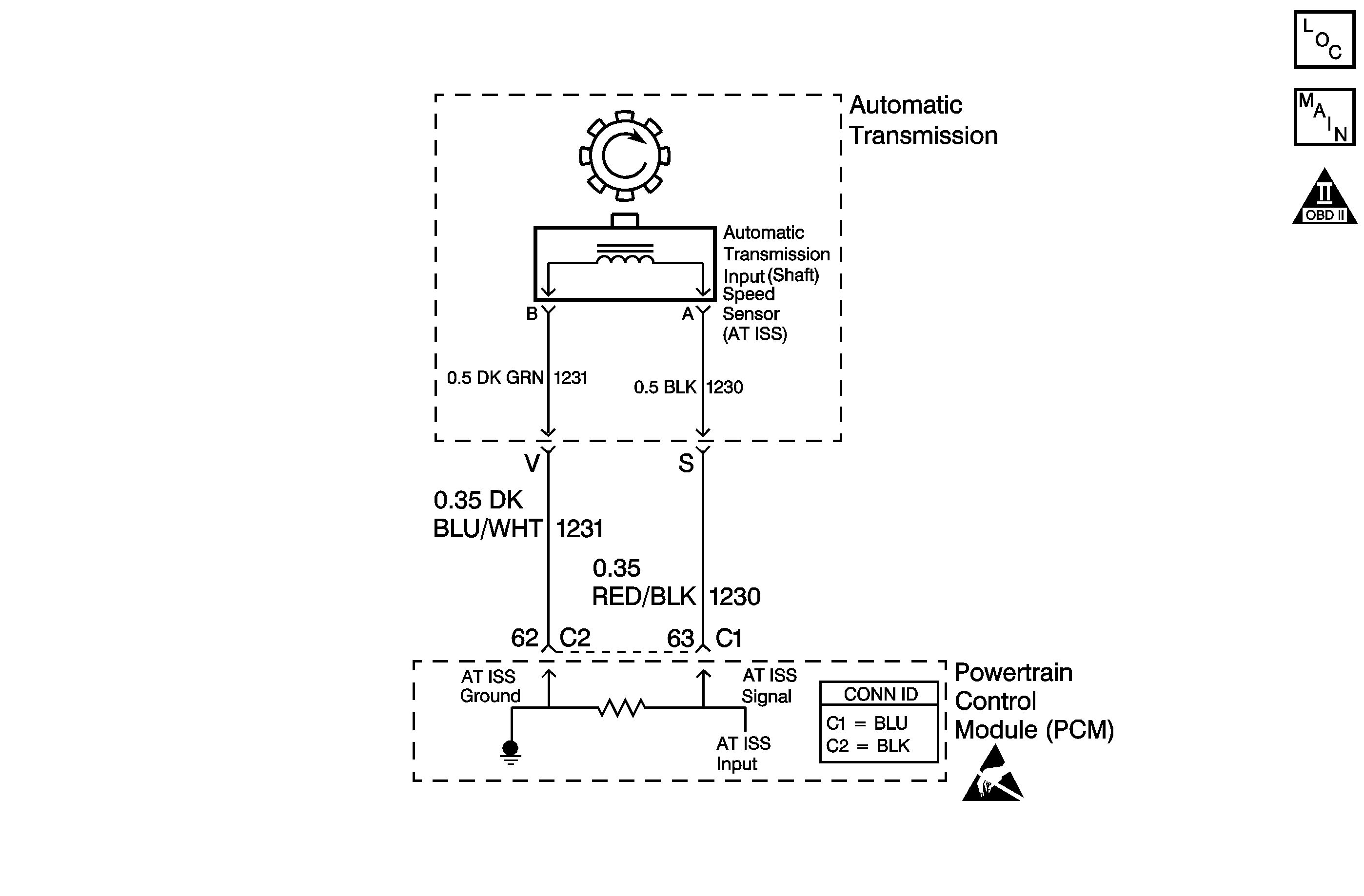
Object Number: 520871  Size: MF
Automatic Transmission Components
Automatic Transmission Controls Schematics
OBD II Symbol Description Notice
Handling ESD Sensitive Parts Notice

Circuit Description

The automatic transmission input (shaft) speed sensor (AT ISS) provides transmission input speed to the PCM. The AT ISS is a permanent magnet (PM) generator. The sensor mounts into the transmission case and maintains a slight air gap between the sensor and the drive sprocket. The PM generator produces an AC voltage as the drive sprocket rotor teeth pass through the sensor's magnetic field. The AC voltage level increases as the turbine shaft speed increases. The PCM converts the AC voltage into a digital signal. The PCM determines actual turbine speed using the digital signal. The PCM uses the input speed to calculate torque converter slip speed, and gear ratios.

When the PCM detects a low input speed and the vehicle has a large vehicle speed, then DTC P0717 sets. DTC P0717 is a type B DTC.

Conditions for Running the DTC

    • No VSS DTCs P0502 or P0503.
    • No TFP manual valve position switch DTC P1810.
    • The engine is running.
    • The TFP manual valve position switch indicates the vehicle is not in PARK or NEUTRAL.
    • The vehicle speed is greater than 8 km/h (5 mph).

Conditions for Setting the DTC

The input speed is less than 100 RPM for 5 seconds.

Action Taken When the DTC Sets

    • The PCM illuminates the malfunction indicator lamp (MIL) during the second consecutive trip in which the Conditions for Setting the DTC are met.
    • The PCM commands maximum line pressure.
    • The PCM freezes shift adapts from being updated.
    • The PCM records the operating conditions when the Conditions for Setting the DTC are met. The PCM stores this information as Freeze Frame and Failure Records.
    • The PCM stores DTC P0717 in PCM history during the second consecutive trip in which the Conditions for Setting the DTC are met.

Conditions for Clearing the MIL/DTC

    • The PCM turns OFF the MIL during the third consecutive trip in which the diagnostic test runs and passes.
    • A scan tool can clear the MIL/DTC.
    • The PCM clears the DTC from PCM history if the vehicle completes 40 warm-up cycles without an emission-related diagnostic fault occurring.
    • The PCM cancels the DTC default actions when the fault no longer exists and/or the ignition switch is OFF long enough in order to power down the PCM.

Diagnostic Aids

    • Inspect the connectors at the PCM, the AT ISS and all other circuit connecting points for an intermittent condition. Refer to Testing for Intermittent Conditions and Poor Connections in Wiring Systems.
    • Inspect the circuit wiring for an intermittent condition. Refer to Testing for Electrical Intermittents in Wiring Systems.
    • Ensure the wiring harness is not stretched too tightly or other components are pressing on the connector body. Also, inspect for proper clearance to any other components and wiring. Refer to Testing for Intermittent Conditions and Poor Connections in Wiring Systems.

Test Description

The numbers below refer to the step numbers on the diagnostic table.

  1. This step tests the AT ISS for correct resistance.

  2. This step verifies the wiring from the AT inline 20-way connector to the PCM, and tests the ability of the AT ISS to produce an AC current.

DTC P0717 Input Speed Sensor Circuit -- Low Input

Step

Action

Value(s)

Yes

No

1

Did you perform the Powertrain Diagnostic System Check?

--

Go to Step 2

Go to Powertrain On Board Diagnostic (OBD) System Check (2.2L) or Powertrain On Board Diagnostic (OBD) System Check (2.4L)

2

  1. Install a Scan Tool .
  2. Turn ON the ignition, with the engine OFF.
  3. Important: Before clearing the DTC, use the Scan Tool in order to record the Freeze Frame and Failure Records. Using the Clear Info function erases the Freeze Frame and Failure Records from the PCM.

  4. Record the DTC Freeze Frame and Failure Records.
  5. Clear the DTC.
  6. Start the engine.
  7. Select Transmission ISS on the Scan Tool .

Is the transmission input speed greater than the specified value?

500 RPM

Go to Diagnostic Aids

Go to Step 3

3

  1. Turn OFF the ignition.
  2. Disconnect the AT inline 20-way connector (additional DTCs may set).
  3. Install the J 44152 jumper harness (20 pins) on the transmission side of the AT inline 20-way connector.
  4. Using the J 39200 digital multimeter (DMM), and the J 35616 connector test adapter kit , measure the resistance between terminals S and V of the J 44152 .
  5. Refer to Automatic Transmission Inline Harness Connector End View .

Is the resistance within the specified range?

615-835 ohms

Go to Step 6

Go to Step 4

4

Test the signal circuit (CKT 1230) of the AT ISS for an open or short to ground between the AT inline 20-way connector and the AT ISS.

Refer to Circuit Testing in Wiring Systems.

Did you find a condition?

--

Go to Step 9

Go to Step 5

5

Test the ground circuit (CKT 1231) of the AT ISS for an open between the AT inline 20-way connector and the AT ISS.

Refer to Circuit Testing in Wiring Systems.

Did you find the condition?

--

Go to Step 9

Go to Step 10

6

  1. Turn OFF the ignition.
  2. Disconnect the J 44152 .
  3. Reconnect the AT inline 20-way connector.
  4. Disconnect the PCM connectors C1 and C2 (additional DTCs may set).
  5. Using the J 35616 , connect theJ 39200 DMM between PCM terminals C1-63 and C2-62.
  6. Select AC volts.
  7. Crank the engine.

Is the AC voltage greater than the specified value?

0.150 mV (50 Hz)

Go to Step 11

Go to Step 7

7

Test the signal circuit (CKT 1230) of the AT ISS for an open or short to ground between the PCM connector C1 and the AT inline 20-way connector.

Refer to Circuit Testing and Wiring Repairs in Wiring Systems.

Did you find and correct a condition?

--

Go to Step 12

Go to Step 8

8

Test the ground circuit (CKT 1231) of the AT ISS for an open between the PCM connector C2 and the AT inline 20-way connector.

Refer to Circuit Testing and Wiring Repairs in Wiring Systems.

Did you find and correct the condition?

--

Go to Step 12

--

9

Replace the automatic transmission wiring harness.

Refer to Transmission Overhaul in the 4T40-E/4T45-E section of the Transmission Unit Repair Manual.

Did you complete the replacement?

--

Go to Step 12

--

10

Replace the AT ISS.

Refer to Transmission Overhaul in the 4T40-E/4T45-E section of the Transmission Unit Repair Manual.

Did you complete the replacement?

--

Go to Step 12

--

11

Replace the PCM.

Refer to Powertrain Control Module Replacement/Programming (2.2L) or Powertrain Control Module Replacement/Programming (2.4L) in Engine Controls.

Did you complete the replacement?

--

Go to Step 12

--

12

Perform the following procedure in order to verify the repair:

  1. Select DTC.
  2. Select Clear Info.
  3. Operate the vehicle under the following conditions:
  4. • Place the transmission in PARK.
    • Start the engine.
    • The transmission input speed must be greater than 500 RPM for 3 seconds.
  5. Select Specific DTC.
  6. Enter DTC P0717.

Has the test run and passed?

--

System OK

Go to Step 1