GM Service Manual Online
For 1990-2009 cars only

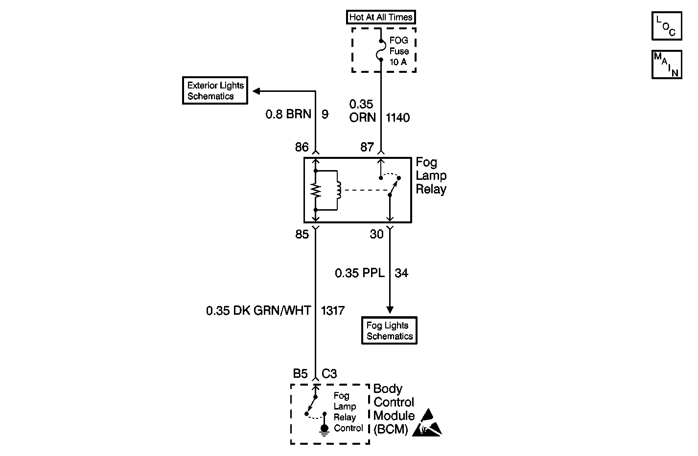
Object Number: 477046  Size: MF
Lighting Systems Components
Fog Lights Schematics
Fog Lights Schematics
Fog Lights Schematics

Circuit Description

The foglamp relay is controlled by the body control module (BCM). Positive voltage is applied to the relay coil when the headlamp switch is in the park or head position. The BCM grounds the foglamp relay control circuit in order to turn on the foglamp relay. When the foglamp relay control circuit becomes shorted to battery positive voltage, DTC B2533 is set.

Conditions for Running the DTC

    • The ignition switch is on.
    • The headlamp switch is on.

Conditions for Setting the DTC

All of the following conditions must be met:

    • The ignition switch is on.
    • The headlamp switch is on.
    • The foglamp relay control circuit is shorted to battery positive voltage for 250 milliseconds.

Action Taken When the DTC Sets

    • The foglamps are always on when the headlamps or parklamps are off.
    • The foglamps are inoperative when the headlamps or parklamps are on.

Conditions for Clearing the DTC

    • A current DTC B2533 will clear when the malfunction is no longer present.
    • All BCM history codes clear after 100 ignition cycles (from OFF to ON) with no current codes active during the 100 ignition cycles.

Diagnostic Aids

    • The fog lamps will only illuminate under the following conditions:
       - The parklamps or low beam headlamps are on.
       - The highbeam headlamps are off.
       - The fog lamp switch is on.
    • If the DTC is a history DTC, the problem may be intermittent. Perform the tests shown while wiggling the wiring and connectors. This action may cause the malfunction to appear.

Test Description

The number(s) below refer to the step number(s) on the diagnostic table.

  1. Listen for an audible click when the foglamp relay operates. Command both the ON and OFF states. Repeat the commands as necessary.

  2. Tests for voltage at the coil side of the foglamp relay.

  3. Verifies that the body control module is providing ground to the foglamp relay.

  4. Tests if ground is constantly being applied to the foglamp relay.

Step

Action

Yes

No

1

Did you perform the Lighting Systems Diagnostic System Check?

Go to Step 2

Go to Diagnostic System Check - Lighting Systems

2

  1. Install a scan tool.
  2. Turn ON the ignition, with the engine OFF.
  3. With a scan tool, command the foglamp relay ON and OFF.

Does the foglamp relay turn ON and OFF with each command?

Go to Testing for Intermittent Conditions and Poor Connections in Wiring Systems

Go to Step 3

3

  1. Turn OFF the ignition.
  2. Disconnect the foglamp relay.
  3. Turn ON the ignition, with the engine OFF.
  4. Probe the coil side feed circuit of the foglamp relay with a test lamp that is connected to a good ground.

Does the test lamp illuminate?

Go to Step 4

Go to Step 10

4

  1. Connect a test lamp between the control circuit of the foglamp relay and the coil side feed circuit of the foglamp relay.
  2. With a scan tool, command the foglamp relay ON and OFF .

Does the test lamp turn ON and OFF with each command?

Go to Step 8

Go to Step 5

5

Does the test lamp remain illuminated with each command?

Go to Step 7

Go to Step 6

6

Test the control circuit of the foglamp relay for a short to voltage. Refer to Circuit Testing and Wiring Repairs in Wiring Systems.

Did you find and correct the condition?

Go to Step 13

Go to Step 9

7

Test the control circuit of the foglamp relay for a short to ground. Refer to Circuit Testing and Wiring Repairs in Wiring Systems.

Did you find and correct the condition?

Go to Step 13

Go to Step 9

8

Inspect for poor connections at the foglamp relay. Refer to Testing for Intermittent Conditions and Poor Connections and Connector Repairs in Wiring Systems.

Did you find and correct the condition?

Go to Step 13

Go to Step 11

9

Inspect for poor connections at the harness connector of the body control module. Refer to Testing for Intermittent Conditions and Poor Connections and Connector Repairs in Wiring Systems.

Did you find and correct the condition?

Go to Step 13

Go to Step 12

10

Repair the coil side feed circuit of the foglamp relay. Refer to Wiring Repairs in Wiring Systems.

Did you complete the repair?

Go to Step 13

--

11

Replace the foglamp relay.

Did you complete the replacement?

Go to Step 13

--

12

Important: Perform the set up procedure for the body control module. Refer to Body Control Module (BCM) Programming/RPO Configuration .

Replace the body control module. Refer to Body Control Module Replacement in Body Control Systems.

Did you complete the replacement?

Go to Step 13

--

13

  1. Use the scan tool in order to clear the DTCs .
  2. Operate the vehicle within the Conditions for Running the DTC as specified in the supporting text.

Does the DTC reset?

Go to Step 2

System OK