GM Service Manual Online
For 1990-2009 cars only

Tools Required

J 39400-A Halogen Leak Detector

Removal Procedure

  1. Recover the refrigerant. Refer to Refrigerant Recovery and Recharging .
  2. Raise and support the vehicle. Refer to Lifting and Jacking the Vehicle in General Information.
  3. Remove the cruise control bracket. Position aside the bracket (if equipped).

  4. Object Number: 302602  Size: SH
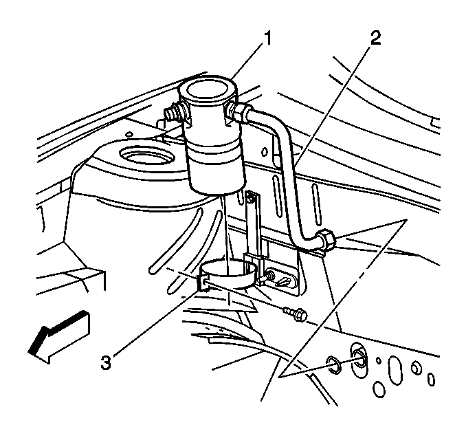
  5. Remove the refrigerant tubes from the accumulator (1). Discard the O-ring seals.
  6. Remove the accumulator bracket (3).
  7. Remove the accumulator (1) from the vehicle.

Installation Procedure


    Object Number: 302602  Size: SH
  1. Install the accumulator (1).
  2. Notice: Use the correct fastener in the correct location. Replacement fasteners must be the correct part number for that application. Fasteners requiring replacement or fasteners requiring the use of thread locking compound or sealant are identified in the service procedure. Do not use paints, lubricants, or corrosion inhibitors on fasteners or fastener joint surfaces unless specified. These coatings affect fastener torque and joint clamping force and may damage the fastener. Use the correct tightening sequence and specifications when installing fasteners in order to avoid damage to parts and systems.

  3. Install the accumulator bracket (3) clamp.
  4. Tighten
    Tighten the bolt to 8 N·m (71 lb in).

    Important: Add the required amount of new refrigerant oil. Refer to Refrigerant System Capacities .

  5. Install the refrigerant lines to the accumulator. Use the O-ring seals.
  6. Tighten
    Tighten the accumulator tube to accumulator and compressor tube to accumulator fitting nuts to 35 N·m (26 lb ft).

  7. Install the cruise control bracket.
  8. Evacuate and recharge the A/C system. Refer to Refrigerant Recovery and Recharging .
  9. Leak test the fittings of the component using the J 39400-A .