GM Service Manual Online
For 1990-2009 cars only

Removal Procedure

  1. Raise vehicle. Refer to Lifting and Jacking the Vehicle in General Information.
  2. Drain the engine oil.
  3. Drain cooling system. Refer to Cooling System Draining and Filling in Engine Cooling.
  4. Remove the flywheel inspection shield.
  5. Remove the right front wheel and tire assembly. Refer to Tire and Wheel Removal and Installation in Tires and Wheels.
  6. Remove the right engine splash shield. Refer to Engine Splash Shield Replacement in Body Rear End.
  7. Remove the drive belt. Refer to Drive Belt Replacement .
  8. Remove the A/C compressor lower bolts. Refer to Air Conditioning Compressor Replacement in Heating, Ventilation and Air conditioning.

  9. Object Number: 61195  Size: SH
  10. Remove the transmission to the engine brace.

  11. Object Number: 60247  Size: SH
  12. Remove the engine mount strut bracket. Refer to Engine Mount Strut Bracket Replacement .
  13. Remove the radiator outlet pipe. Refer to Radiator Outlet Pipe Replacement in Engine Cooling.
  14. Remove the oil pan-to-transmission nut and bolts.
  15. Remove the oil pan-to-transmission stud for clearance.

  16. Object Number: 33652  Size: SH
  17. Remove the oil pan bolts.
  18. Remove the oil pan.

Installation Procedure


    Object Number: 33652  Size: SH
  1. Install the oil pan
  2. Place the spacer in its approximate installed location but allow clearance to tighten the pan bolt directly above the spacer.

  3. Object Number: 60805  Size: SH

    Notice: Use the correct fastener in the correct location. Replacement fasteners must be the correct part number for that application. Fasteners requiring replacement or fasteners requiring the use of thread locking compound or sealant are identified in the service procedure. Do not use paints, lubricants, or corrosion inhibitors on fasteners or fastener joint surfaces unless specified. These coatings affect fastener torque and joint clamping force and may damage the fastener. Use the correct tightening sequence and specifications when installing fasteners in order to avoid damage to parts and systems.

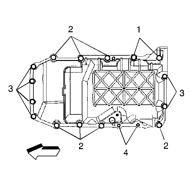
  4. Tighten the oil pan bolts.
  5. Tighten

        • Tighten the M8X1.25X80 (1) to 24 N·m (18 lb ft).
        • Tighten the M8X1.25X22 (2) to 24 N·m (18 lb ft).
        • Tighten the M6X1.00X25 (3) to 12 N·m (106 lb in).
        • Tighten the oil pan bolts (4) to 26 N·m (19 lb ft).
  6. Position the spacer into its proper location and install the stud.
  7. Install the oil pan-to-transmission nut and bolts.
  8. Install the radiator outlet pipe. Refer to Radiator Outlet Pipe Replacement in Engine Cooling.
  9. Install the engine mount strut bracket. Refer to Engine Mount Strut Bracket Replacement .
  10. Install the transmission to the engine brace.
  11. Tighten
    Tighten the bolts to 50 N·m (37 lb ft).

  12. Install the A/C compressor lower bolts. Refer to Air Conditioning Compressor Replacement in Heating, Ventilation and Air conditioning.
  13. Install the drive belt. Refer to Drive Belt Replacement .
  14. Install the right engine splash shield. Refer to Engine Splash Shield Replacement in Body Front End.
  15. Install the right front wheel and tire assembly. Refer to Tire and Wheel Removal and Installation in Tires and Wheels.
  16. Install the flywheel inspection shield.
  17. Install the oil filter if removed.
  18. Lower vehicle.
  19. Fill the cooling system. Refer to Cooling System Draining and Filling in Engine Cooling.
  20. Fill the crankcase with the specified type and amount of oil. Refer to Engine Oil and Oil Filter Replacement .