GM Service Manual Online
For 1990-2009 cars only

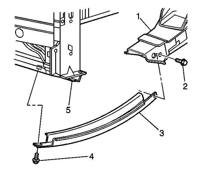
Removal Procedure

  1. Raise the vehicle on a hoist. Refer to Lifting and Jacking the Vehicle in General Information.

  2. Object Number: 490133  Size: SH
  3. Remove the bolt (2) from the front suspension support brace (3) and the front suspension crossmember (1).
  4. Remove the bolt (4) from the front suspension support brace (3) and the lower tie bar (5).
  5. Remove the front suspension support brace (3) from the vehicle.

Installation Procedure


    Object Number: 490133  Size: SH
  1. Install the front suspension support brace (3) to the vehicle.
  2. Install the bolt (4) to the suspension support brace (3) and lower the tie bar (5).
  3. Hand tighten the bolt.

    Notice: Use the correct fastener in the correct location. Replacement fasteners must be the correct part number for that application. Fasteners requiring replacement or fasteners requiring the use of thread locking compound or sealant are identified in the service procedure. Do not use paints, lubricants, or corrosion inhibitors on fasteners or fastener joint surfaces unless specified. These coatings affect fastener torque and joint clamping force and may damage the fastener. Use the correct tightening sequence and specifications when installing fasteners in order to avoid damage to parts and systems.

  4. Install the bolt (4) to the front suspension support brace (3) and the front suspension crossmember (1).
  5. Tighten
    Tighten the bolts to 72 N·m (53 lb ft).

  6. Lower the vehicle.