GM Service Manual Online
For 1990-2009 cars only

Cruise Control Module Replacement 2.2L LN2

Removal Procedure

  1. Disconnect the negative battery cable. Refer to Battery Negative Cable Disconnection and Connection in Engine Electrical.

  2. Object Number: 738591  Size: SH
  3. Disconnect the electrical connector from the cruise control module.

  4. Object Number: 738585  Size: SH
  5. Open the throttle body cam slightly.
  6. Disconnect the cruise control cable from the throttle body cam lever.
  7. Remove the cruise control cable from the throttle body bracket.
  8. Remove the cruise control cable from the retainer clip on the engine.

  9. Object Number: 329483  Size: SH
  10. Disconnect the cruise control cable from the cruise control module by turning the cable ¼ turn counterclockwise.

  11. Object Number: 329482  Size: SH
  12. Disconnect the cruise control cable slug from the ribbon buckle.
  13. Remove the cruise control cable from the engine compartment.

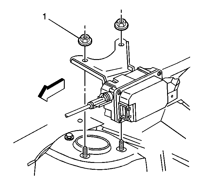
  14. Object Number: 738584  Size: SH
  15. Remove the nuts from the cruise control module mounting bracket.
  16. Remove the cruise control module from the engine compartment.

  17. Object Number: 738581  Size: SH
  18. Remove the bolts from the cruise control module.

  19. Object Number: 738580  Size: SH
  20. Remove the cruise control module from the mounting bracket by pressing out.

Installation Procedure


    Object Number: 738580  Size: SH
  1. Install the cruise control module to the mounting bracket by pressing into place until fully seated.
  2. Position the cruise control module to the mounting bracket.
  3. Notice: Use the correct fastener in the correct location. Replacement fasteners must be the correct part number for that application. Fasteners requiring replacement or fasteners requiring the use of thread locking compound or sealant are identified in the service procedure. Do not use paints, lubricants, or corrosion inhibitors on fasteners or fastener joint surfaces unless specified. These coatings affect fastener torque and joint clamping force and may damage the fastener. Use the correct tightening sequence and specifications when installing fasteners in order to avoid damage to parts and systems.


    Object Number: 738581  Size: SH
  4. Install the bolts to the cruise control module.
  5. Tighten
    Tighten the bolts to the cruise control module to 10 N·m (89 lb in).


    Object Number: 738584  Size: SH
  6. Position the cruise control module to the engine compartment.
  7. Install the nuts to the cruise control module mounting bracket.
  8. Tighten
    Tighten the nuts to the cruise control module to 10 N·m (89 lb in).

    Important: The ribbon must not be twisted.


    Object Number: 738582  Size: SH
  9. Connect the cruise control cable slug to the ribbon buckle.

  10. Object Number: 329483  Size: SH
  11. Insert the cruise control cable into the cruise control module until the seal touches the module.
  12. Position the narrow cable tab into the narrow slot and the wide tab into the wide slot.
  13. Important: The adjuster tab must be pointing toward the front of the car after installation.

  14. Connect the cruise control cable to the cruise control module by turning the cable clockwise.

  15. Object Number: 738591  Size: SH
  16. Connect the electrical connector to the cruise control module.
  17. Install the cruise control cable to the retainer clip on the engine.

  18. Object Number: 738585  Size: SH
  19. Install the cruise control cable to the throttle body bracket pressing into place until fully seated.
  20. Open the throttle body cam slightly.
  21. Connect the cruise control cable to the throttle body cam lever.
  22. Connect the negative battery cable. Refer to Battery Negative Cable Disconnection and Connection in Engine Electrical.

Cruise Control Module Replacement 2.4L LD9

Removal Procedure

  1. Disconnect the negative battery cable. Refer to Battery Negative Cable Disconnection and Connection in Engine Electrical.

  2. Object Number: 738590  Size: SH
  3. Disconnect the electrical connector from the cruise control module.

  4. Object Number: 738579  Size: SH
  5. Remove the push-in retainers from the cruise control cable cover.
  6. Remove the cruise control cable cover from the throttle body control bracket.

  7. Object Number: 738586  Size: SH
  8. Open the throttle body cam slightly.
  9. Disconnect the cruise control cable from the throttle body cam lever.
  10. Remove the cruise control cable from the throttle body bracket.
  11. Remove the cruise control cable from the retainer clip on the engine.

  12. Object Number: 329482  Size: SH
  13. Disconnect the cruise control cable from the cruise control module by turning the cable ¼ turn counterclockwise.
  14. Disconnect the cruise control cable slug from the ribbon buckle.
  15. Remove the cruise control cable from the engine compartment.

  16. Object Number: 738583  Size: SH
  17. Remove the nuts from the cruise control module.
  18. Remove the cruise control module from the engine compartment.

  19. Object Number: 738580  Size: SH
  20. Remove the cruise control module from the mounting bracket by pressing out.

Installation Procedure


    Object Number: 738580  Size: SH
  1. Install the cruise control module to the mounting bracket by pressing into place until fully seated.

  2. Object Number: 738583  Size: SH
  3. Position the cruise control module to the engine compartment.
  4. Notice: Use the correct fastener in the correct location. Replacement fasteners must be the correct part number for that application. Fasteners requiring replacement or fasteners requiring the use of thread locking compound or sealant are identified in the service procedure. Do not use paints, lubricants, or corrosion inhibitors on fasteners or fastener joint surfaces unless specified. These coatings affect fastener torque and joint clamping force and may damage the fastener. Use the correct tightening sequence and specifications when installing fasteners in order to avoid damage to parts and systems.

  5. Install the nuts to the cruise control module.
  6. Tighten
    Tighten the nuts to the cruise control module to 10 N·m (89 lb in).

    Important: The ribbon must not be twisted.


    Object Number: 738582  Size: SH
  7. Connect the cruise control cable slug to the ribbon buckle.

  8. Object Number: 329483  Size: SH
  9. Insert the cruise control cable into the cruise control module until the seal touches the module.
  10. Position the narrow cable tab into the narrow slot and the wide tab into the wide slot.
  11. Important: The adjuster tab must be pointing toward the front of the car after installation.

  12. Connect the cruise control cable to the cruise control module by turning the cable clockwise.

  13. Object Number: 738590  Size: SH
  14. Connect the electrical connector to the cruise control module.
  15. Install the cruise control cable to the retainer clip on the engine.

  16. Object Number: 738586  Size: SH
  17. Install the cruise control cable to the throttle body bracket pressing into place until fully seated.
  18. Open the throttle body cam slightly.
  19. Connect the cruise control cable to the throttle body cam lever.

  20. Object Number: 738579  Size: SH
  21. Position the cruise control cable cover to the throttle body control bracket.
  22. Install the push-in retainers to the cruise control cable cover.
  23. Connect the negative battery cable. Refer to Battery Negative Cable Disconnection and Connection in Engine Electrical.