GM Service Manual Online
For 1990-2009 cars only
Figure 1:

Power, Ground and Serial Data


Object Number: 787659  Size: FS
Master Electrical Component List
OBD II Symbol Description Notice
Controlled/Monitored Subsystem References 1 of 3
IP Fuse Block CIG, HORN, LT HDLP, CLSTR, EXT, LP, FOG Fuses, and HDLP Circuit Breaker
Underhood Fuse Block BATT 1 Fuse and IP Fuse Block MIRROR, RT HDLP, FLS/PASS, RDO/INTLP, RFA BATT, and AMPL Fuses
IP Fuse Block TURN - B/U, IGN MDL, PCM, BCM /CLU Fuses
Underhood Fuse Block BATT 1 Fuse and IP Fuse Block MIRROR, RT HDLP, FLS/PASS, RDO/INTLP, RFA BATT, and AMPL Fuses
G110
Figure 2:

Controlled/Monitored Subsystem References 1 of 3


Object Number: 669284  Size: FS
Master Electrical Component List
OBD II Symbol Description Notice
Controlled/Monitored Subsystem References 2 of 3
Power, Ground and Serial Data
Switch Signals and Courtesy Lamps Control
Domestic and Indicators
Variable Pulse Delay
Door Jamb Switches
Passlock Cylinder Figure
Passlock Cylinder Figure
Switch and Controls - W/AUO
Switch and Controls - W/AUO
Door Lock Motors - W/AUO
Door Lock Motors - W/AUO
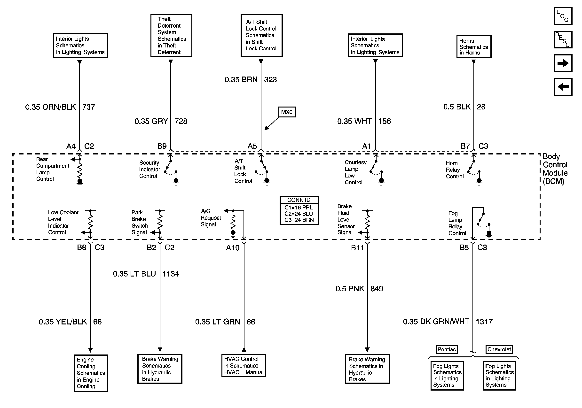
Figure 3:

Controlled/Monitored Subsystem References 2 of 3


Object Number: 669288  Size: FS
Master Electrical Component List
OBD II Symbol Description Notice
Controlled/Monitored Subsystem References 3 of 3
Controlled/Monitored Subsystem References 1 of 3
Horns Schematics Figure
Horns Schematics Figure
Courtesy / Reading Lamps
Courtesy / Reading Lamps
Shift Lock Control
Gages
Switch Signals and Courtesy Lamps Control
Domestic - Pontiac
G102 - 1 of 2
G102 - 1 of 2
A/C Switch and Sensor
ABS Schematics Figure
Power and Ground
Figure 4:

Controlled/Monitored Subsystem References 3 of 3


Object Number: 669290  Size: FS
Master Electrical Component List
OBD II Symbol Description Notice
Controlled/Monitored Subsystem References 2 of 3
G204 1 of 2
Lamp Controls, Rear Torn Lamps, and Indicators
Domestic and Indicators
Domestic and Indicators
Dimmer Controls