Tools Required
- Use a flat blade screwdriver in order to
remove the direct clutch retaining ring (617) from the direct clutch housing
(610).
- Remove the direct clutch backing plate (619).
- Remove the composition and steel clutch plates (618).
- Using J 23456
or an Arbor Press, J 23327-1
, J 25018-A
,
and a flat blade screw driver, remove the forward and direct clutch retainer
ring (617).
- Remove the apply ring and the release spring
assembly (616).
- Remove the piston assembly (615).
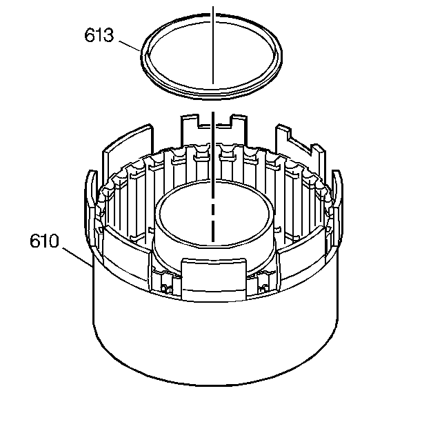
- Remove the inner and outer seals (614, 612) from the direct clutch
piston (615).
- Remove the center seal (613) from the direct
clutch housing (610).