GM Service Manual Online
For 1990-2009 cars only

Tools Required

    • J 23456 Clutch Pack Compressor
    • J 23327-1 Adaptor
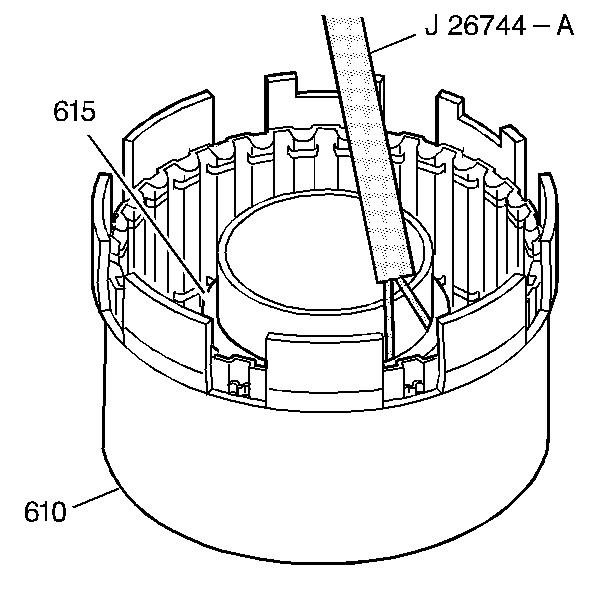
    • J 26744-A Lip Seal Installer

    Object Number: 16442  Size: SH
  1. Affix the center seal (613) into the direct clutch housing (610).

  2. Object Number: 16443  Size: SH
  3. Affix the inner and outer seals (614, 612) onto the direct clutch piston (615).

  4. Object Number: 16444  Size: SH
  5. Install the seals (612, 614) as shown.

  6. Object Number: 16446  Size: SH
  7. Using J 26744-A , install the piston and seal assembly (615) into the direct clutch housing (610).

  8. Object Number: 16447  Size: SH
  9. Using J 23456 or an Arbor Press, and J 23327-1 , install the apply ring and release spring assembly (616), and install the retainer ring (617).

  10. Object Number: 16448  Size: SH
  11. Lubricate the composition clutch plates (618) with DEXRON IIIā„¢ automatic transmission fluid before assembly.
  12. Install the clutch plates (618) into the housing, alternating first a steel plate and then a composition plate.

  13. Object Number: 16449  Size: SH
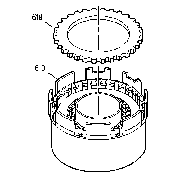
  14. Insert the backing plate (619) into the direct clutch housing (610).

  15. Object Number: 16431  Size: SH
  16. Insert the retainer ring (617) into the direct clutch housing (610).