GM Service Manual Online
For 1990-2009 cars only
Makes
🢒
Pontiac
🢒
2001
🢒
Sunfire
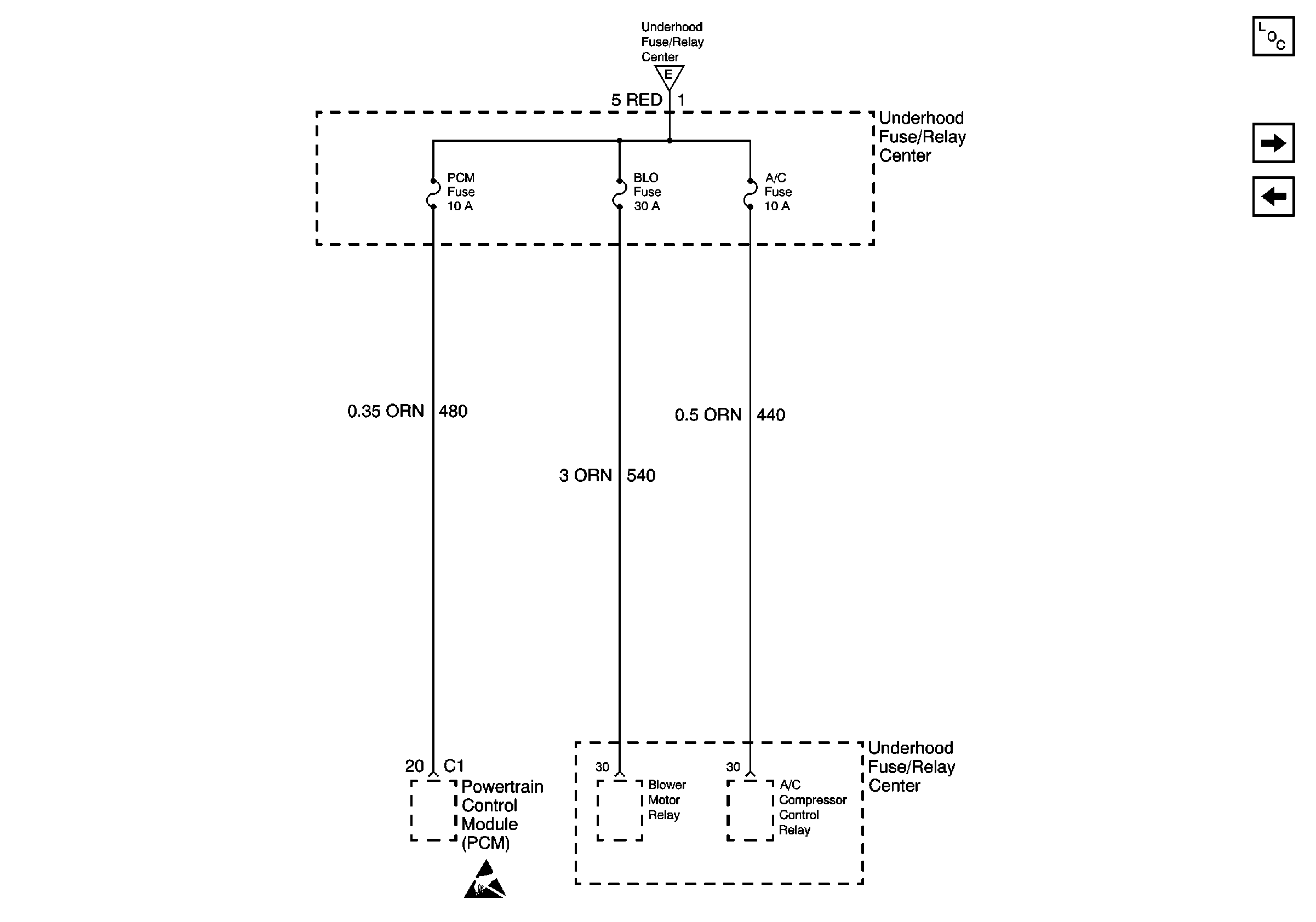
🢒 PCM, BLO, and A/C Fuses
PCM, BLO, and A/C Fuses
PCM, BLO, and A/C Fuses
Power and Grounding Components
Ignition Switch, F/P -INJ, SIR, CRUISE, and ABS Fuses
Cooling Fan, BATT1, BATT2, IGN, PCM/HVAC and ABS Fuses
Cooling Fan, BATT1, BATT2, IGN, PCM/HVAC and ABS Fuses
Handling ESD Sensitive Parts Notice