GM Service Manual Online
For 1990-2009 cars only
Makes
🢒
Pontiac
🢒
2001
🢒
Sunfire
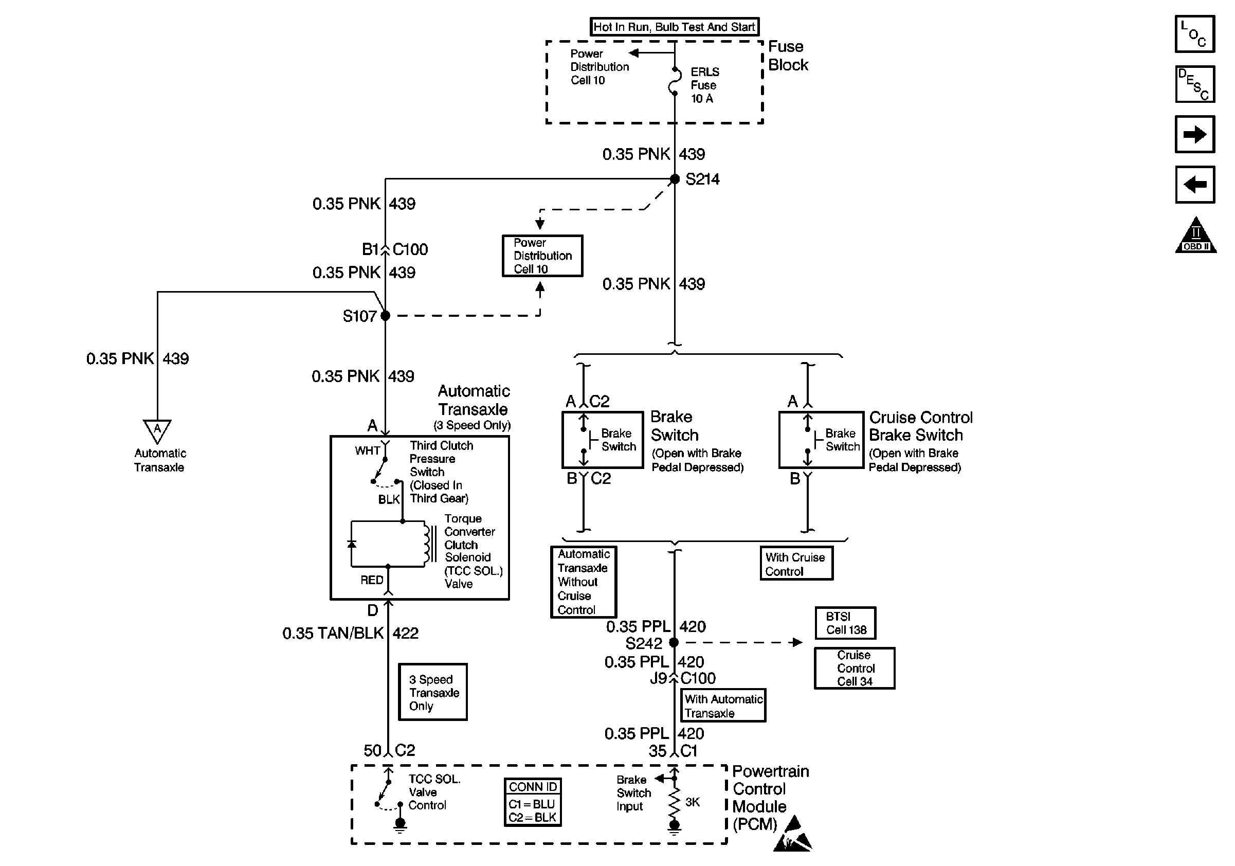
🢒 Power, Ground, Automatic Transaxle, and Brake Switch
Power, Ground, Automatic Transaxle, and Brake Switch
Power, Ground, Automatic Transaxle,and Brake Switch
Engine Controls Components
Powertrain Control Module Description
Automatic Transaxle
A/C Compressor Clutch
OBD II Symbol Description Notice
ALARM, and ERLS Fuses
ALARM, and ERLS Fuses
Automatic Transaxle
Handling ESD Sensitive Parts Notice
Cruise Control Schematics