GM Service Manual Online
For 1990-2009 cars only
Makes
🢒
Pontiac
🢒
2001
🢒
Sunfire
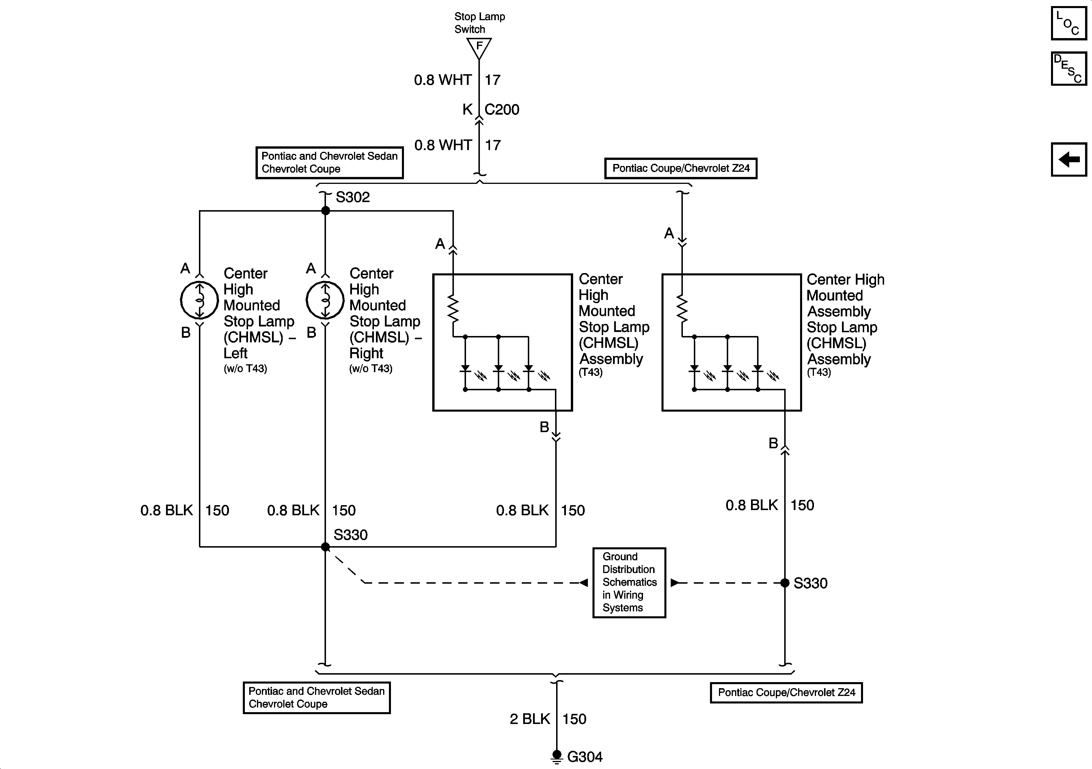
🢒 Center High Mounted Stop Lamps
Center High Mounted Stop Lamps
Center High Mounted Stop Lamps
Master Electrical Component List
Back Up Lamps
Lamp Controls, Rear Torn Lamps, and Indicators