GM Service Manual Online
For 1990-2009 cars only
Makes
🢒
Pontiac
🢒
2001
🢒
Sunfire
🢒 Auomatic Transmission Shift Lock Control
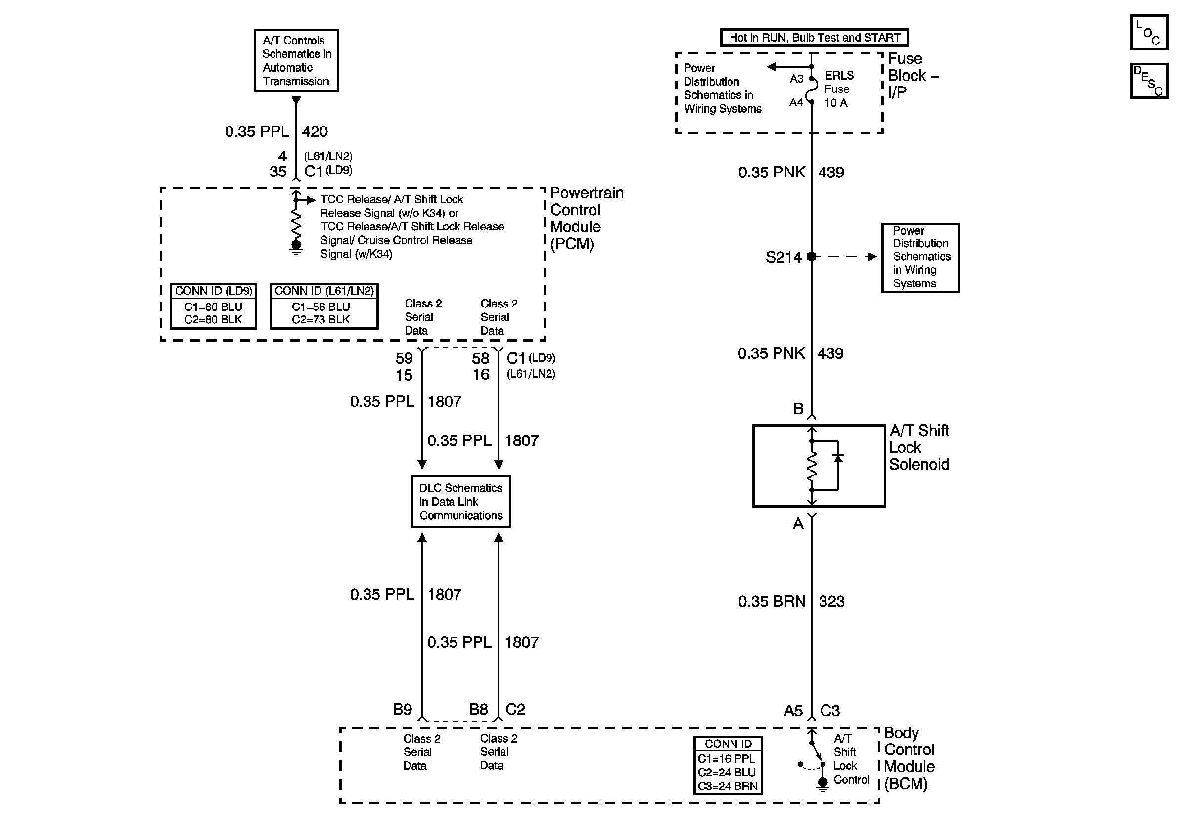
Auomatic Transmission Shift Lock Control
Master Electrical Component List
Automatic Transmission Shift Lock Control Description and Operation
I/P Fuse Block ERLS Fuse