GM Service Manual Online
For 1990-2009 cars only
Makes
🢒
Pontiac
🢒
2004
🢒
Sunfire
🢒
Engine
🢒
Engine Controls - 2.2L (L61)
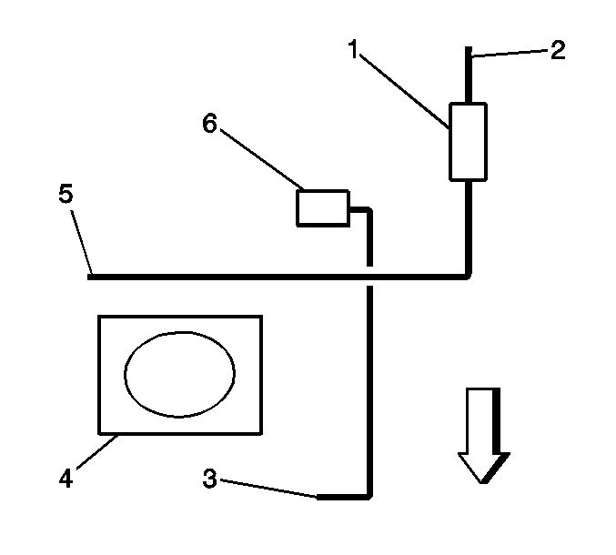
🢒 Emission Hose Routing Diagram
(1)
EVAP Canister Purge Solenoid Valve
(2)
To EVAP Canister
(3)
To Pre-Plenum
(4)
Throttle Body
(5)
To Intake Manifold
(6)
Fuel Pressure Regulator