GM Service Manual Online
For 1990-2009 cars only

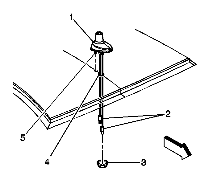
Removal Procedure


    Object Number: 863410  Size: SH
  1. Remove enough of the headliner in order to expose the antenna base and the electrical connections. Refer to Headlining Trim Panel Replacement in Interior Trim.
  2. Release the locking tabs for the antenna leads (2).
  3. Disconnect the antenna leads (2) from the headliner wire harness assembly.
  4. Remove the power sunroof motor/actuator, if equipped. Refer to Sunroof Motor/Actuator Replacement in Roof.
  5. Remove the antenna base nut (3).
  6. Remove the antenna base (1) from the vehicle roof.
  7. Route the antenna leads (2) through the opening in the vehicle roof (4).

Installation Procedure


    Object Number: 863410  Size: SH
  1. Route the antenna leads (2) through the opening in the vehicle roof (4).
  2. Align the locating pin (5) on the antenna base (1) to the vehicle roof.
  3. Install the antenna base (1) to the vehicle roof.
  4. Notice: Use the correct fastener in the correct location. Replacement fasteners must be the correct part number for that application. Fasteners requiring replacement or fasteners requiring the use of thread locking compound or sealant are identified in the service procedure. Do not use paints, lubricants, or corrosion inhibitors on fasteners or fastener joint surfaces unless specified. These coatings affect fastener torque and joint clamping force and may damage the fastener. Use the correct tightening sequence and specifications when installing fasteners in order to avoid damage to parts and systems.

  5. Install the antenna mounting nut (3).
  6. Tighten
    Tighten the nut to 6 N·m (53 lb in).

  7. Install the power sunroof motor/actuator. Refer to Sunroof Motor/Actuator Replacement in Roof.
  8. Connect the antenna lead (2) to headliner wire harness assembly.
  9. Press the connector until the locking tabs are fully engaged.
  10. Install the headliner. Refer to Headlining Trim Panel Replacement in Interior Trim.