GM Service Manual Online
For 1990-2009 cars only

Steering Shaft, Lower Bearing, and Jacket Replacement Tilt

Tools Required

J 41688 Centering Sphere Installer

Removal Procedure

    Caution: Refer to SIR Caution in the Preface section.


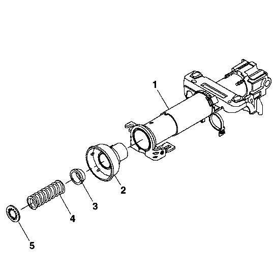
    Object Number: 372985  Size: SH
  1. Disable the SIR system. Refer to SIR Disabling and Enabling in SIR.
  2. Remove the steering column jacket. Refer to Steering Column Jacket Replacement .
  3. Remove the lower spring retainer (5) and discard.
  4. Remove the lower bearing spring (4).
  5. Remove the lower bearing seat (3).
  6. Remove the adapter and bearing assembly (2) from steering column jacket assembly (1).

  7. Object Number: 372988  Size: SH
  8. Remove the steering shaft assembly from the steering column jacket assembly.

  9. Object Number: 372991  Size: SH
  10. Remove the 4 support screws and discard.
  11. Remove the steering column support assembly from the steering column jacket assembly.

  12. Object Number: 306318  Size: SH

    Important: Mark the upper shaft assembly and the lower steering shaft assembly to ensure proper assembly. Failure to assemble properly will cause the steering wheel to be turned 180 degrees.

  13. Tilt the upper shaft assembly (1) 90 degrees to the lower steering shaft assembly (2) and disengage.

  14. Object Number: 299885  Size: SH
  15. Insert the race and upper shaft assembly (1) into J 41688 .
  16. Insert J 41688 into a vise.
  17. Rotate the driver 90 degrees in the counterclockwise direction in order to disengage the centering sphere from the race and upper shaft assembly.
  18. Remove the race and upper shaft assembly (1) from J 41688 .
  19. Remove the shaft preload spring and the centering sphere fromJ 41688 .
  20. If necessary, discard the old centering sphere and the old shaft preload spring.

  21. Object Number: 371220  Size: SH
  22. Remove the joint preload spring from the centering sphere.

Installation Procedure


    Object Number: 332949  Size: SH
  1. Lubricate the centering sphere (1) with GM P/N 12345718 (Canadian P/N 10953516).
  2. Install the centering sphere (1) and the joint preload spring (2) into J 41688 .

  3. Object Number: 299881  Size: SH
  4. Compress the centering sphere and joint preload spring with J 41688 .

  5. Object Number: 299885  Size: SH
  6. Install the upper shaft assembly.
  7. After the race and upper shaft assembly (1) is firmly attached to the centering sphere, rotate the shaft 90 degrees downward in order to lock the centering sphere in place.

  8. Object Number: 299887  Size: SH
  9. Remove the centering sphere installer and the race and upper shaft assembly from the vise.
  10. Disassemble J 41688 by separating the base. After the tool is disassembled, remove the race and upper shaft from J 41688 .

  11. Object Number: 299888  Size: SH
  12. Lubricate the centering sphere with GM P/N 12345718 (Canadian P/N 10953516).
  13. Using the alignment marks from the disassemble procedure, tilt the upper and lower shafts 90 degrees to each other and engage.
  14. Notice: Refer to Fastener Notice in the Preface section.


    Object Number: 372991  Size: SH
  15. Install the steering column support assembly to the steering column jacket assembly with the 4 support screws.
  16. Tighten
    Tighten the screws to 8 N·m (71 lb in).


    Object Number: 372988  Size: SH
  17. Install the steering shaft assembly into the steering column support assembly.

  18. Object Number: 372985  Size: SH
  19. Install the adapter and bearing assembly (2) to the steering column jacket assembly (1). Position the tab on the adapter and bearing assembly with the slot in steering column jacket assembly and push together.
  20. Install the lower bearing seat (3).
  21. Install the lower bearing spring (4).
  22. Install the new lower spring retainer (5).
  23. When installing, compress the lower bearing spring (4) to the length of 23.5 mm (0.93 in) between the lower bearing seat (3) and the lower spring retainer (5).

    Caution: Improper routing of the wire harness assembly may damage the inflatable restraint steering wheel module coil. This may result in a malfunction of the coil, which may cause personal injury.

  24. Install the steering column jacket. Refer to Steering Column Jacket Replacement .
  25. Enable the SIR system. Refer to SIR Disabling and Enabling in SIR.

Steering Shaft, Lower Bearing, and Jacket Replacement Standard

Removal Procedure

    Caution: Refer to SIR Caution in the Preface section.


    Object Number: 599101  Size: SH
  1. Disable the SIR system. Refer to SIR Disabling and Enabling in SIR.
  2. Remove the steering column jacket. Refer to Steering Column Jacket Replacement .
  3. Remove and discard the 4 support screws (1).
  4. Remove the support mounting adapter (2).

  5. Object Number: 372193  Size: SH
  6. Remove and discard the lower spring retainer (6).
  7. Remove the lower bearing spring (5).
  8. Remove the lower bearing seat (4).
  9. Remove the adapter and bearing assembly (3).
  10. Remove and discard the bearing retainer (1).
  11. Remove the steering shaft assembly (2) from the steering column jacket.

Installation Procedure


    Object Number: 599105  Size: SH
  1. Install the support mounting bracket (2).
  2. Lubricate the new support screws (1) with LOCTITE® 242, GM P/N 123455382 (Canadian P/N 10953489).
  3. Notice: Refer to Fastener Notice in the Preface section.

  4. Install 4 new support screws (1).
  5. Tighten
    Tighten the screws to 8 N·m (71 lb in).


    Object Number: 372193  Size: SH
  6. Install the steering shaft assembly (2) into the steering column jacket assembly.
  7. Important: The bearing retainer must be seated correctly on the steering shaft.

  8. Install the new bearing retainer (1).
  9. Install the adapter and bearing assembly (3).
  10. Install the lower bearing seat (4).
  11. Important: When installing, compress the lower bearing spring (5) to the length of 23.5 mm (0.93 inches) between the lower bearing seat (4) and the lower spring retainer (6).

  12. Install the lower bearing spring (5).
  13. Install the new lower spring retainer (6).
  14. Caution: Improper routing of the wire harness assembly may damage the inflatable restraint steering wheel module coil. This may result in a malfunction of the coil, which may cause personal injury.

  15. Install the steering column jacket. Refer to Steering Column Jacket Replacement .
  16. Enable the SIR system. Refer to SIR Disabling and Enabling in SIR.