| Table 1: | Fuse Block--I/P Wire Entry |
| Table 2: | Fuse Block--Underhood Wire Entry |
Fuse/Circuit Breaker | Rating | Description |
|---|---|---|
ABS | 10 A | Antilock Brake Solenoids |
AIR BG | 15 A | Air Bag |
AMPL | 10 A (Chevrolet) 20 A (Pontiac) | Amplifier |
APO | 20A | Accessory Power Outlet |
BCM | 10 A | Body Control Module |
BCM/CLU | 10 A | Body Control Module/Cluster |
CIG | 20 A | Interior Lamps, Exterior Lamps |
CLSTR | 10 A | Instrument Panel Cluster, Electronic Brake Control Module |
CRUISE | 10 A | Cruise Control |
ERLS | 10 A | Brake Transaxle Shift Interlock (BTSI), Cruise Control, HVAC: Compressor Control, Multi-port Injection |
EXT LP | 20 A | Exterior Lamps, Interior Lamps Dimming |
FOG | 10 A | Daytime Running Lamps: Fog Lamps |
F/P-INJ | 15 A | Fuel Pump and Fuel Injectors |
HORN | 15 A | Horn |
HVAC | 10 A | Antilock Brake, Coolant Fan, HVAC: Compressor Control |
IGN MDL | 20 A | Ignition Module |
LT HDLP | 15 A | Left Headlamp |
MIR/DLC | 10 A | Power Mirror |
O2 HTR | 10 A | O2 Sensor Heater |
PCM | 10 A | Powertrain Control Module |
PWR ACC | 15 A | Power Door Locks |
PWR WDO (Circuit Breaker) | 25 A | Power Sunroof and Power Windows |
RDO/INTLP | 10 A | Radio, Interior Lamps |
RFA BATT | 15 A | Remote Keyless Entry System |
RR DEFOG | 30 A | Rear Defogger |
RT HDLP | 15 A | Right Headlamp |
STOP/ HZD | 20 A | Antilock Brakes, Cruise Control, Exterior Lamps |
TURN-BU | 10 A | Back Up Lamps, Exterior Lamps |
WIPER | 25 A | Wiper/Washer |
Connector Part Information |
| ||||||
|---|---|---|---|---|---|---|---|
Pin | Wire Color | Circuit No. | Function | ||||
A1 | PNK | 3 | Ignition 1 Voltage Bus | ||||
A2 | PNK | 539 | Ignition 1 Voltage | ||||
PNK | 539 | Ignition 1 Voltage | |||||
A3 | PNK | 3 | Ignition 1 Voltage Bus | ||||
A4 | PNK | 439 | Ignition 1 Voltage | ||||
A5 | PNK | 3 | Ignition 1 Voltage Bus | ||||
A6 | PNK | 39 | Ignition 1 Voltage | ||||
PNK | 39 | Ignition 1 Voltage | |||||
A7 | PNK | 3 | Ignition 1 Voltage | ||||
A8 | PNK/WHT | 639 | Ignition 1 Voltage (Chevrolet) | ||||
PNK/WHT | 639 | Ignition 1 Voltage (Pontiac) | |||||
A9 | PNK | 3 | Ignition 1 Voltage Bus | ||||
A10 | PNK | 239 | Ignition 1 Voltage | ||||
B1 | PNK | 3 | Ignition 1 Voltage Bus | ||||
B2 | PNK | 839 | Ignition 1 Voltage | ||||
B3 | PNK | 3 | Ignition 1 Voltage Bus | ||||
B4 | YEL | 1139 | Ignition 1 Voltage | ||||
B5 | PNK | 3 | Ignition 1 Voltage | ||||
B6 | PNK | 339 | Ignition 1 Voltage | ||||
PNK | 339 | Ignition 1 Voltage | |||||
B7 | PNK | 3 | Ignition 1 Voltage Bus | ||||
B8 | PNK | 739 | Ignition 1 Voltage | ||||
B9 | ORN | 1640 | Battery Positive Voltage | ||||
B10 | RED | 642 | Battery Positive Voltage | ||||
C1 | RED | 442 | Battery Positive Voltage Bus | ||||
C2 | ORN | 1940 | Battery Positive Voltage | ||||
C3 | RED | 442 | Battery Positive Voltage Bus | ||||
C4 | ORN | 1040 | Battery Positive Voltage | ||||
ORN | 1040 | Battery Positive Voltage | |||||
C5 | RED | 442 | Battery Positive Voltage Bus | ||||
C6 | ORN | 740 | Battery Positive Voltage | ||||
ORN | 740 | Battery Positive Voltage | |||||
C7 | RED | 442 | Battery Positive Voltage | ||||
C8 | ORN | 340 | Battery Positive Voltage | ||||
ORN | 340 | Battery Positive Voltage | |||||
C9 | RED | 442 | Battery Positive Voltage Bus | ||||
C10 | ORN | 640 | Battery Positive Voltage | ||||
D1 | RED | 442 | Battery Positive Voltage Bus | ||||
D2 | ORN | 1440 | Battery Positive Voltage | ||||
ORN | 1440 | Battery Positive Voltage | |||||
D3 | RED | 442 | Battery Positive Voltage Bus | ||||
D4 | ORN | 240 | Battery Positive Voltage | ||||
D5 | RED | 442 | Battery Positive Voltage Bus | ||||
D6 | ORN | 40 | Battery Positive Voltage | ||||
D7 | RED | 442 | Battery Positive Voltage | ||||
D8 | ORN/BLK | 1140 | Battery Positive Voltage | ||||
D9 | RED | 442 | Battery Positive Voltage Bus | ||||
D10 | ORN | 1540 | Battery Positive Voltage | ||||
ORN | 1540 | Battery Positive Voltage | |||||
E1-E4 | -- | -- | Not Used | ||||
E5 | RED | 642 | Battery Positive Voltage | ||||
E6 | ORN | 140 | Battery Positive Voltage | ||||
ORN | 140 | Battery Positive Voltage | |||||
E7-E10 | -- | -- | Not Used | ||||
F1 | RED | 642 | Battery Positive Voltage | ||||
F2 | ORN | 1340 | Battery Positive Voltage | ||||
F3 | RED | 642 | Battery Positive Voltage Bus | ||||
F4 | ORN | 1240 | Battery Positive Voltage | ||||
F5-F10 | -- | -- | Not Used | ||||
G1 | ORN | 300 | Ignition 3 Voltage | ||||
G2 | BRN | 241 | Ignition 3 Voltage | ||||
G3 | ORN | 300 | Ignition 3 Voltage Bus | ||||
G4 | BRN | 41 | Ignition 3 Voltage (Pontiac) | ||||
BRN | 41 | Ignition 3 Voltage (Pontiac) | |||||
G4 | BRN | 41 | Ignition 3 Voltage (Chevrolet) | ||||
G5-G10 | -- | -- | Not Used | ||||
H1 | BRN | 4 | Accessory Voltage | ||||
H2 | YEL | 143 | Accessory Voltage | ||||
YEL | 143 | Accessory Voltage | |||||
H3 | BRN | 4 | Accessory Voltage Bus | ||||
H4 | YEL | 43 | Accessory Voltage | ||||
H5-H10 | -- | -- | Not Used | ||||
J1-J2 | -- | -- | Not Used | ||||
J3 | RED | 442 | Battery Positive Voltage | ||||
J4 | ORN/BLK | 440 | Battery Positive Voltage | ||||
J5-J10 | -- | -- | Not Used | ||||
K1-K3 | -- | -- | Not Used | ||||
L1 | ORN | 740 | Battery Positive Voltage -- Domestic Only | ||||
L2 | -- | -- | Not Used | ||||
L3 | DK BLU | 1201 | DRL Headlamp Low Beam Supply Voltage | ||||
M1 | GRY | 589 | DRL Resistor Supply Voltage | ||||
M2 | -- | -- | Not Used | ||||
M3 | LT GRN/BLK | 592 | DRL Relay Control -- Domestic Only | ||||
N1 | BRN | 141 | Ignition 3 Voltage | ||||
BRN | 141 | Ignition 3 Voltage | |||||
N2 | ORN | 300 | Ignition 3 Voltage | ||||
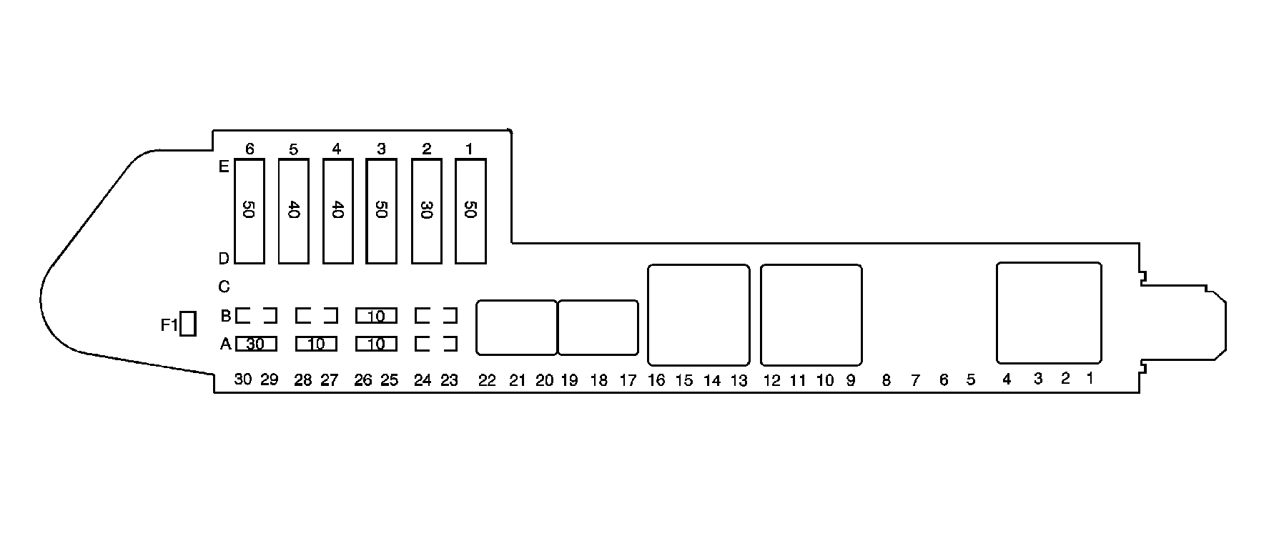
Fuse | Rating | Description |
|---|---|---|
MiniFuse | ||
A/C | 10 A | HVAC: Compressor Control |
BLO | 30 A | HVAC: Blower Control and HVAC: Compressor Control |
CRNK | 10 A | Starter Relay Control |
PCM | 10 A | Multiport Fuel Injection |
MaxiFuse | ||
ABS | 50 A | Antilock Brakes and Power Distribution |
BATT 1 | 40 A | Power Distribution |
BATT 2 | 40 A | Power Distribution |
COOLING FAN | 30 A | Cooling Fan |
IGN | 50 A | Power Distribution, Starter and Charging System |
PCM/HVAC | 50 A | Blower Relay Control |
Connector Part Information |
| ||||||
|---|---|---|---|---|---|---|---|
Pin | Wire Color | Circuit No. | Function | ||||
A1 | -- | -- | Not Used | ||||
A2 | BLK | 150 | Ground | ||||
A3 | -- | -- | Not Used | ||||
A4 | ORN | 540 | Battery Positive Voltage | ||||
A5-A9 | -- | -- | Not Used | ||||
A10 | DK GRN | 335 | Cooling Fan Relay Control | ||||
A11 | -- | -- | Not Used | ||||
A12 | RED | 542 | Battery Positive Voltage | ||||
A13 | -- | -- | Not Used | ||||
A14 | BLK | 150 | Ground | ||||
A15 | -- | -- | Not Used | ||||
A16 | RED | 642 | Battery Positive Voltage | ||||
A17 | BLK/WHT | 451 | Ground | ||||
A18 | -- | -- | Not Used | ||||
A19 | GRY | 120 | Fuel Pump Supply Voltage | ||||
A20 | DK GRN/WHT | 459 | A/C Compressor Clutch Relay Control | ||||
A21 | -- | -- | Not Used | ||||
A22 | ORN | 440 | Battery Positive Voltage | ||||
A23 | -- | -- | Not Used | ||||
A24 | RED | 1 | Battery Positive Voltage Bus | ||||
A25 | ORN | 440 | Battery Positive Voltage | ||||
A26 | RED | 1 | Battery Positive Voltage | ||||
A27 | ORN | 480 | Battery Positive Voltage | ||||
A28 | RED | 1 | Battery Positive Voltage Bus | ||||
A29 | ORN | 540 | Battery Positive Voltage | ||||
A30 | RED | 1 | Battery Positive Voltage Bus | ||||
B1 | -- | -- | Not Used | ||||
B2 | PPL | 65 | Blower Motor Supply Voltage | ||||
B3 | -- | -- | Not Used | ||||
B4 | BRN | 64 | Blower Motor Relay Supply Voltage | ||||
B5-B9 | -- | -- | Not Used | ||||
B10 | LT BLU | 409 | Cooling Fan Motor Supply Voltage | ||||
B11 | -- | -- | Not Used | ||||
B12 | RED | 542 | Battery Positive Voltage | ||||
B13 | -- | -- | Not Used | ||||
B14 | PPL/WHT | 6 | Starter Solenoid Crank Voltage | ||||
B15 | -- | -- | Not Used | ||||
B16 | PPL/WHT | 1035 | Starter Relay Coil Supply Voltage (MX0) | ||||
PPL | 806 | Crank Voltage (MM5) | |||||
B17 | PNK | 839 | Ignition 1 Voltage | ||||
B18 | -- | -- | Not Used | ||||
B19 | DK GRN/WHT | 465 | Fuel Pump Relay Control | ||||
B20 | DK GRN | 59 | A/C Compressor Clutch Supply Voltage | ||||
B21 | -- | -- | Not Used | ||||
B22 | PNK | 439 | Ignition 1 Voltage | ||||
B23-B24 | -- | -- | Not Used | ||||
B25 | PPL/WHT | 1035 | Starter Relay Coil Supply Voltage (MX0) | ||||
B25 | PPL | 806 | Crank Voltage (MM5) | ||||
B26 | YEL | 5 | Crank Voltage (MX0) | ||||
B26 | PPL/WHT | 1035 | Starter Relay Coil Supply Voltage (MM5) | ||||
B27-B30 | -- | -- | Not Used | ||||
C1-C30 | -- | -- | Not Used | ||||
D1 | RED | 1 | Battery Positive Voltage | ||||
D2 | RED | 542 | Battery Positive Voltage | ||||
RED | 542 | Battery Positive Voltage | |||||
D3 | RED | 342 | Battery Positive Voltage | ||||
D4 | RED | 642 | Battery Positive Voltage | ||||
RED | 642 | Battery Positive Voltage | |||||
D5 | RED | 442 | Battery Positive Voltage | ||||
D6 | RED | 242 | Battery Positive Voltage | ||||
E1 | RED | 1 | Battery Positive Voltage Bus | ||||
E2 | RED | 1 | Battery Positive Voltage Bus | ||||
E3 | RED | 1 | Battery Positive Voltage Bus | ||||
E4 | RED | 1 | Battery Positive Voltage Bus | ||||
E5 | RED | 1 | Battery Positive Voltage Bus | ||||
E6 | RED | 1 | Battery Positive Voltage Bus | ||||
F1 | RED | 1 | Battery Positive Voltage Bus | ||||