GM Service Manual Online
For 1990-2009 cars only

If a tire goes flat, avoid further tire and wheel damage by driving slowly to a level place. Turn on your hazard warning flashers.

Caution: Changing a tire can be dangerous. The vehicle can slip off the jack and roll over or fall on you or other people. You and they could be badly injured or even killed. Find a level place to change your tire. To help prevent the vehicle from moving:

  1. Set the parking brake firmly.
  2. Put an automatic transmission shift lever in PARK (P), or shift a manual transmission to FIRST (1) or REVERSE (R).
  3. Turn off the engine and do not restart while the vehicle is raised.
  4. Do not allow passengers to remain in the vehicle.
To be even more certain the vehicle will not move, you should put blocks at the front and rear of the tire farthest away from the one being changed. That would be the tire on the other side, at the opposite end of the vehicle.


Object Number: 856243  Size: B4

The following steps will tell you how to use the jack and change a tire.

Removing the Spare Tire and Tools


Object Number: 812646  Size: A2

The equipment you'll need is located in the trunk.

  1. Turn the center retainer nut on the compact spare tire cover counterclockwise to remove it.

  2. Object Number: 812416  Size: B3
  3. Lift and remove the cover. See Compact Spare Tire for more information about the compact spare tire.

  4. Object Number: 806852  Size: A3
  5. Turn the wing bolt counterclockwise and remove it. Then lift off the adapter and remove the compact spare tire.
  6. Your vehicle's jack and wheel wrench are stored in a foam tray. Remove the jack and wheel wrench from the trunk. Remove the band around the jack.

Object Number: 810243  Size: B3

The tools you'll be using include the jack (A) and wheel wrench (B).

Removing the Flat Tire and Installing the Spare Tire


Object Number: 869286  Size: B3
  1. If your vehicle is equipped with wheel covers, use the wheel wrench to begin loosening the plastic wheel nut caps. Then you can finish loosening them with your fingers. Using the flat end of the wheel wrench, pry along the edge of the wheel cover until it comes off.
  2. Use the wheel wrench to loosen all the wheel nuts. Don't remove them yet.

  3. Object Number: 806149  Size: B3
  4. Near each wheel well is a notch in the frame which the jack head fits in. The front notch is 9 inches (23 cm) back from the front wheel well. The rear notch is 8 inches (20 cm) forward from the rear wheel well. As is shown by the diagram, if your vehicle has flared side moldings, both front and rear notches are 18 inches (46 cm) from the wheel wells.
  5. Position the jack and raise the jack head until it fits firmly into the notch in the vehicle's frame nearest the flat tire. Put the compact spare tire near you.

    Caution: Getting under a vehicle when it is jacked up is dangerous. If the vehicle slips off the jack you could be badly injured or killed. Never get under a vehicle when it is supported only by a jack.

    Caution: Raising your vehicle with the jack improperly positioned can damage the vehicle and even make the vehicle fall. To help avoid personal injury and vehicle damage, be sure to fit the jack lift head into the proper location before raising the vehicle.


    Object Number: 806361  Size: B3
  6. Raise the vehicle by turning the jack handle clockwise. Raise the vehicle far enough off the ground so there is enough room for the compact spare tire to fit underneath the wheel well.
  7. Remove all of the wheel nuts.

  8. Object Number: 811105  Size: A2

    Remove any rust or dirt from the wheel bolts, mounting surfaces and spare wheel.

    Caution: Rust or dirt on a wheel or other parts to which it is fastened, can make the wheel nuts become loose and eventually the wheel could come off and cause a crash. Always remove all rust and dirt from wheels and other parts.

    Caution: Never use oil or grease on bolts or nuts because the nuts might come loose. The vehicle's wheel could fall off, causing a crash.

  9. Place the compact spare tire on the wheel-mounting surface.

  10. Object Number: 807928  Size: A3
  11. Reinstall the wheel nuts with the rounded end of the nuts toward the wheel. Tighten each nut by hand until the wheel is held against the hub.

  12. Object Number: 812488  Size: B3
  13. Lower the vehicle by turning the jack handle counterclockwise. Lower the jack completely.

  14. Object Number: 808642  Size: A2
  15. Tighten the wheel nuts firmly in a crisscross sequence, as shown.

Caution: Incorrect or improperly tightened wheel nuts can cause the wheel to come loose and even come off. This could lead to a crash. If you have to replace them, be sure to get new original equipment wheel nuts. Stop somewhere as soon as you can and have the nuts tightened with a torque wrench to the proper torque specification. See Capacities and Specifications for wheel nut torque specification.

Notice: Improperly tightened wheel nuts can lead to brake pulsation and rotor damage. To avoid expensive brake repairs, evenly tighten the wheel nuts in the proper sequence and to the proper torque specification. See Capacities and Specifications for the wheel nut torque specification.

Don't try to put a wheel cover on your compact spare tire. It won't fit. Store the wheel cover in the trunk until you have the flat tire repaired or replaced.

Notice: Wheel covers will not fit on your vehicle's compact spare. If you try to put a wheel cover on the compact spare, the cover or the spare could be damaged.

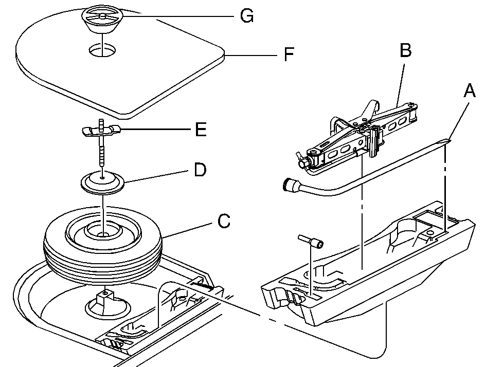
Storing the Flat Tire and Tools

Caution: Storing a jack, a tire, or other equipment in the passenger compartment of the vehicle could cause injury. In a sudden stop or collision, loose equipment could strike someone. Store all these in the proper place.


Object Number: 812483  Size: B4
  1. Wrench

  2. Jack

  3. Flat Road Tire

  4. Adapter

  5. Extension

  6. Wing Bolt (Extension Installed)

  7. Cover

  8. Nut

Store the flat tire in the compact spare tire compartment and secure the adapter, extension (aluminum wheel only) and wing bolt. Store the jack and wheel wrench in the foam tray.

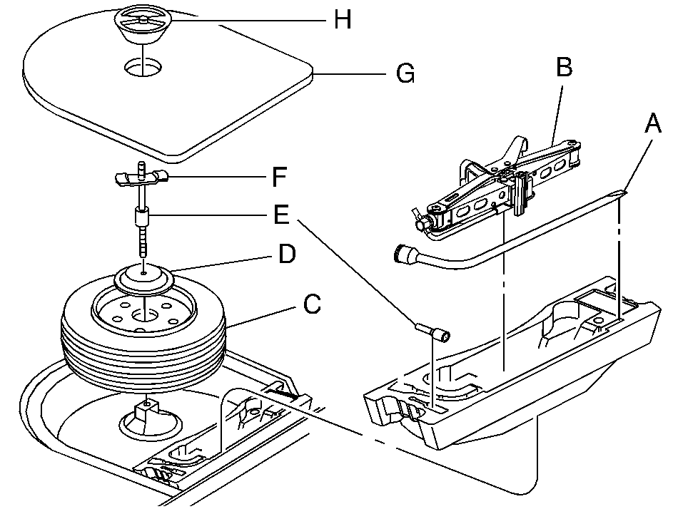
Storing the Spare Tire and Tools

Caution: Storing a jack, a tire, or other equipment in the passenger compartment of the vehicle could cause injury. In a sudden stop or collision, loose equipment could strike someone. Store all these in the proper place.

The compact spare tire is for temporary use only. Replace the compact spare tire with a full-size tire as soon as you can. See Compact Spare Tire .


Object Number: 806140  Size: B4
  1. Wrench

  2. Jack

  3. Compact Spare Tire

  4. Adapter

  5. Wing Bolt

  6. Cover

  7. Nut