GM Service Manual Online
For 1990-2009 cars only
Makes
🢒
Pontiac
🢒
2004
🢒
Sunfire
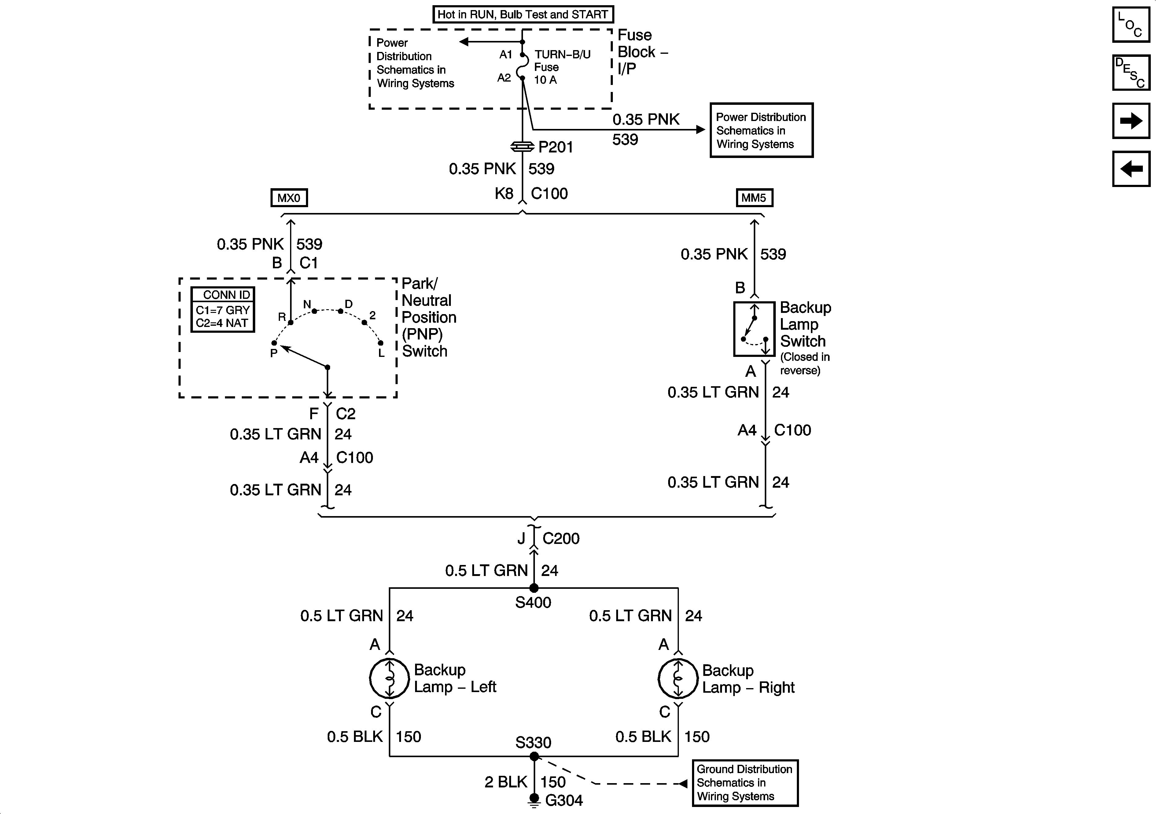
🢒 Backup Lamps
Backup Lamps
Backup Lamps
Master Electrical Component List
Exterior Lighting Systems Description and Operation
Center High Mounted Stop Lamps
Rear Lamps
Fuse Block I/P, TURN B/U, IGN MDL, PCM, BCM/CLU Fuses
Fuse Block I/P, TURN B/U, IGN MDL, PCM, BCM/CLU Fuses
G304