GM Service Manual Online
For 1990-2009 cars only
Makes
🢒
Pontiac
🢒
2004
🢒
Sunfire
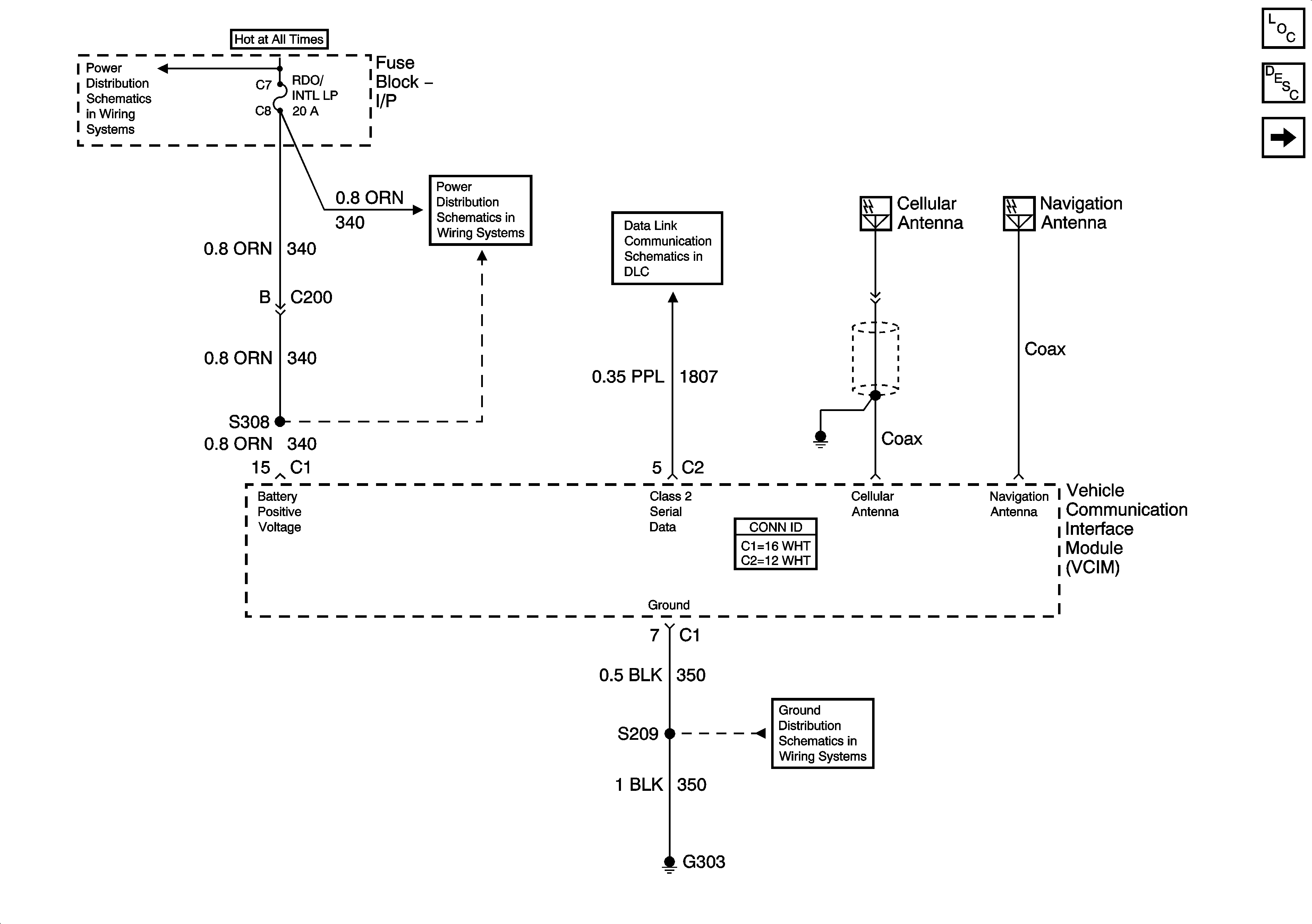
🢒 Antennas, Data Link, Ground and Power
Antennas, Data Link, Ground and Power
Antennas, Data Link, Ground and Power
Master Electrical Component List
OnStar Description and Operation
Inside Rearview Mirror
Fuse Block Underhood, Batt 1 Fuse, Fuse Block I/P, MIR/DLC, RT HDLP, FLS/PASS, RDO/INTLP, RFA BATT, AMPL Fuses
Fuse Block Underhood, Batt 1 Fuse, Fuse Block I/P, MIR/DLC, RT HDLP, FLS/PASS, RDO/INTLP, RFA BATT, AMPL Fuses
Data Link Communication (DLC)
G102