GM Service Manual Online
For 1990-2009 cars only
Makes
🢒
Pontiac
🢒
2004
🢒
Sunfire
🢒 Seat Belt
Seat Belt
Master Electrical Component List
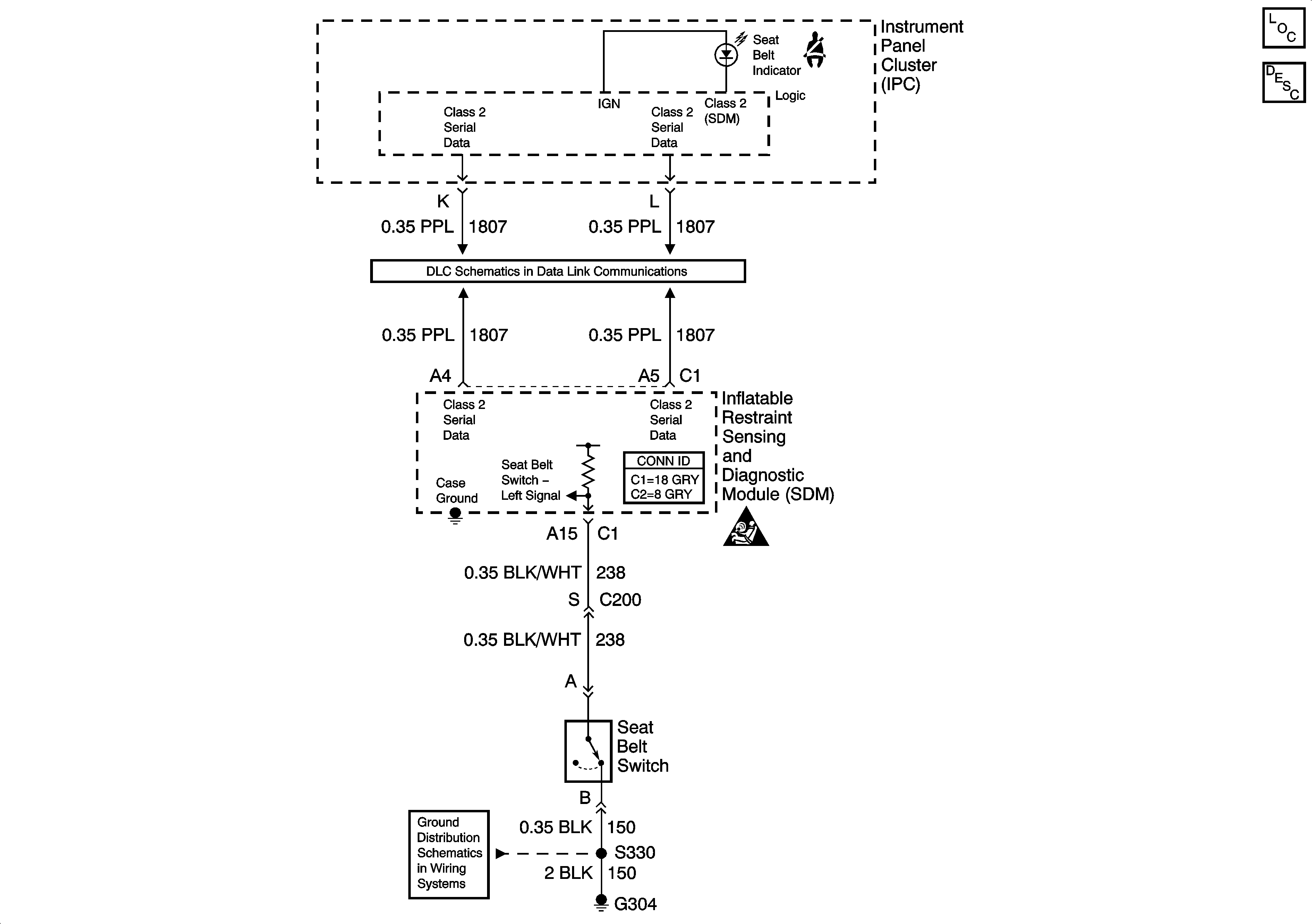
Seat Belt System Description and Operation
Data Link Communication (DLC)
SIR Caution for Zoning
G304 (PAGE 2 OF 2)