GM Service Manual Online
For 1990-2009 cars only
Figure 1:

Upper Intake Manifold and Components


Object Number: 1352024  Size: LF
(305)Heater Outlet Pipe Hose Clamp
(305)Heater Outlet Pipe Hose Clamp
(305)Heater Outlet Pipe Hose Clamp
(306)Heater Outlet Pipe Hose
(307)Heater Outlet Pipe Seal
(308)Heater Outlet Pipe Bolt - To Front Cover
(309)Heater Outlet Pipe
(310)Heater Outlet Pipe Nut
(311)Heater Outlet Pipe Bolt - To Throttle Body
(317)Heater Outlet Hose
(318)Heater Outlet Pipe Nut - To Intake
(319)Thermostat Bypass Pipe Adapter
(500)Upper Intake Manifold
(501)Upper Intake Manifold Stud
(504)MAP Sensor Bolt
(505)MAP Sensor Clip
(506)MAP Sensor
(507)MAP Sensor Seal
(508)Upper Intake Manifold Bolt
(509)Spark Plug Support Bracket
(510)EVAP Purge Valve Seal
(511)EVAP Purge Valve
(512)EVAP Purge Valve Bolt
(513)Throttle Body Seal
(514)Throttle Body
(515)Throttle Body Bolt
(516)Upper Intake Manifold Gasket
(525)Valve Rocker Cover Seal
(526)Valve Rocker Cover - Left
(530)Oil Fill Cap
(533)PCV Tube - Foul Air
(534)PCV Tube Clip - Foul Air
(535)PCV Tube Bolt - Foul Air
(550)Throttle Body Stud
(558)Oil Fill Cap O-ring
(610)EGR Valve Gasket - To Exhaust Manifold
(611)EGR Pipe Bolt - To EGR
(612)EGR Pipe
(613)EGR Valve Bolt
(614)EGR Valve
(615)EGR Valve Gasket - To Intake Manifold
(616)EGR Pipe Bolt - To Exhaust Manifold
(618)Exhaust Crossover Pipe
(619)Exhaust Crossover Pipe Nut
(620)Exhaust Crossover Pipe Stud
(700)Ignition Coil Assembly
(701)Ignition Coil Assembly Stud
(702)Ignition Coil Assembly Nut
(703)Ignition Coil Assembly Bolt
Figure 2:

Lower Intake Manifold, Cylinder Head and Components


Object Number: 1352027  Size: LF
(200)Cylinder Head
(200)Cylinder Head
(201)Valve Seal
(201)Valve Seal
(202)Valve Spring
(202)Valve Spring
(203)Valve Spring Cap
(203)Valve Spring Cap
(204)Valve Stem Key
(204)Valve Stem Key
(205)Valve Pushrod - Exhaust
(206)Valve Rocker Arm
(207)Valve Rocker Arm Bolt
(208)Cylinder Head Bolt - Long
(209)Cylinder Head Bolt - Short
(210)Engine Lift Bracket - Rear
(211)Engine Lift Bracket Bolt - Rear
(212)Spark Plug
(213)Exhaust Valve
(214)Intake Valve
(215)Cylinder Head Gasket
(215)Cylinder Head Gasket
(216)Cylinder Head Locating Pin
(228)Drive Belt Tensioner Bolt
(229)Drive Belt Tensioner
(230)Generator Bracket Bolt - Short
(231)Generator Bracket Bolt - Medium
(232)Generator Bracket Bolt - Long
(233)Generator Bracket
(234)Engine Lift Bracket - Front
(238)Heater Inlet Pipe Stud
(239)Heater Inlet Pipe
(240)Heater Inlet Pipe Nut
(241)Heater Inlet Pipe Seal
(242)Cylinder Head Expansion Plug
(242)Cylinder Head Expansion Plug
(243)Valve Guide
(243)Valve Guide
(244)Valve Seat - Exhaust
(245)Valve Seat - Intake
(246)Valve Pushrod - Intake
(312)Engine Coolant Thermostat
(313)Engine Coolant Thermostat Seal
(314)Water Outlet Housing
(315)Water Outlet Housing Bolt
(316)Water Outlet Housing Fitting
(517)Fuel Rail Bolt
(518)Fuel Rail
(519)Fuel Injector Seal
(519)Fuel Injector Seal
(520)Lower Intake Manifold Bolt - Long
(521)Lower Intake Manifold
(522)Lower Intake Manifold Bolt - Short
(523)Lower Intake Manifold Gasket
(524)Lower Intake Manifold Seal
(525)Valve Rocker Cover Seal
(527)Valve Rocker Cover Bolt
(528)Valve Rocker Cover Bolt Grommet
(529)PCV Tube - Fresh Air
(548)Fuel Injector Retaining Clip
(549)Fuel Injector
(553)Fuel Schrader Valve
(554)Fuel Service Port Cap
(557)PCV Tube Nut - Fresh Air
(559)Valve Rocker Cover - Right
(600)Exhaust Manifold - Left
(601)Exhaust Manifold - Right
(602)Exhaust Manifold Heat Shield - Right - Upper
(603)Exhaust Manifold Heat Shield Bolt
(603)Exhaust Manifold Heat Shield Bolt
(604)Exhaust Manifold Gasket
(604)Exhaust Manifold Gasket
(605)Exhaust Manifold Stud
(606)Heated Oxygen Sensor
(607)Exhaust Manifold Nut
(608)Exhaust Manifold Heat Shield - Left
(617)Exhaust Manifold Heat Shield -Right - Lower
(704)Spark Plug Wire Harness - Front
(705)Spark Plug Wire Support
(715)Spark Plug Wire Harness - Rear
(716)Coolant Temperature Sensor
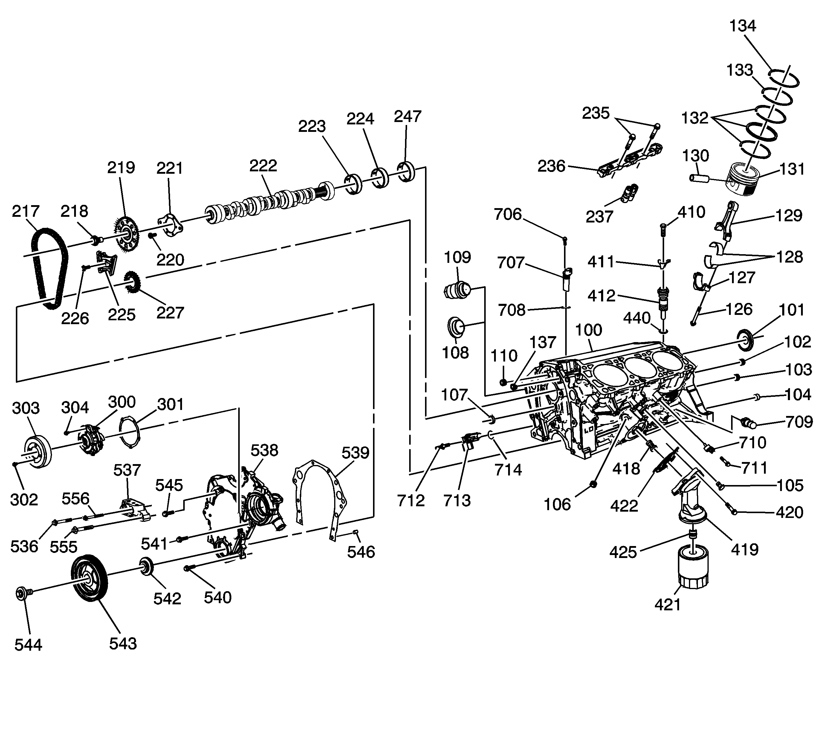
Figure 3:

Engine Block and Components


Object Number: 1352029  Size: LF
(100)Engine Block
(101)Camshaft Rear Bearing Hole Plug
(102)Engine Block Oil Gallery Plug Assembly - Rear - Large
(103)Engine Block Oil Gallery Plug Assembly - Rear - Small
(104)Transmission Locating Pin
(105)Engine Block Coolant Drain Hole Plug
(106)Oil Filter Bypass Hole Plug Assembly
(107)Engine Block Oil Gallery Plug Assembly - Front
(108)Engine Block Heater Plug
(109)Engine Block Heater
(110)Engine Block Oil Gallery Plug - Front - Small
(126)Connecting Rod Bearing Cap Bolt
(127)Connecting Rod Bearing Cap
(128)Connecting Rod Bearing
(129)Connecting Rod
(130)Piston Pin
(131)Piston
(132)Piston Ring - Oil Control
(133)Piston Ring - Compression - Lower
(134)Piston Ring - Compression - Upper
(137)Engine Block Oil Gallery Plug - Front - Large
(217)Timing Chain
(218)Camshaft Sprocket Bolt
(219)Camshaft Sprocket
(220)Camshaft Thrust Plate Bolt
(221)Camshaft Thrust Plate
(222)Camshaft
(223)Camshaft Bearing - 1
(224)Camshaft Bearing - 2 and 3
(225)Timing Chain Dampener
(226)Timing Chain Dampener Bolt
(227)Crankshaft Sprocket
(235)Valve Lifter Guide Bolt
(236)Valve Lifter Guide
(237)Valve Lifter
(247) Camshaft Bearing - 4
(300)Water Pump
(301)Water Pump Gasket
(302)Water Pump Pulley Bolt
(303)Water Pump Pulley
(304)Water Pump Bolt
(410)Oil Pump Drive Bolt
(411)Oil Pump Drive Clamp
(412)Oil Pump Drive
(418)Oil Filter Bypass Valve
(419)Oil Filter Adapter
(420)Oil Filter Adapter Bolt
(421)Oil Filter
(422)Oil Filter Adapter Gasket
(425)Oil Filter Fitting
(440)Oil Pump Drive Seal
(536)Engine Mount Snubber Bracket Bolt
(537)Engine Mount Snubber Bracket
(538)Engine Front Cover
(539)Engine Front Cover Gasket
(540)Engine Front Cover Bolt - Small
(541)Engine Front Cover Bolt - Medium
(542)Crankshaft Front Oil Seal
(543)Crankshaft Balancer
(544)Crankshaft Balancer Bolt
(545)Engine Front Cover Bolt - Large
(546)Engine Front Cover Locating Pin
(555)Engine Mount Snubber Bracket Bolt - Large
(556)Engine Mount Snubber Bracket Bolt - Small
(706)Camshaft Sensor Bolt
(707)Camshaft Sensor
(708)Camshaft Sensor Seal
(709)Engine Oil Pressure Sensor
(710)Knock Sensor
(711)Knock Sensor Bolt
(712)Crankshaft Position Sensor Stud
(713)Crankshaft Position Sensor
(714)Crankshaft Position Sensor Seal
Figure 4:

Crankshaft and Components


Object Number: 1352030  Size: LF
(111)Crankshaft Rear Oil Seal Assembly
(112)Flywheel
(114)Flywheel Bolt
(115)Crankshaft Upper Bearing - 1 and 4
(116)Crankshaft Upper Bearing - 2
(117)Crankshaft Upper Bearing - 3
(118)Crankshaft
(119)Crankshaft Balancer Key
(120)Crankshaft Lower Bearing - 2
(121)Crankshaft Lower Bearing - 1 and 4
(122)Crankshaft Bearing Cap - 1
(123)Crankshaft Bearing Cap Stud
(124)Crankshaft Bearing Cap - 4
(125)Crankshaft Bearing Cap Bolt
(135)Crankshaft Lower Bearing - 3
(136)Crankshaft Bearing Cap - 2 and 3
(400)Oil Pan
(401)Oil Pan Gasket
(402)Oil Pan Bolt - To Engine Block
(403)Oil Pan Drain Plug
(404)Crankshaft Oil Deflector Nut
(405)Crankshaft Oil Deflector
(406)Oil Pump Locating Pin
(407)Oil Pump Shaft
(408)Oil Pump
(409)Oil Pump Bolt
(413)Oil Level Indicator Tube
(414)Oil Level Indicator Tube Bolt
(415)Oil Level Indicator
(416)Oil Pan Drain Plug Seal
(417)Oil Level Indicator Seal
(426)Oil Pan Bolt - Side of Pan
(441)Oil Pan Support Bracket - To Transmission Bell Housing
(442)Oil Pan Support Bracket Bolt - To Oil Pan
(443)Oil Pan Support Bracket - To Transmission Tail Shaft
(444)Oil Pan Support Bracket Bolt - To Transmission Tail Shaft
(445)A/C Mounting Bracket
(446)A/C Mounting Bracket Bolt