GM Service Manual Online
For 1990-2009 cars only
Connector 1: Accelerator Pedal Position (APP) Sensor
Connector 2: Camshaft Position (CMP) Sensor
Connector 3: Crankshaft Position (CKP) Sensor
Connector 4: Engine Coolant Temperature (ECT) Sensor
Connector 5: Evaporative Emissions (EVAP) Canister Purge Solenoid
Connector 6: Evaporative Emissions (EVAP) Canister Vent Solenoid
Connector 7: Exhaust Gas Recirculation (EGR) Valve
Connector 8: Fuel Injector 1
Connector 9: Fuel Injector 2
Connector 10: Fuel Injector 3
Connector 11: Fuel Injector 4
Connector 12: Fuel Injector 5
Connector 13: Fuel Injector 6
Connector 14: Fuel Tank Pressure (FTP) Sensor
Connector 15: Heated Oxygen Sensor (HO2S) 1
Connector 16: Heated Oxygen Sensor (HO2S) 2
Connector 17: Ignition Control Module (ICM)
Connector 18: Knock Sensor (KS) 1
Connector 19: Knock Sensor (KS) 2
Connector 20: Manifold Absolute Pressure (MAP) Sensor
Connector 21: Mass Air Flow (MAF)/Intake Air Temperature (IAT) Sensor
Connector 22: Throttle Actuator Control (TAC) Module

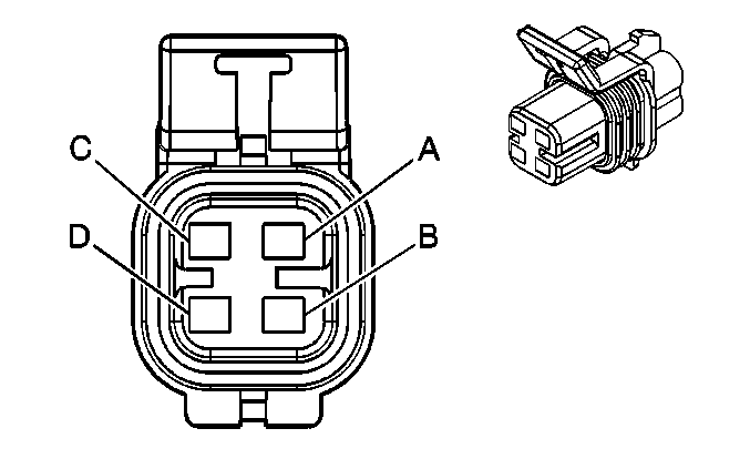
Accelerator Pedal Position (APP) Sensor


Object Number: 632357  Size: CH

Connector Part Information

  • OEM: 15326829
  • Service: 88953153
  • Description: 6-Way F 150 Series Sealed (BK)

Accelerator Pedal Position (APP) Sensor

Pin

Wire Color

Circuit No.

Function

A

PU

1272

Low Reference

B

L-BU

1162

APP Sensor 2 Signal

C

TN

1274

5-Volt Reference

D

BN

1271

Low Reference

E

D-BU

1161

APP Sensor 1 Signal

F

WH/BK

1164

5-Volt Reference

Camshaft Position (CMP) Sensor


Object Number: 833724  Size: CH

Connector Part Information

  • OEM: 15336065
  • Service: 15306315
  • Description: 3-Way F GT 150 Series Sealed (BK)

Camshaft Position (CMP) Sensor

Pin

Wire Color

Circuit No.

Function

A

BN/WH

633

CMP Sensor Signal

B

BK

632

Low Reference

C

RD/WH

631

12-Volt Reference

Crankshaft Position (CKP) Sensor


Object Number: 646415  Size: CH

Connector Part Information

  • OEM: 15326808
  • Service: 15306388
  • Description: 3-Way F GT 150 Sealed 4.5 (BK)

Crankshaft Position (CKP) Sensor

Pin

Wire Color

Circuit No.

Function

A

L-GN

1867

12-Volt Reference

B

PU

574

Low Reference

C

L-BU/BK

647

Medium Resolution Engine Speed Signal

Engine Coolant Temperature (ECT) Sensor


Object Number: 237066  Size: CH

Connector Part Information

  • OEM: 12162194
  • Service: 88987978
  • Description: 2-Way F Metri-Pack 150.2 Series, Sealed, Pull To Seat (BK)

Engine Coolant Temperature (ECT) Sensor

Pin

Wire Color

Circuit No.

Function

A

OG/BK

469

Low Reference

B

YE

410

ECT Sensor Signal

Evaporative Emissions (EVAP) Canister Purge Solenoid


Object Number: 684795  Size: CH

Connector Part Information

  • OEM: 12052643
  • Service: 12101858
  • Description: 2-Way F Metri-Pack 150 Series, Sealed (RD)

Evaporative Emissions (EVAP) Canister Purge Solenoid

Pin

Wire Color

Circuit No.

Function

A

PK/BK

5291

Ignition 1 Voltage

B

D-GN/WH

428

EVAP Canister Purge Solenoid Control

Evaporative Emissions (EVAP) Canister Vent Solenoid


Object Number: 684795  Size: CH

Connector Part Information

  • OEM: 12052643
  • Service: 12101858
  • Description: 2-Way F Metri-Pack Series Sealed (RD)

Evaporative Emissions (EVAP) Canister Vent Solenoid

Pin

Wire Color

Circuit No.

Function

A

PK

1440

Battery Positive Voltage

B

WH

1310

EVAP Canister Vent Solenoid Control

Exhaust Gas Recirculation (EGR) Valve


Object Number: 684863  Size: CH

Connector Part Information

  • OEM: 12186056
  • Service: 12126477
  • Description: 5-Way F Metri-Pack 150.2 Pull To Seat Series Sealed (BK)

Exhaust Gas Recirculation (EGR) Valve

Pin

Wire Color

Circuit No.

Function

A

GY

435

Exhaust Gas Recirculation Solenoid Low Control

B

TN

2753

Low Reference

C

BN

1456

Exhaust Gas Recirculation Valve Position Signal

D

GY

5047

5-Volt Reference

E

OG

1676

Exhaust Gas Recirculation Solenoid High Control

Fuel Injector 1


Object Number: 1273820  Size: CH

Connector Part Information

  • OEM: 15355226
  • Service: 89046636
  • Description: 2-Way F Metri-Pack 150 Tangless Series Sealed (BK)

Fuel Injector 1

Pin

Wire Color

Circuit No.

Function

A

PK

5292

Ignition 1 Voltage

B

BK

1744

Fuel Injector 1 Control

Fuel Injector 2


Object Number: 1273820  Size: CH

Connector Part Information

  • OEM: 15355226
  • Service: 89046636
  • Description: 2-Way F Metri-Pack 150 Tangless Series Sealed (BK)

Fuel Injector 2

Pin

Wire Color

Circuit No.

Function

A

PK

5292

Ignition 1 Voltage

B

L-GN/BK

1745

Fuel Injector 2 Control

Fuel Injector 3


Object Number: 1273820  Size: CH

Connector Part Information

  • OEM: 15355226
  • Service: 89046636
  • Description: 2-Way F Metri-Pack 150 Tangless Series Sealed (BK)

Fuel Injector 3

Pin

Wire Color

Circuit No.

Function

A

PK

5292

Ignition 1 Voltage

B

PK/BK

1746

Fuel Injector 3 Control

Fuel Injector 4


Object Number: 1273820  Size: CH

Connector Part Information

  • OEM: 15355226
  • Service: 89046636
  • Description: 2-Way F Metri-Pack 150 Tangless Series Sealed (BK)

Fuel Injector 4

Pin

Wire Color

Circuit No.

Function

A

PK

5292

Ignition 1 Voltage

B

L-BU/BK

844

Fuel Injector 4 Control

Fuel Injector 5


Object Number: 1273820  Size: CH

Connector Part Information

  • OEM: 15355226
  • Service: 89046636
  • Description: 2-Way F Metri-Pack 150 Tangless Series Sealed (BK)

Fuel Injector 5

Pin

Wire Color

Circuit No.

Function

A

PK

5292

Ignition 1 Voltage

B

BK/WH

845

Fuel Injector 5 Control

Fuel Injector 6


Object Number: 1273820  Size: CH

Connector Part Information

  • OEM: 15355226
  • Service: 89046636
  • Description: 2-Way F Metri-Pack 150 Tangless Series Sealed (BK)

Fuel Injector 6

Pin

Wire Color

Circuit No.

Function

A

PK

5292

Ignition 1 Voltage

B

YE/BK

846

Fuel Injector 6 Control

Fuel Tank Pressure (FTP) Sensor


Object Number: 516611  Size: CH

Connector Part Information

  • OEM: 12059595
  • Service: 88986451
  • Description: 3-Way F 150 Series Sealed (BK)

Fuel Tank Pressure (FTP) Sensor

Pin

Wire Color

Circuit No.

Function

A

BK

2759

Low Reference

B

D-GN

890

FTP Sensor Signal

C

GY

2709

5-Volt Reference

Heated Oxygen Sensor (HO2S) 1


Object Number: 474210  Size: CH

Connector Part Information

  • OEM: 12176897
  • Service: 15305960
  • Description: 4-Way F Metri-Pack 150 Series Sealed (GY)

Heated Oxygen Sensor (HO2S) 1

Pin

Wire Color

Circuit No.

Function

A

TN/WH

1653

HO2S 1 Low Signal

B

PU/WH

1665

HO2S 1 High Signal

C

GY/WH

3113

HO2S 1 Heater Low Control

D

PK/BK

5291

Ignition 1 Voltage

Heated Oxygen Sensor (HO2S) 2


Object Number: 806613  Size: CH

Connector Part Information

  • OEM: 15326423
  • Service: 15306319
  • Description: 4-Way M Metri-Pack 150 Series Sealed (GY)

Heated Oxygen Sensor (HO2S) 2

Pin

Wire Color

Circuit No.

Function

A

TN/WH

1669

HO2S 2 Low Signal

B

PU/WH

1668

HO2S 2 High Signal

C

GY/WH

3122

HO2S 2 Heater Low Control

D

PK/BK

5291

Ignition 1 Voltage

Ignition Control Module (ICM)


Object Number: 632357  Size: CH

Connector Part Information

  • OEM: 15326829
  • Service: 88953153
  • Description: 6-Way F 150 Series Sealed (BK)

Ignition Control Module (ICM)

Pin

Wire Color

Circuit No.

Function

A

OG/WH

2122

IC 2 Control

B

PU

2121

IC 1 Control

C

L-BU

2123

IC 3 Control

D

YE

2174

Low Reference

E

BK

450

Ground

F

PK

39

Ignition 1 Voltage

Knock Sensor (KS) 1


Object Number: 1232999  Size: CH

Connector Part Information

  • OEM: 15374222
  • Service: See Catalog
  • Description: 2-Way F GT 150 Series Sealed (WH)

Knock Sensor (KS) 1

Pin

Wire Color

Circuit No.

Function

A

D-BU

496

KS 1 Signal

B

GY

1716

KS 1 Signal

Knock Sensor (KS) 2


Object Number: 1232999  Size: CH

Connector Part Information

  • OEM: 15374222
  • Service: See Catalog
  • Description: 2-Way F GT 150 Series Sealed (WH)

Knock Sensor (KS) 2

Pin

Wire Color

Circuit No.

Function

A

L-BU

1876

KS 2 Signal

B

GY

2303

KS 2 Signal

Manifold Absolute Pressure (MAP) Sensor


Object Number: 684840  Size: CH

Connector Part Information

  • OEM: 12129946
  • Service: 88987997
  • Description: 3-Way F Metri-Pack 150 Series, Sealed (GY)

Manifold Absolute Pressure (MAP) Sensor

Pin

Wire Color

Circuit No.

Function

A

OG/BK

469

Low Reference

B

L-GN

432

MAP Sensor Signal

C

GY

2704

5-Volt Reference

Mass Air Flow (MAF)/Intake Air Temperature (IAT) Sensor


Object Number: 647974  Size: CH

Connector Part Information

  • OEM: 15326822
  • Service: 15326822
  • Description: 5-Way F GT 150 Series Sealed 4.0 (BK)

Mass Air Flow (MAF)/Intake Air Temperature (IAT) Sensor

Pin

Wire Color

Circuit No.

Function

A

YE

492

Mass Air Flow Sensor Signal

B

PK/BK

5291

Ignition 1 Voltage

C

BK/WH

451

Ground

D

TN

472

Intake Air Temperature Sensor Signal

E

TN

2760

Low Reference

Throttle Actuator Control (TAC) Module


Object Number: 1243581  Size: CH

Connector Part Information

  • OEM: 15355368
  • Service: 15355368
  • Description: 20-Way F GT 150 Series Sealed (GY)

Throttle Actuator Control (TAC) Module

Pin

Wire Color

Circuit No.

Function

1

TN

1274

5-Volt Reference

2

PU

1272

Low Reference

3

L-BU

1162

APP Sensor 2 Signal

4

BN

818

VSS Signal

5

--

--

Not Used

6

L-BU

20

Stop Lamp Switch Signal

7

OG/BK

1061

UART Serial Data 2

8

BK/WH

451

Ground

9-10

--

--

Not Used

11

D-BU

1161

APP Sensor 1 Signal

12

BN

1271

Low Reference

13

WH/BK

1164

5-Volt Reference

14-15

--

--

Not Used

16

TN

800

UART Serial Data 1

17

BK/WH

451

Ground

18

PK/BK

5290

Ignition 1 Voltage

19-20

--

--

Not Used