|
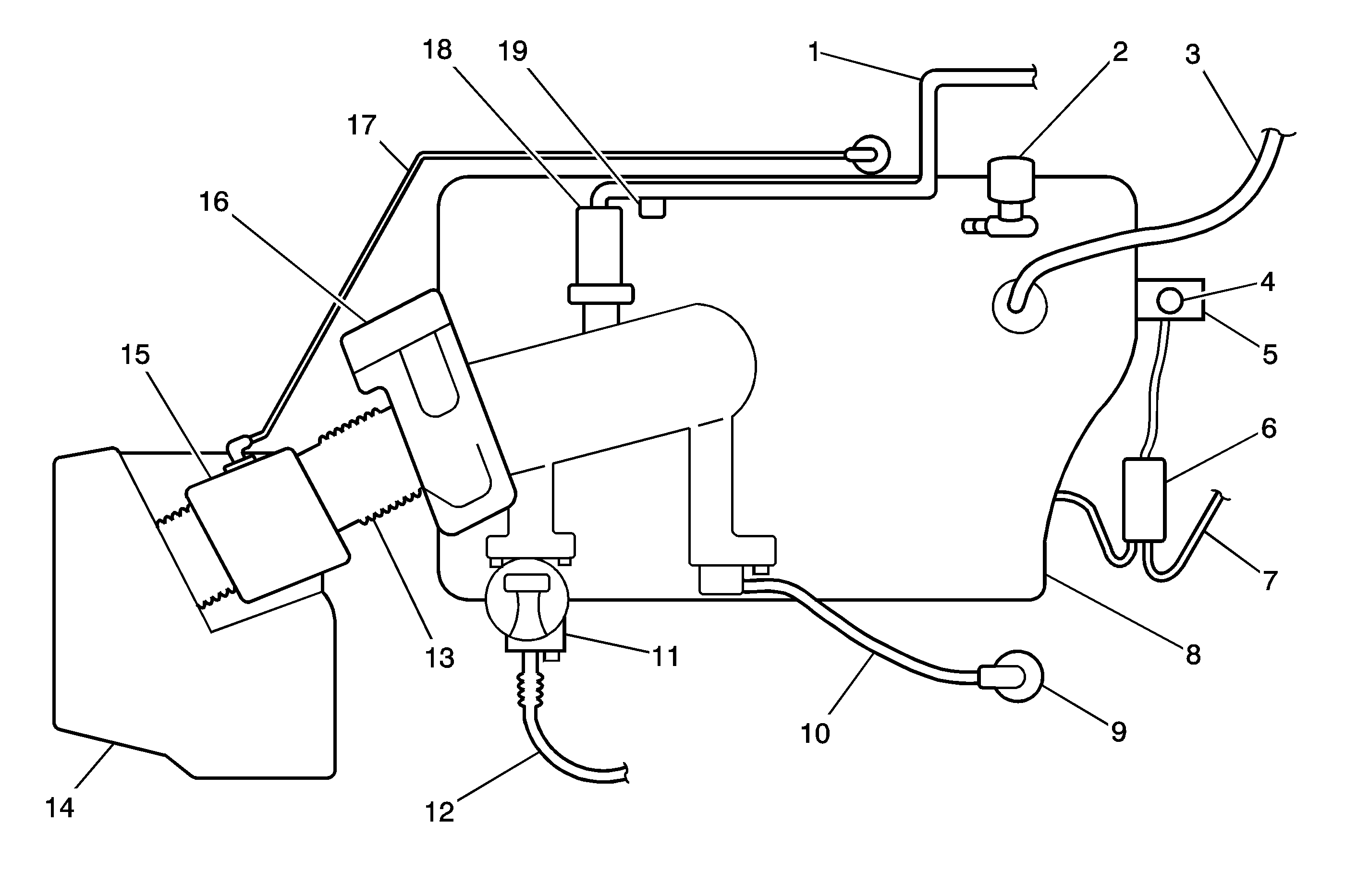
| (1) | EVAP Purge
Line |
| (2) | Manifold Absolute
Pressure (MAP) Sensor |
| (3) | Vacuum Brake
Booster Hose |
| (4) | Fuel Pressure
Test Port |
| (5) | Fuel Rail
Assembly |
| (6) | Fuel System
Dampener |
| (7) | Fuel Pressure
Line From Fuel Pump |
| (8) | Upper Intake
Manifold |
| (9) | PCV Valve |
| (10) | PCV Vacuum
Supply Hose |
| (11) | EGR Valve |
| (12) | EGR Tube |
| (13) | Air Inlet
Tube |
| (14) | Air Cleaner
Assembly |
| (15) | MAF/IAT Sensor |
| (16) | Throttle Actuator
Control |
| (17) | Crankcase
Ventilation Tube |
| (18) | EVAP Purge
Valve Solenoid |
| (19) | EVAP Test Port |