GM Service Manual Online
For 1990-2009 cars only

Tools Required

    • J 23327 Clutch Spring Compressor
    • J 25024-A Servo Piston/Clutch Spring Compressor
    • J 28585 Snap Ring Remover
    • J 45186 Forward and Direct Clutch Spring Compressor

    Object Number: 875040  Size: SH

    Important: Soak the new clutch discs in automatic transmission fluid for at least 2 hours before installation.

  1. Apply automatic transmission fluid to the new piston seals.
  2. Install a new piston inner seal (581) and a new piston outer seal (583) on to the 4-5 clutch piston (582).
  3. Apply automatic transmission fluid to the inner and outer seal surfaces of the 4-5 clutch drum assembly (584).
  4. Install the 4-5 clutch piston assembly (582) into the 4-5 clutch drum assembly (584).

  5. Object Number: 749836  Size: SH

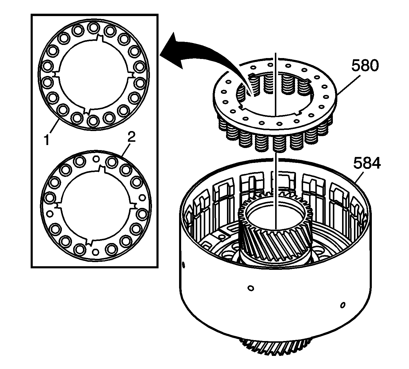
    Important: The transmission or the service parts may be either a 1st design or 2nd design 4-5 clutch piston return spring assembly (580). The 1st design (1) will have 18 springs and the 2nd design (2) will have 14 springs. The parts are completely interchangeable.

  6. Install the 4-5 clutch piston return spring assembly (580) on to the 4-5 clutch piston assembly, indexing the springs to the holes in the 4-5 clutch piston assembly.

  7. Object Number: 749835  Size: SH

    Important: Make sure that the end gap of the retaining ring is not aligned with the spring retainer claw.

  8. Install the 4-5 clutch piston return spring retaining ring (579).
  9. 6.1. Place the J 25024-A  (3) in a vise with the forcing screw on the bottom and backed out.
    6.2. Place the J 45186  (1) on the 4-5 clutch piston return spring assembly (580).
    6.3. Place the J 21420-2 (4) from the J 23327 on top of the forcing screw of J 25024-A  (3).
    6.4. Place the clutch housing with the J 45186  (1) on the J 21420-2 (4) and under the arms of J 25024-A  (3).
    6.5. With the forcing screw, compress the clutch spring to allow the installation of the retaining ring.
    6.6. Use J 28585  (2) or snap ring pliers to install the retaining ring (579).

    Object Number: 773176  Size: SH

    Important: Make sure that you have the correct number of plates, and that they are in the correct order.

  10. Install the 4 fiber plates (577) and the 4 steel plates (578) into the 4-5 clutch drum assembly (584).
  11. Install the 4-5 clutch backing plate (576) into the 4-5 clutch drum assembly (584).

  12. Object Number: 749833  Size: SH
  13. Using J 28585 install the 4-5 clutch backing plate retaining ring (575) into the groove of the 4-5 clutch drum assembly (584). Make sure that the end gap of the retaining ring is not aligned with one of the cutouts in the drum.