GM Service Manual Online
For 1990-2009 cars only

    Object Number: 749750  Size: SH

    Important: The control valve body is serviced only as an assembly. Only the following components are serviced on the control valve body:

       • The 5 shift solenoid valves
       • The manual valve
    The control valve body assembly should only be disassembled to confirm a diagnostic symptom.

  1. Remove the manual valve (337).

  2. Object Number: 749751  Size: SH
  3. Remove the bolt (307), the wiring harness clip (318), and the TCC lock up pressure control solenoid valve retainer (319).
  4. Remove the TCC lock up pressure control solenoid valve assembly (339).

  5. Object Number: 749753  Size: SH
  6. Remove the bolt (311), and control valve body solenoid valve retainer (312).
  7. Remove the line pressure control solenoid valve assembly (316) and the shift pressure control solenoid valve assembly (340).

  8. Object Number: 798651  Size: SH
  9. Remove the 5 solenoid retaining bolts (1-301, 2-302, 2-307).
  10. Remove the 5 shift solenoid valves (300, 303, 305, 308, 310), and the 5 shift solenoid valve O-ring seals (306).

  11. Object Number: 766667  Size: SH
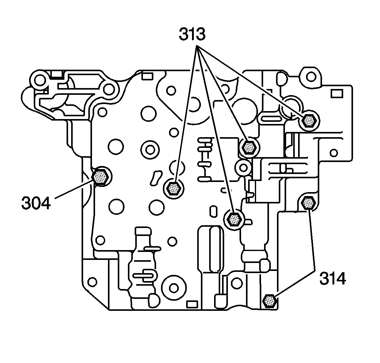
  12. Remove the 7 front control valve body bolts (1-304, 4-313, 2-314).

  13. Object Number: 767262  Size: SH
  14. Remove the front control valve body assembly (315), spacer plate and gaskets as an assembly from the middle control valve body assembly (323).

  15. Object Number: 749761  Size: SH
  16. Remove the following from the middle control valve body:
  17. • 3 fluid strainers (371)
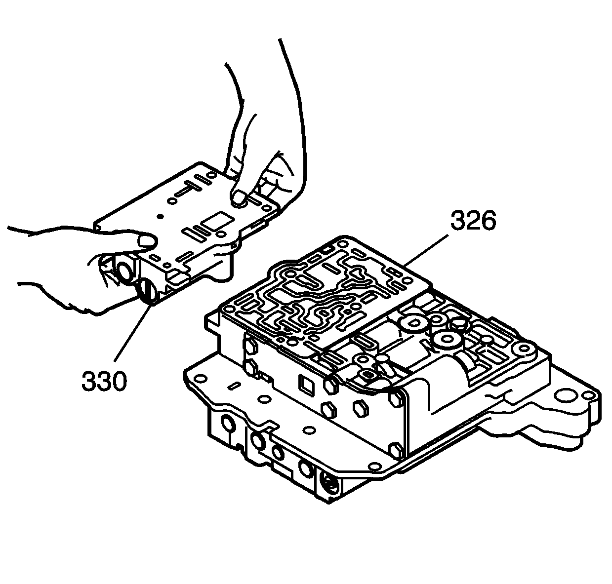
    • 1 fluid strainer (372)
    • 2 accumulator check valve assemblies (353)

    Object Number: 749763  Size: SH
  18. Remove the bolt (304) from the middle control valve body.

  19. Object Number: 766668  Size: SH
  20. Turn the middle control valve body over in order to remove the remaining bolts.

  21. Object Number: 749766  Size: SH
  22. Remove the 5 bolts (331, 332) from the No. 2 rear control valve body assembly.

  23. Object Number: 749791  Size: SH
  24. Remove the No. 2 rear control valve body assembly (330), the spacer plate and the gaskets as an assembly from the rear control valve body assembly (326).

  25. Object Number: 749781  Size: SH
  26. Remove the 3 rear control valve body bolts (333, 335).

  27. Object Number: 749790  Size: SH
  28. Remove the rear control valve body assembly (326) from the middle control valve body assembly (323).