GM Service Manual Online
For 1990-2009 cars only
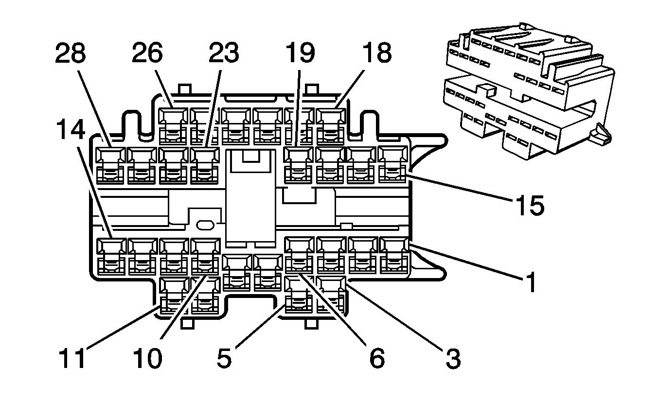
Connector 1: C100 Wiring Harness Side to Transmission Side
Connector 2: C102 - Body Harness to the Engine Harness
Connector 3: C104 - LF WSS Harness to the Body Harness (JM4)
Connector 4: C105 - RF WSS Harness to the Body Harness (JM4)
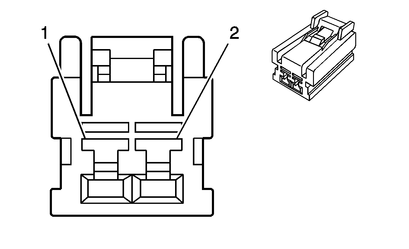
Connector 5: C106 - Body Harness to the Forward Lamp Harness
Connector 6: C150 - Engine Harness to the Fuel Rail Harness
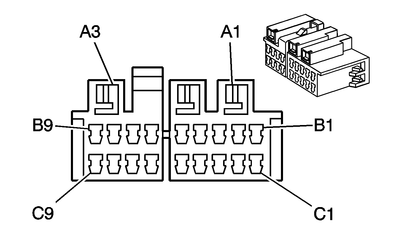
Connector 7: C200 - I/P Harness to the Body Harness
Connector 8: C202 - I/P Harness to the HVAC Harness
Connector 9: C204 - I/P Harness to the Body Harness
Connector 10: C275 - SIR Coil to the I/P Harness
Connector 11: C276 - I/P Harness to the SIR Coil
Connector 12: C277 - SIR Coil to the Steering Wheel Control Switches Harness (3 Spoke)
Connector 13: C277 - SIR Coil to the Steering Wheel Control Switches Harness (4 Spoke)
Connector 14: C300 - Body Harness to the Headliner Harness
Connector 15: C301 - Body Harness to the Console Harness
Connector 16: C302 - Headliner Harness to the Sunroof Harness (CF5)
Connector 17: C303 - Headliner Jumper Harness to the I/P Harness (UE1)
Connector 18: C304 - I/P Harness to the Shifter Harness
Connector 19: C305 - Body Harness to the Driver Seat Harness (AG1/KA1)
Connector 20: C306 - Body Harness to the Front Passenger Seat Harness (KA1)
Connector 21: C307 - Roof Rail Harness to the I/P Harness (ASF)
Connector 22: C308 - Roof Rail Module Harness to the I/P Harness (ASF)
Connector 23: C310 - Driver Seat Jumper Harness to the Driver Seat Harness (AG1/KA1)
Connector 24: C311 - I/P Harness to the Body Harness
Connector 25: C312 - Body Harness to the Trailer Connector Adapter Harness (V92)
Connector 26: C313 - Trailer Connector Adapter Harness to the Trailer Hitch Harness (V92)
Connector 27: C400 - Body Harness to the LR Tail Lamp Harness
Connector 28: C401 - Body Harness to the RR Tail Lamp Harness
Connector 29: C402 - Liftgate Jumper Harness to the Body Harness
Connector 30: C403 - Liftgate Jumper Harness to the Body Harness
Connector 31: C404 - Body Harness to the Rear WSS Harness (JM4)
Connector 32: C406 - Body Harness to the Fuel Tank Harness
Connector 33: C408 - Body Harness to the CHMSL Jumper Harness
Connector 34: C410 - Roof Rail Harness to the LH Roof Rail Jumper Harness
Connector 35: C411 - Roof Rail Harness to the RH Roof Rail Jumper Harness
Connector 36: C500 - Body Harness to the LF Door Harness
Connector 37: C600 - Body Harness to the RF Door Harness
Connector 38: C700 - Body Harness to the LR Door Harness
Connector 39: C800 - Body Harness to the RR Door Harness
Connector 40: C900 - Liftgate Jumper Harness to the Liftgate Harness
Connector 41: C901 - Liftgate Jumper Harness to the Liftgate Harness
Connector 42: C902 - Left License Lamp to the Liftgate Harness
Connector 43: C903 - Right License Lamp to the Liftgate Harness
Connector 44: C904 - CHMSL Jumper Harness to the CHMSL Harness

C100 Wiring Harness Side to Transmission Side


Object Number: 882497  Size: CH

Object Number: 882501  Size: CH

Connector Part Information

  • OEM: 7223-6509-40
  • Service: See Catalog
  • Description: Conn 14F (GY)

Connector Part Information

  • OEM: 7236-1459-40
  • Service: See Catalog
  • Description: Conn 14M (GY)

C100 Wiring Harness Side to Transmission Side

Pin

Wire Color

Circuit No.

Function

Pin

Wire Color

Circuit No.

Function

1

OG/BK

586

Transmission Fluid Temperature Sensor Low Reference

1

OG

586

Transmission Fluid Temperature Sensor Low Reference

2

GY

5508

Shift Pressure Control Solenoid Valve Low Control

2

BU

5508

Shift Pressure Control Solenoid Valve Low Control

3

D-BU

5509

TCC Pressure Control Solenoid Valve Low Control

3

BN

5509

TCC Pressure Control Solenoid Valve Low Control

4

PU/WH

5510

Line Pressure Control Solenoid Valve Low Control

4

GY

5510

Line Pressure Control Solenoid Valve Low Control

5

--

--

Not Used

5

--

--

Not Used

6

YE/BK

2879

Shift Solenoid Valve 4 Control

6

PU

2879

Shift Solenoid Valve 4 Control

7

YE/BK

1223

Shift Solenoid Valve 2 Control

7

BK

1223

Shift Solenoid Valve 2 Control

8

TN/WH

585

Transmission Fluid Temperature Sensor Signal

8

OG

585

Transmission Fluid Temperature Sensor Signal

9

WH

2880

Shift Pressure Control Solenoid Valve Low Control

9

RD

2880

Shift Pressure Control Solenoid Valve High Control

10

D-GN

5511

TCC Pressure Control Solenoid Valve High Control

10

L-GN

5511

TCC Pressure Control Solenoid Valve High Control

11

WH

1994

Line Pressure Control Solenoid Valve High Control

11

GN

1994

Line Pressure Control Solenoid Valve High Control

12

OG/WH

2527

Shift Solenoid Valve 5 Control

12

L-BU

2527

Shift Solenoid Valve 5 High Control

13

PU

898

Shift Solenoid Valve 3 Control

13

YE

898

Shift Solenoid Valve 3 High Control

14

L-GN

1222

Shift Solenoid Valve 1 Control

14

WH

1222

Shift Solenoid Valve 1 High Control

C102 - Body Harness to the Engine Harness


Object Number: 646383  Size: CH

Object Number: 632345  Size: CH

Connector Part Information

  • OEM: 15326863
  • Service: 15306410
  • Description: 16-Way F GT 150 Series Sealed 4.0 (BK)

Connector Part Information

  • OEM: 15326868
  • Service: 15306364
  • Description: 16-Way M GT 150 Series Sealed 4.0 (BK)

C102 - Body Harness to the Engine Harness

Pin

Wire Color

Circuit No.

Function

Pin

Wire Color

Circuit No.

Function

A

BN

1271

Low Reference

A

BN

1271

Low Reference

B

WH/BK

1164

5-Volt Reference

B

WH/BK

1164

5-Volt Reference

C

L-BU

1162

APP Sensor 2 Signal

C

L-BU

1162

APP Sensor 2 Signal

D

TN

1274

5-Volt Reference

D

TN

1274

5-Volt Reference

E

PU

1272

Low Reference

E

PU

1272

Low Reference

F

D-BU

1161

APP Sensor 1 Signal

F

D-BU

1161

APP Sensor 1 Signal

G

TN

2501

High Speed GMLAN Serial Data Bus (-)

G

TN

2501

High Speed GMLAN Serial Data Bus (-)

H

TN/BK

2500

High Speed GMLAN Serial Data Bus (+)

H

TN/BK

2500

High Speed GMLAN Serial Data Bus (+)

J

GY

2709

5-Volt Reference

J

GY

2709

5-Volt Reference

K

D-GN

890

Fuel Tank Pressure Sensor Signal

K

D-GN

890

Fuel Tank Pressure Sensor Signal

L

GY

1884

Cruise Control Set/Coast and Resume/Accelerate Switch Signal

L

GY

1884

Cruise Control Set/Coast and Resume/Accelerate Switch Signal

M-N

--

--

Not Used

M-N

--

--

Not Used

P

PU

1589

Fuel Level Sensor Signal

P

PU

1589

Fuel Level Sensor Signal

R

--

--

Not Used

R

--

--

Not Used

S

RD/WH

1440

Battery Positive Voltage

S

RD/WH

1440

Battery Positive Voltage

C104 - LF WSS Harness to the Body Harness (JM4)


Object Number: 635009  Size: CH

Object Number: 333041  Size: CH

Connector Part Information

  • OEM: 12052641
  • Service: 12102747
  • Description: 2-Way F Metri-Pack 150 Series (BK)

Connector Part Information

  • OEM: 12162000
  • Service: See Catalog
  • Description: 2-Way M Metri-Pack 150 Series (BK)

C104 - LF WSS Harness to the Body Harness (JM4)

Pin

Wire Color

Circuit No.

Function

Pin

Wire Color

Circuit No.

Function

A

L-BU

830

LF Wheel Speed Sensor Signal

A

L-BU

830

LF Wheel Speed Sensor Signal

B

YE

873

LF Wheel Speed Sensor Low Reference

B

YE

873

LF Wheel Speed Sensor Low Reference

C105 - RF WSS Harness to the Body Harness (JM4)


Object Number: 635009  Size: CH

Object Number: 333041  Size: CH

Connector Part Information

  • OEM: 12052641
  • Service: 12102747
  • Description: 2-Way F Metri-Pack 150 Series (BK)

Connector Part Information

  • OEM: 12162000
  • Service: See Catalog
  • Description: 2-Way M Metri-Pack 150 Series (BK)

C105 - RF WSS Harness to the Body Harness (JM4)

Pin

Wire Color

Circuit No.

Function

Pin

Wire Color

Circuit No.

Function

A

D-GN

872

RF Wheel Speed Sensor Signal

A

D-GN

872

RF Wheel Speed Sensor Signal

B

TN

833

RF Wheel Speed Sensor Low Reference

B

TN

833

RF Wheel Speed Sensor Low Reference

C106 - Body Harness to the Forward Lamp Harness


Object Number: 1479634  Size: CH

Object Number: 1559992  Size: CH

Connector Part Information

  • OEM: 7283-5543-10
  • Service: See Catalog
  • Description: 4-Way F YESC/USCAR Class III (D-GY)

Connector Part Information

  • OEM: 7282-5543-10
  • Service: See Catalog
  • Description: 4-Way M YESC/USCAR Class III (D-GY)

C106 - Body Harness to the Forward Lamp Harness

Pin

Wire Color

Circuit No.

Function

Pin

Wire Color

Circuit No.

Function

1

L-GN/BK

735

Ambient Air Temperature Sensor Signal (DH3/DF5)

1

L-GN/BK

735

Ambient Air Temperature Sensor Signal (DH3/DF5)

2

GY

720

Low Reference (DH3/DF5)

2

GY

720

Low Reference (DH3/DF5)

3

TN/OG

5045

Front End Sensor Signal (ASF)

3

TN/OG

5045

Front End Sensor Signal (ASF)

4

YE

1834

Front End Sensor Voltage (ASF)

4

YE

1834

Front End Sensor Voltage (ASF)

C150 - Engine Harness to the Fuel Rail Harness


Object Number: 366120  Size: CF

Connector Part Information

  • OEM: 15326084
  • Service: 15306348
  • Description: 16-Way F GT 150 280 Series Sealed 4.0 5.8 (BK)

Connector Part Information

  • OEM: 15326085
  • Service: See Catalog
  • Description: 16-Way M GT 150 280 Series Sealed 4.0 5.8 (BK)

C150 - Engine Harness to the Fuel Rail Harness

Pin

Wire Color

Circuit No.

Function

Pin

Wire Color

Circuit No.

Function

A

PK/BK

5292

Ignition 1 Voltage

A

PK

5292

Ignition 1 Voltage

B

YE

410

ECT Sensor Signal

B

YE

410

ECT Sensor Signal

C

TN

1744

Fuel Injector 1 Control

C

BK

1744

Fuel Injector 1 Control

D

L-GN/BK

1745

Fuel Injector 2 Control

D

L-GN/BK

1745

Fuel Injector 2 Control

E

PK/BK

1746

Fuel Injector 3 Control

E

PK/BK

1746

Fuel Injector 3 Control

F

L-BU/BK

844

Fuel Injector 4 Control

F

L-BU/BK

844

Fuel Injector 4 Control

G

TN/WH

845

Fuel Injector 5 Control

G

BK/WH

845

Fuel Injector 5 Control

H

YE/BK

846

Fuel Injector 6 Control

H

YE/BK

846

Fuel Injector 6 Control

J

--

--

Not Used

J

--

--

Not Used

K

GY

2704

5-Volt Reference

K

GY

2704

5-Volt Reference

L

OG/BK

469

Low Reference

L

OG/BK

469

Low Reference

M

L-GN

432

MAP Sensor Signal

M

L-GN

432

MAP Sensor Signal

N

OG

631

12-Volt Reference

N

RD/WH

631

12-Volt Reference

P

PK/BK

632

Low Reference

P

BK

632

Low Reference

R

BN/WH

633

CMP Sensor Signal

R

BN/WH

633

CMP Sensor Signal

S

--

--

Not Used

S

--

--

Not Used

C200 - I/P Harness to the Body Harness


Object Number: 768086  Size: CH

Object Number: 768088  Size: CH

Connector Part Information

  • OEM: 15359287
  • Service: 15359287
  • Description: 40-Way F GT 150 280 Series (BK)

Connector Part Information

  • OEM: 15359284
  • Service: 15359284
  • Description: 40-Way M GT 150 280 Series (BK)

C200 - I/P Harness to the Body Harness

Pin

Wire Color

Circuit No.

Function

Pin

Wire Color

Circuit No.

Function

A1

L-GN

89

Driver Mirror Motor Down Control

A1

L-GN

89

Driver Mirror Motor Down Control

A2

WH

81

Driver Mirror Motor Right Control

A2

WH

81

Driver Mirror Motor Right Control

A3

YE

343

Accessory Voltage

A3

YE

343

Accessory Voltage

A4

--

--

Not Used

A4

--

--

Not Used

A5

RD/WH

40

Battery Positive Voltage

A5

RD/WH

40

Battery Positive Voltage

A6

D-GN

95

Windshield Wiper Motor Low Speed Control

A6

D-GN

95

Windshield Wiper Motor Low Speed Control

A7

PK/BK

1503

Passenger Heated Seat High/Low Signal (KA1)

A7

PK/BK

1503

Passenger Heated Seat High/Low Signal (KA1)

A8

BN

1271

Accelerator Pedal Position Low Reference

A8

BN

1271

Accelerator Pedal Position Low Reference

B1

PU/WH

889

Passenger Mirror Motor Down Control

B1

PU/WH

889

Passenger Mirror Motor Down Control

B2

YE

1496

Mirror Motor Left/Up Control

B2

YE

1496

Mirror Motor Left/Up Control

B3

OG/WH

881

Passenger Mirror Motor Right Control

B3

OG/WH

881

Passenger Mirror Motor Right Control

B4

L-BU

1162

APP Sensor 2 Signal

B4

L-BU

1162

APP Sensor 2 Signal

B5

PU

1272

Accelerator Pedal Position Low Reference

B5

PU

1272

Accelerator Pedal Position Low Reference

B6

YE

1834

Front End Sensor Voltage

B6

YE

1834

Front End Sensor Voltage

B7

WH/BK

1164

Accelerator Pedal Position 5-Volt Reference - A

B7

WH/BK

1164

Accelerator Pedal Position 5-Volt Reference - A

B8

GY

1884

Cruise Control Set/Coast/Resume/Accel Switch Signal (K34, UK3)

B8

GY

1884

Cruise Control Set/Coast/Resume/Accel Switch Signal (K34, UK3)

B9

PK

1501

Driver Heated Seat High/Low Signal (KA1)

B9

PK

1501

Driver Heated Seat High/Low Signal (KA1)

B10

RD/WH

1840

Battery Positive Voltage

B10

RD/WH

1840

Battery Positive Voltage

B11

TN

1274

Accelerator Pedal Position 5-Volt Reference - B

B11

TN

1274

Accelerator Pedal Position 5-Volt Reference - B

B12

D-BU

1161

APP Sensor 1 Signal

B12

D-BU

1161

APP Sensor 1 Signal

C1-C2

--

--

Not Used

C1-C2

--

--

Not Used

C3

RD/WH

440

Battery Positive Voltage

C3

RD/WH

440

Battery Positive Voltage

C4-C5

--

--

Not Used

C4-C5

--

--

Not Used

C6

PU

420

Brake/Cruise Release Switch Signal

C6

PU

420

Brake/Cruise Release Switch Signal

C7

TN/OG

5045

Front End Sensor Signal

C7

TN/OG

5045

Front End Sensor Signal

C8

BN/WH

419

MIL Control

C8

BN/WH

419

MIL Control

C9

L-BU

20

Stop Lamp Switch Signal

C9

L-BU

20

Stop Lamp Switch Signal

C10-C11

--

--

Not Used

C10-C11

--

--

Not Used

C12

RD/WH

540

Battery Positive Voltage

C12

RD/WH

540

Battery Positive Voltage

D1

TN

2501

High Speed GMLAN Serial Data Bus (-)

D1

TN

2501

High Speed GMLAN Serial Data Bus (-)

D2

TN/BK

2500

High Speed GMLAN Serial Data Bus (+)

D2

TN/BK

2500

High Speed GMLAN Serial Data Bus (+)

D3

PU

92

Windshield Wiper Motor High Speed Control

D3

PU

92

Windshield Wiper Motor High Speed Control

D4

L-BU

97

Windshield Wiper Switch Mist/Off/Low Signal

D4

L-BU

97

Windshield Wiper Switch Mist/Off/Low Signal

D5

RD/WH

40

Battery Positive Voltage

D5

RD/WH

40

Battery Positive Voltage

D6

RD/WH

1140

Battery Positive Voltage

D6

RD/WH

1140

Battery Positive Voltage

D7

OG/BK

6848

Front Wiper Relay Control

D7

OG/BK

6848

Front Wiper Relay Control

D8

--

--

Not Used

D8

--

--

Not Used

C202 - I/P Harness to the HVAC Harness


Object Number: 646384  Size: CH

Object Number: 646388  Size: CH

Connector Part Information

  • OEM: 15332177
  • Service: Not Serviced
  • Description: 10-Way F GT 150 Series (BK)

Connector Part Information

  • OEM: 15332182
  • Service: 15306371
  • Description: 10-Way M GT 150 Series (BK)

C202 - I/P Harness to the HVAC Harness

Pin

Wire Color

Circuit No.

Function

Pin

Wire Color

Circuit No.

Function

A

PU

361

Mode Door Control A

A

PU

361

Mode Door Control A

B

PU/WH

3361

Mode Door Control B

B

PU/WH

3361

Mode Door Control B

C

YE/BK

713

Mode Door Position Signal

C

YE/BK

713

Mode Door Position Signal

D

GY

705

5-Volt Reference

D

GY

705

5-Volt Reference

E

TN

407

Low Reference

E

TN

407

Low Reference

F

L-GN/BK

366

Air Temperature Door Control A

F

L-GN/BK

366

Air Temperature Door Control A

G

L-GN/WH

3366

Air Temperature Door Control B

G

L-GN/WH

3366

Air Temperature Door Control B

H

YE/BK

1814

Lower Mode Door Position Signal

H

YE/BK

1814

Lower Mode Door Position Signal

J

GY

731

Evaporator Temperature Sensor Signal

J

GY

731

Evaporator Temperature Sensor Signal

K

PU

719

Low Reference

K

PU

719

Low Reference

C204 - I/P Harness to the Body Harness


Object Number: 888604  Size: CH

Object Number: 823294  Size: CH

Connector Part Information

  • OEM: 7283-5941-60
  • Service: See Catalog
  • Description: 16-Way F 1.5 Series Weather Pack (GN)

Connector Part Information

  • OEM: 7282-5534-60
  • Service: 88952799
  • Description: 16-Way M 1.5 Series Weather Pack (GN)

C204 - I/P Harness to the Body Harness

Pin

Wire Color

Circuit No.

Function

Pin

Wire Color

Circuit No.

Function

1

TN

201

Left Front Speaker Output (+)

1

TN

201

Left Front Speaker Output (+) (U1C)

511

Left Front Speaker Output (+) (U65)

2

GY

118

Left Front Speaker Output (-)

2

GY

118

Left Front Speaker Output (-) (U1C)

D-GN

1947

Left Front Speaker Output (-) (U65)

3

D-GN

117

Right Front Speaker Output (-)

3

D-GN

117

Right Front Speaker Output (-) (U1C)

L-GN

1948

Right Front Speaker Output (-) (U65)

4

L-GN

200

Right Front Speaker Output (+)

4

L-GN

200

Right Front Speaker Output (+) (U1C)

D-GN

512

Right Front Speaker Output (+) (U65)

5

OG

5748

Mute Signal (U65)

5

OG

5748

Mute Signal (U65)

6

PK

314

Amplifier Enable Signal (U65)

6

PK

314

Amplifier Enable Signal (U65)

7

PU

1807

Class 2 Serial Data (U2K)

7

PU

1807

Class 2 Serial Data (U2K)

8

D-GN

5016

Left Seat Belt Switch Signal

8

D-GN

5016

Left Seat Belt Switch Signal

9

BN

199

Left Rear Speaker Output (+)

9

BN

199

Left Rear Speaker Output (+) (U1C)

BN/WH

599

Left Rear Speaker Output (+) (U65)

10

YE

116

Left Rear Speaker Output (-)

10

YE

116

Left Rear Speaker Output (-) (U1C)

BN

1999

Left Rear Speaker Output (-) (U65)

11

L-BU

115

Right Rear Speaker Output (-) (U1C)

11

L-BU

115

Right Rear Speaker Output (-) (U1C)

TN

1946

Right Rear Speaker Output (-) (U65)

12

D-BU

46

Right Rear Speaker Output (-) (U1C)

12

D-BU

46

Right Rear Speaker Output (-) (U1C)

546

Right Rear Speaker Output (-) (U65)

13

D-GN/WH

368

Right Audio Signal (+) (U2K)

13

D-GN/WH

368

Right Audio Signal (+) (U2K)

14

BN/WH

367

Left Audio Signal (+) (U2K)

14

BN/WH

367

Left Audio Signal (+) (U2K)

15

YE/WH

7001

Audio Common (U2K)

15

YE/WH

7001

Audio Common (U2K)

16

GY

813

Drain Wire (U2K)

16

GY

813

Drain Wire (U2K)

C275 - SIR Coil to the I/P Harness


Object Number: 594473  Size: CH

Object Number: 684931  Size: CH

Connector Part Information

  • OEM: 15336479
  • Service: See Catalog
  • Description: 4-Way F Metri-Pack 280 Series w/ Shorting Clip (YE)

Connector Part Information

  • OEM: 15336476
  • Service: 15306363
  • Description: 4-Way M Metri-Pack 280 Series (YE)

C275 - SIR Coil to the I/P Harness

Pin

Wire Color

Circuit No.

Function

Pin

Wire Color

Circuit No.

Function

A1

TN

3021

Steering Wheel Module Stage 1 High Control

A1

TN

3021

Steering Wheel Module Stage 1 High Control

A2

BN

3020

Steering Wheel Module Stage 1 Low Control

A2

BN

3020

Steering Wheel Module Stage 1 Low Control

B1

WH

3023

Steering Wheel Module Stage 2 High Control

B1

WH

3023

Steering Wheel Module Stage 2 High Control

B2

PK

3022

Steering Wheel Module Stage 2 Low Control

B2

PK

3022

Steering Wheel Module Stage 2 Low Control

C276 - I/P Harness to the SIR Coil


Object Number: 62463  Size: CH

Object Number: 73217  Size: CH

Connector Part Information

  • OEM: 12064766
  • Service: 12101875
  • Description: 8-Way F Metri-Pack 150 Series (BU)

Connector Part Information

  • OEM: 12064767
  • Service: See Catalog
  • Description: 8-Way M Metri-Pack 150 Series (BU)

C276 - I/P Harness to the SIR Coil

Pin

Wire Color

Circuit No.

Function

Pin

Wire Color

Circuit No.

Function

A

PK

1339

Ignition 1 Voltage

A

PK

1339

Ignition 1 Voltage

B

GY

1884

Cruise Control Set/Coast and Resume/Accelerate Switch Signal

B

GY/BK

1884

Cruise Control Set/Coast and Resume/Accelerate Switch Signal

C

D-BU

1796

Steering Wheel Controls Signal (UK3)

C

D-BU

1796

Steering Wheel Controls Signal (UK3)

D

WH/BK

644

10-Volt Reference (UK3)

D

WH/BK

644

10-Volt Reference (UK3)

E

BK/WH

151

Ground

E

BK/WH

151

Ground

F

TN

28

Horn Relay Control

F

TN

28

Horn Relay Control

G

--

--

Not Used

G

--

--

Not Used

H

GY

8

I/P Lamps Dimmer Switch Signal

H

GY

8

I/P Lamps Dimmer Switch Signal

C277 - SIR Coil to the Steering Wheel Control Switches Harness (3 Spoke)


Object Number: 1698032  Size: CH

Object Number: 1698031  Size: CH

Connector Part Information

  • OEM: XMP-10V
  • Service: See Catalog
  • Description: 10-Way M XM Series (WH)

Connector Part Information

  • OEM: XMR-10V
  • Service: See Catalog
  • Description: 10-Way F XM Series (WH)

C277 - SIR Coil to the Steering Wheel Control Switches Harness (3 Spoke)

Pin

Wire Color

Circuit No.

Function

Pin

Wire Color

Circuit No.

Function

1

PK

1339

Ignition 1 Voltage

1

PK

1339

Ignition 1 Voltage

2

GY/BK

1884

Cruise Control Set/Coast and Resume/Accelerate Switch Signal

2

BK/WH

1884

Cruise Control Set/Coast and Resume/Accelerate Switch Signal

3

D-BU

1796

Steering Wheel Controls Signal (UK3)

3

D-BU

1796

Steering Wheel Controls Signal (UK3)

4

WH/BK

644

10-Volt Reference (UK3)

4

WH/BK

644

10-Volt Reference (UK3)

5

BK/WH

151

Ground

5

BK

151

Ground

6

TN

28

Horn Relay Control

6

TN

28

Horn Relay Control

7

--

--

Not Used

7

--

--

Not Used

8

GY

8

I/P Lamps Dimmer Switch Signal

8

GY

8

I/P Lamps Dimmer Switch Signal

9-10

--

--

Not Used

9-10

--

--

Not Used

C277 - SIR Coil to the Steering Wheel Control Switches Harness (4 Spoke)


Object Number: 62463  Size: CH

Object Number: 73217  Size: CH

Connector Part Information

  • OEM: 12064766
  • Service: 12101875
  • Description: 8-Way F Metri-Pack 150 Series (BU)

Connector Part Information

  • OEM: 12064767
  • Service: See Catalog
  • Description: 8-Way M Metri-Pack 150 Series (BU)

C277 - SIR Coil to the Steering Wheel Control Switches Harness (4 Spoke)

Pin

Wire Color

Circuit No.

Function

Pin

Wire Color

Circuit No.

Function

A

PK

1339

Ignition 1 Voltage

A

PK

1339

Ignition 1 Voltage

B

GY

1884

Cruise Control Set/Coast and Resume/Accelerate Switch Signal

B

GY

1884

Cruise Control Set/Coast and Resume/Accelerate Switch Signal

C

D-BU

1796

Steering Wheel Controls Signal (UK3)

C

D-BU

1796

Steering Wheel Controls Signal (UK3)

D-BU

1796

Steering Wheel Controls Signal (UK3)

D

WH/BK

644

10-Volt Reference (UK3)

D

WH/BK

644

10-Volt Reference (UK3)

E

BK/WH

151

Ground

E

BK/WH

151

Ground

BK/WH

151

Ground

F

TN

28

Horn Relay Control

F

TN

28

Horn Relay Control

G

--

--

Not Used

G

--

--

Not Used

H

GY

8

I/P Lamps Dimmer Switch Signal

H

GY/WH

8

I/P Lamps Dimmer Switch Signal

GY/WH

8

I/P Lamps Dimmer Switch Signal

C300 - Body Harness to the Headliner Harness


Object Number: 62464  Size: CH

Object Number: 808703  Size: CH

Connector Part Information

  • OEM: 12064769
  • Service: 12101762
  • Description: 10-Way F Metri-Pack 150 Series (NA)

Connector Part Information

  • OEM: 12064770
  • Service: 12101823
  • Description: 10-Way M Metri-Pack 150 Series (NA)

C300 - Body Harness to the Headliner Harness

Pin

Wire Color

Circuit No.

Function

Pin

Wire Color

Circuit No.

Function

A

WH

156

Courtesy Lamps Switch Signal

A

WH

156

Courtesy Lamps Switch Signal

B

BK

750

Ground

B

BK

750

Ground

C

OG

1732

Courtesy Lamps Supply Voltage

C

OG

1732

Courtesy Lamps Supply Voltage

D

YE

43

Accessory Voltage

D

YE

43

Accessory Voltage

E

YE

543

Accessory Voltage

E

YE

543

Accessory Voltage

F

L-GN

24

Backup Lamps Supply Voltage

F

L-GN

24

Backup Lamps Supply Voltage

G

--

--

Not Used

G

--

--

Not Used

H

BK

750

Ground

H

BK

750

Ground

J

L-GN/BK

735

Ambient Air Temperature Sensor Signal

J

L-GN/BK

735

Ambient Air Temperature Sensor Signal

K

GY

720

Low Reference

K

GY

720

Low Reference

C301 - Body Harness to the Console Harness


Object Number: 1413036  Size: CH

Object Number: 1464335  Size: CH

Connector Part Information

  • OEM: 7283-5531-40
  • Service: See Catalog
  • Description: 4-Way F YESC/USCAR Class III (L-GY)

Connector Part Information

  • OEM: 7282-5531-40
  • Service: See Catalog
  • Description: 4-Way M YESC/USCAR Class III (L-GY)

C301 - Body Harness to the Console Harness

Pin

Wire Color

Circuit No.

Function

Pin

Wire Color

Circuit No.

Function

1

RD/WH

840

Ignition 1 Voltage

1

RD/WH

840

Ignition 1 Voltage

2

BK

650

Ground

2

BK

650

Ground

3

RD/WH

340

Ignition 1 Voltage

3

RD/WH

340

Ignition 1 Voltage

4

BK

650

Ground

4

BK

650

Ground

C302 - Headliner Harness to the Sunroof Harness (CF5)


Object Number: 62439  Size: CH

Object Number: 62434  Size: CH

Connector Part Information

  • OEM: 12047886
  • Service: 12101822
  • Description: 8-Way F Metri-Pack 150 Series (BK)

Connector Part Information

  • OEM Assembly: 12084256
  • OEM Connector Body: 12045688
  • Service: 12101827
  • Description: 8-Way M Metri-Pack 150 Series (BK)

C302 - Headliner Harness to the Sunroof Harness (CF5)

Pin

Wire Color

Circuit No.

Function

Pin

Wire Color

Circuit No.

Function

A

BN

100

Sunroof Switch Open Signal

A

BN

100

Sunroof Switch Open Signal

B

D-GN

2074

Sunroof Switch Express Signal

B

D-GN

2074

Sunroof Switch Express Signal

C

OG/BK

144

Sunroof Switch Open Vent Signal

C

OG/BK

144

Sunroof Switch Open Vent Signal

D

D-BU

128

Low Reference

D

D-BU

128

Low Reference

E

YE

543

Accessory Voltage

E

OG

580

Accessory Voltage

F

BK

750

Ground

F

BK

750

Ground

G-H

--

--

Not Used

G-H

--

--

Not Used

C303 - Headliner Jumper Harness to the I/P Harness (UE1)


Object Number: 258248  Size: CH

Object Number: 62434  Size: CH

Connector Part Information

  • OEM: 12065398
  • Service: Not Serviced
  • Description: 8-Way F Metri-Pack 150 Series (GY)

Connector Part Information

  • OEM Assembly: 12162427
  • OEM Connector Body: 12065396
  • Service: 12162427
  • Description: 8-Way M Metri-Pack 150 Series (GY)

C303 - Headliner Jumper Harness to the I/P Harness (UE1)

Pin

Wire Color

Circuit No.

Function

Pin

Wire Color

Circuit No.

Function

A

YE/BK

2516

Keypad Green LED Signal

A

YE/BK

2516

Keypad Green LED Signal

B

L-GN/BK

2515

Keypad Supply Voltage

B

L-GN/BK

2515

Keypad Supply Voltage

C

D-GN/WH

2514

Keypad Signal

C

D-GN/WH

2514

Keypad Signal

D

BN/WH

2517

Keypad Red LED Signal

D

BN/WH

2517

Keypad Red LED Signal

E

GY

655

Cellular Microphone Signal

E

GY

655

Cellular Microphone Signal

F

D-GN

1489

Drain Wire

F

GY

1489

Drain Wire

G-H

--

--

Not Used

G-H

--

--

Not Used

C304 - I/P Harness to the Shifter Harness


Object Number: 1413001  Size: CH

Object Number: 1413001  Size: CH

Connector Part Information

  • OEM: 936224-1
  • Service: See Catalog
  • Description: 2-Way F (WH)

Connector Part Information

  • OEM: 936263-1
  • Service: See Catalog
  • Description: 2-Way M (WH)

C304 - I/P Harness to the Shifter Harness

Pin

Wire Color

Circuit No.

Function

Pin

Wire Color

Circuit No.

Function

1

TN/WH

816

A/T Shift Lock Solenoid Supply Voltage

1

WH

816

A/T Shift Lock Solenoid Supply Voltage

2

PK

139

Ignition 1 Voltage

2

PK

139

Ignition 1 Voltage

C305 - Body Harness to the Driver Seat Harness (AG1/KA1)


Object Number: 556473  Size: CH

Object Number: 542307  Size: CH

Connector Part Information

  • OEM: 15326924
  • Service: 15306174
  • Description: 8-Way F GT 280 Series (BK)

Connector Part Information

  • OEM: 15326928
  • Service: 15306176
  • Description: 8-Way M GT 280 Series (BK)

C305 - Body Harness to the Driver Seat Harness (AG1/KA1)

Pin

Wire Color

Circuit No.

Function

Pin

Wire Color

Circuit No.

Function

A

RD/WH

1540

Battery Positive Voltage

A

RD/WH

1540

Battery Positive Voltage

B

BN

141

Ignition 3 Voltage

B

BN

141

Ignition 3 Voltage

C

PK

1501

Driver Heated Seat High/Low Signal

C

PK

1501

Driver Heated Seat High/Low Signal

D

BK

650

Ground

D

BK

650

Ground

E

BK

650

Ground

E

BK

650

Ground

F

RD/BK

542

Battery Positive Voltage

F

RD/BK

542

Battery Positive Voltage

G

D-GN

5016

Seat Belt Switch - Left - Signal

G

TN/WH

5016

Seat Belt Switch - Left - Signal

H

BK

650

Ground

H

D-BU

650

Ground

C306 - Body Harness to the Front Passenger Seat Harness (KA1)


Object Number: 698669  Size: CH

Object Number: 698671  Size: CH

Connector Part Information

  • OEM: 15326886
  • Service: See Catalog
  • Description: 4-Way F GT 280 Series (BK)

Connector Part Information

  • OEM: 15326890
  • Service: 88953361
  • Description: 4-Way M GT 280 Series (BK)

C306 - Body Harness to the Front Passenger Seat Harness (KA1)

Pin

Wire Color

Circuit No.

Function

Pin

Wire Color

Circuit No.

Function

A

RD/WH

1540

Battery Positive Voltage

A

RD/WH

1540

Battery Positive Voltage

B

BN

141

Ignition 3 Voltage

B

BN

141

Ignition 3 Voltage

C

PK/BK

1503

Front Passenger Heated Seat High/Low Signal

C

PK/BK

1503

Front Passenger Heated Seat High/Low Signal

D

BK

650

Ground

D

BK

650

Ground

C307 - Roof Rail Harness to the I/P Harness (ASF)


Object Number: 1279203  Size: CH

Object Number: 684931  Size: CH

Connector Part Information

  • OEM: 12191739
  • Service: See Catalog
  • Description: 4-Way F Metri-Pack 280 Series (YE)

Connector Part Information

  • OEM: 12176631
  • Service: 15306013
  • Description: 4-Way M Metri-Pack 280 Series (YE)

C307 - Roof Rail Harness to the I/P Harness (ASF)

Pin

Wire Color

Circuit No.

Function

Pin

Wire Color

Circuit No.

Function

A1

YE

2131

Side Impact Sensing Module - Left - Voltage

A1

YE

2131

Side Impact Sensing Module - Left - Voltage

A2

WH

2132

Side Impact Sensing Module - Left - Signal

A2

WH

2132

Side Impact Sensing Module - Left - Signal

B1

TN

2133

Side Impact Sensing Module - Right - Voltage

B1

TN

2133

Side Impact Sensing Module - Right - Voltage

B2

D-GN

2134

Side Impact Sensing Module - Right - Signal

B2

D-GN

2134

Side Impact Sensing Module - Right - Signal

C308 - Roof Rail Module Harness to the I/P Harness (ASF)


Object Number: 594473  Size: CH

Object Number: 684931  Size: CH

Connector Part Information

  • OEM: 15336479
  • Service: 15306186
  • Description: 4-Way F Metri-Pack 280 Series (YE)

Connector Part Information

  • OEM: 15336476
  • Service: 15306363
  • Description: 4-Way M Metri-Pack 280 Series (YE)

C308 - Roof Rail Module Harness to the I/P Harness (ASF)

Pin

Wire Color

Circuit No.

Function

Pin

Wire Color

Circuit No.

Function

A1

YE/BK

5021

Roof Rail Module - Right - High Control

A1

YE/BK

5021

Roof Rail Module - Right - High Control

A2

WH/BK

5022

Roof Rail Module - Right - Low Control

A2

WH/BK

5022

Roof Rail Module - Right - Low Control

B1

PU/WH

5019

Roof Rail Module - Left - High Control

B1

PU/WH

5019

Roof Rail Module - Left - High Control

B2

PK

5020

Roof Rail Module - Left - Low Control

B2

PK

5020

Roof Rail Module - Left - Low Control

C310 - Driver Seat Jumper Harness to the Driver Seat Harness (AG1/KA1)


Object Number: 556473  Size: CH

Object Number: 542307  Size: CH

Connector Part Information

  • OEM: 15326924
  • Service: 15306174
  • Description: 8-Way F GT 280 Series (BK)

Connector Part Information

  • OEM: 15326928
  • Service: 15306176
  • Description: 8-Way M GT 280 Series (BK)

C310 - Driver Seat Jumper Harness to the Driver Seat Harness (AG1/KA1)

Pin

Wire Color

Circuit No.

Function

Pin

Wire Color

Circuit No.

Function

A-D

--

--

Not Used

A-D

--

--

Not Used

E

BK

650

Ground

E

BK

650

Ground

F

RD/BK

542

Battery Positive Voltage

F

RD/BK

542

Battery Positive Voltage

G

TN/WH

5016

Seat Belt Switch - Left - Signal

G

TN/WH

5016

Seat Belt Switch - Left - Signal

H

D-BU

650

Ground

H

D-BU

650

Ground

C311 - I/P Harness to the Body Harness


Object Number: 831380  Size: CH

Object Number: 1464340  Size: CH

Connector Part Information

  • OEM: 15332141
  • Service: 88986249
  • Description: 6-Way F GT 150 280 Sealed Series (BK)

Connector Part Information

  • OEM: 15332142
  • Service: 89046638
  • Description: 6-Way M GT 150 280 Sealed Series (BK)

C311 - I/P Harness to the Body Harness

Pin

Wire Color

Circuit No.

Function

Pin

Wire Color

Circuit No.

Function

A

TN/WH

2118

Seat Belt Pretensioner - Left - High Control

A

TN/WH

2118

Seat Belt Pretensioner - Left - High Control

B

OG/BK

2119

Seat Belt Pretensioner - Left - Low Control

B

OG/BK

2119

Seat Belt Pretensioner - Left - Low Control

C-D

--

--

Not Used

C-D

--

--

Not Used

E

L-GN

2116

Seat Belt Pretensioner - Right - High Control

E

L-GN

2116

Seat Belt Pretensioner - Right - High Control

F

OG

2117

Seat Belt Pretensioner - Right - Low Control

F

OG

2117

Seat Belt Pretensioner - Right - Low Control

C312 - Body Harness to the Trailer Connector Adapter Harness (V92)


Object Number: 1283897  Size: CH

Object Number: 1283896  Size: CH

Connector Part Information

  • OEM: 7283-5532
  • Service: 89046849
  • Description: 6-Way F YESC/USCAR Class III Unsealed Series (GY)

Connector Part Information

  • OEM: 7282-5532
  • Service: 89046743
  • Description: 6-Way M YESC/USCAR Class III Unsealed Series (GY)

C312 - Body Harness to the Trailer Connector Adapter Harness (V92)

Pin

Wire Color

Circuit No.

Function

Pin

Wire Color

Circuit No.

Function

1

OG

5186

Right Turn Signal Lamps Supply Voltage

1

YE

5186

Right Turn Signal Lamps Supply Voltage

2

YE

5187

Left Turn Signal Lamps Supply Voltage

2

D-GN

5187

Left Turn Signal Lamps Supply Voltage

3

BN

9

Park Lamps Supply Voltage

3

BN

9

Park Lamps Supply Voltage

4

L-BU

20

Stop Lamp Switch Signal

4

RD

20

Stop Lamp Switch Signal

5

BK

750

Ground

5

WH

750

Ground

6

RD/WH

1840

Battery Positive Voltage

6

RD/WH

1840

Battery Positive Voltage

C313 - Trailer Connector Adapter Harness to the Trailer Hitch Harness (V92)


Object Number: 1479640  Size: CH

Object Number: 1479634  Size: CH

Connector Part Information

  • OEM: 7283-5889-30
  • Service: Not Serviced
  • Description: 4-Way F YESC/USCAR Class III Series (BK)

Connector Part Information

  • OEM: 7282-5889-30
  • Service: Not Serviced
  • Description: 4-Way M YESC/USCAR Class III Series (BK)

C313 - Trailer Connector Adapter Harness to the Trailer Hitch Harness (V92)

Pin

Wire Color

Circuit No.

Function

Pin

Wire Color

Circuit No.

Function

1

YE

1618

Left Turn Signal Lamps Supply Voltage

1

YE

1618

Left Turn Signal Lamps Supply Voltage

2

D-GN

1619

Right Turn Signal Lamps Supply Voltage

2

D-GN

1619

Right Turn Signal Lamps Supply Voltage

3

BN

2109

Park Lamps Supply Voltage

3

BN

2109

Park Lamps Supply Voltage

4

WH

750

Ground

4

BK

750

Ground

C400 - Body Harness to the LR Tail Lamp Harness


Object Number: 1413059  Size: CH

Object Number: 1464338  Size: CH

Connector Part Information

  • OEM: 7283-7063
  • Service: See Catalog
  • Description: 6-Way F .090 Class II Sealed (GY)

Connector Part Information

  • OEM: 7282-7063
  • Service: See Catalog
  • Description: 6-Way M .090 Class II Sealed (GY)

C400 - Body Harness to the LR Tail Lamp Harness

Pin

Wire Color

Circuit No.

Function

Pin

Wire Color

Circuit No.

Function

1

YE

618

Left Rear Turn Signal Lamp Supply Voltage

1

D-GN

618

Left Rear Turn Signal Lamp Supply Voltage

2

BK

750

Ground

2

BK

750

Ground

3

--

--

Not Used

3

--

--

Not Used

4

BN

9

Park Lamp Supply Voltage

4

RD/BU

9

Park Lamp Supply Voltage

5

L-BU

20

Stop Lamp Switch Signal

5

GN/WH

20

Stop Lamp Switch Signal

6

L-GN

24

Backup Lamp Supply Voltage

6

RD

24

Backup Lamp Supply Voltage

C401 - Body Harness to the RR Tail Lamp Harness


Object Number: 1413059  Size: CH

Object Number: 1464338  Size: CH

Connector Part Information

  • OEM: 7283-7063
  • Service: See Catalog
  • Description: 6-Way F .090 Class II Sealed Series (GY)

Connector Part Information

  • OEM: 7282-7063
  • Service: See Catalog
  • Description: 6-Way M .090 Class II Sealed Series (GY)

C401 - Body Harness to the RR Tail Lamp Harness

Pin

Wire Color

Circuit No.

Function

Pin

Wire Color

Circuit No.

Function

1

D-GN

619

Right Rear Turn Signal Lamp Supply Voltage

1

D-GN

619

Right Rear Turn Signal Lamp Supply Voltage

2

BK

850

Ground

2

BK

850

Ground

3

--

--

Not Used

3

--

--

Not Used

4

BN

9

Park Lamp Supply Voltage

4

RD/BU

9

Park Lamp Supply Voltage

5

L-BU

20

Stop Lamp Switch Signal

5

GN/WH

20

Stop Lamp Switch Signal

6

L-GN

24

Backup Lamp Supply Voltage

6

RD

24

Backup Lamp Supply Voltage

C402 - Liftgate Jumper Harness to the Body Harness


Object Number: 1412983  Size: CH

Object Number: 1413088  Size: CH

Connector Part Information

  • OEM: 7123-1460-30
  • Service: See Catalog
  • Description: 6-Way M (BK)

Connector Part Information

  • OEM: 7122-1163-30
  • Service: See Catalog
  • Description: 6-Way M (NA)

C402 - Liftgate Jumper Harness to the Body Harness

Pin

Wire Color

Circuit No.

Function

Pin

Wire Color

Circuit No.

Function

A

BN

9

Park Lamp Supply Voltage

A

BN

9

Park Lamp Supply Voltage

B

GY

295

Door Lock Actuator Lock Control

B

GY

295

Door Lock Actuator Lock Control

C

YE

143

Accessory Voltage

C

YE

143

Accessory Voltage

D

WH

393

Rear Window Wiper Motor Control

D

WH

393

Rear Window Wiper Motor Control

E

TN

294

Door Lock Actuator Unlock Control

E

TN

294

Door Lock Actuator Unlock Control

F

OG/BK

744

Liftgate Ajar Switch Signal

F

OG/BK

744

Liftgate Ajar Switch Signal

C403 - Liftgate Jumper Harness to the Body Harness


Object Number: 1413016  Size: CH

Object Number: 1413032  Size: CH

Connector Part Information

  • OEM: 7283-1024
  • Service: See Catalog
  • Description: 2-Way F 187 Class II Sealed Series (NA)

Connector Part Information

  • OEM: 7282-1024
  • Service: See Catalog
  • Description: 2-Way M 187 Class II Sealed Series (NA)

C403 - Liftgate Jumper Harness to the Body Harness

Pin

Wire Color

Circuit No.

Function

Pin

Wire Color

Circuit No.

Function

1

PU

293

Rear Defogger Element Supply Voltage

1

PU

293

Rear Defogger Element Supply Voltage

2

BK

750

Ground

2

BK

750

Ground

C404 - Body Harness to the Rear WSS Harness (JM4)


Object Number: 684854  Size: CH

Object Number: 396241  Size: CH

Connector Part Information

  • OEM: 12162144
  • Service: 12102741
  • Description: 4-Way F Metri-Pack 150 Series Sealed (BK)

Connector Part Information

  • OEM: 12162102
  • Service: 15305839
  • Description: 4-Way M Metri-Pack 150 Series Sealed (BK)

C404 - Body Harness to the Rear WSS Harness (JM4)

Pin

Wire Color

Circuit No.

Function

Pin

Wire Color

Circuit No.

Function

A

WH

883

Right Rear Wheel Speed Sensor Low Reference

A

BN

883

Right Rear Wheel Speed Sensor Low Reference

B

BN

882

Right Rear Wheel Speed Sensor Signal

B

WH

882

Right Rear Wheel Speed Sensor Signal

C

OG

885

Left Rear Wheel Speed Sensor Low Reference

C

BK

885

Left Rear Wheel Speed Sensor Low Reference

D

TN

884

Left Rear Wheel Speed Sensor Signal

D

RD

884

Left Rear Wheel Speed Sensor Signal

C406 - Body Harness to the Fuel Tank Harness


Object Number: 570216  Size: CH

Object Number: 258921  Size: CH

Connector Part Information

  • OEM: 12065425
  • Service: 12125676
  • Description: 10-Way F Metri-Pack 150 Series Sealed (BK)

Connector Part Information

  • OEM: 12045808
  • Service: 12117372
  • Description: 10-Way M Metri-Pack 150 Series Sealed (BK)

C406 - Body Harness to the Fuel Tank Harness

Pin

Wire Color

Circuit No.

Function

Pin

Wire Color

Circuit No.

Function

A

GY

120

Fuel Pump Supply Voltage

A

GY

120

Fuel Pump Supply Voltage

B

BK

850

Ground

B

BK

850

Ground

C

PU

1589

Fuel Level Sensor Signal

C

PU

1589

Fuel Level Sensor Signal

D

--

--

Not Used

D

D-BU

930

Fuel Level Sensor Signal - Common

E

GY

2709

5-Volt Reference

E

GY

2709

5-Volt Reference

F

D-GN

890

Fuel Tank Pressure Sensor Signal

F

D-GN

890

Fuel Tank Pressure Sensor Signal

G

TN

2759

Low Reference

G

BK

2759

Low Reference

H

TN

2759

Low Reference

H

BK/WH

2759

Low Reference

J

RD/WH

1440

Battery Positive Voltage

J

PK

1440

Battery Positive Voltage

K

WH

1310

EVAP Canister Vent Solenoid Control

K

WH

1310

EVAP Canister Vent Solenoid Control

C408 - Body Harness to the CHMSL Jumper Harness


Object Number: 1413061  Size: CH

Object Number: 1413066  Size: CH

Connector Part Information

  • OEM: 7123-1520
  • Service: See Catalog
  • Description: 2-Way F (NA)

Connector Part Information

  • OEM: 7122-1520
  • Service: See Catalog
  • Description: 2-Way M (NA)

C408 - Body Harness to the CHMSL Jumper Harness

Pin

Wire Color

Circuit No.

Function

Pin

Wire Color

Circuit No.

Function

1

L-BU

20

Stop Lamp Switch Signal

1

L-BU

20

Stop Lamp Switch Signal

2

BK

850

Ground

2

BK

850

Ground

C410 - Roof Rail Harness to the LH Roof Rail Jumper Harness


Object Number: 1413061  Size: CH

Object Number: 1413066  Size: CH

Connector Part Information

  • OEM: 12186977
  • Service: See Catalog
  • Description: 2-Way F (YE)

Connector Part Information

  • OEM:
  • Service: See Catalog
  • Description: 2-Way M (YE)

C410 - Roof Rail Harness to the LH Roof Rail Jumper Harness

Pin

Wire Color

Circuit No.

Function

Pin

Wire Color

Circuit No.

Function

1

PU/WH

5019

LF Side Impact Module - High Control

1

D-GN

5019

LF Side Impact Module - High Control

2

PK

5020

LF Side Impact Module - High Control

2

WH

5020

LF Side Impact Module - High Control

C411 - Roof Rail Harness to the RH Roof Rail Jumper Harness


Object Number: 1413061  Size: CH

Object Number: 1413066  Size: CH

Connector Part Information

  • OEM: 12186977
  • Service: See Catalog
  • Description: 2-Way F (YE)

Connector Part Information

  • OEM:
  • Service: See Catalog
  • Description: 2-Way M (YE)

C411 - Roof Rail Harness to the RH Roof Rail Jumper Harness

Pin

Wire Color

Circuit No.

Function

Pin

Wire Color

Circuit No.

Function

1

YE/BK

5021

LF Side Impact Module - High Control

1

D-GN

5019

LF Side Impact Module - High Control

2

WH/BK

5022

LF Side Impact Module - High Control

2

WH

5020

LF Side Impact Module - High Control

C500 - Body Harness to the LF Door Harness


Object Number: 1413044  Size: CH

Object Number: 1460798  Size: CH

Connector Part Information

  • OEM: 7123-1581
  • Service: See Catalog
  • Description: 28-Way F .090 Class II Sealed Series (WH)

Connector Part Information

  • OEM: 7122-1581
  • Service: See Catalog
  • Description: 28-Way M .090 Class II Sealed Series (WH)

C500 - Body Harness to the LF Door Harness

Pin

Wire Color

Circuit No.

Function

Pin

Wire Color

Circuit No.

Function

1-2

--

--

Not Used

1-2

--

--

Not Used

3

GY

118

Left Front Speaker Output (-)

3

TN

118

Left Front Speaker Output (-)

4

TN

201

Left Front Speaker Output (+)

4

GY

201

Left Front Speaker Output (+)

5-6

--

--

Not Used

5-6

--

--

Not Used

7

D-BU

245

Passenger Door Lock Switch Unlock Control

7

OG/BK

245

Passenger Door Lock Switch Unlock Control

8

L-BU

244

Passenger Door Lock Switch Lock Control

8

RD/BK

244

Passenger Door Lock Switch Lock Control

9

YE

1496

Mirror Motor Right/Up Control

9

YE

1496

Mirror Motor Right/Up Control

10

BK

650

Ground

10

BK

650

Ground

11

L-GN

89

Driver Mirror Motor Down Control

11

L-GN

89

Driver Mirror Motor Down Control

12

WH

81

Driver Mirror Motor Right Control

12

WH

81

Driver Mirror Motor Right Control

13

--

--

Not Used

13

BK

746

Not Used

14-18

--

--

Not Used

14-18

--

--

Not Used

19

GY/BK

745

Left Front Door Ajar Switch Signal

19

RD/BK

745

Left Front Door Ajar Switch Signal

20

--

--

Not Used

20

--

--

Not Used

21

RD/WH

440

Battery Positive Voltage

21

OG

440

Battery Positive Voltage

22

--

--

Not Used

22

--

--

Not Used

23

GY

295

Door Lock Actuator Lock Control

23

GY

295

Door Lock Actuator Lock Control

24

TN

694

Driver Door Lock Actuator Unlock Control

24

TN

694

Driver Door Lock Actuator Unlock Control

25

D-BU

164

Power Window Motor Left Front Up Control

25

D-BU

164

Power Window Motor Left Front Up Control

26

BN

165

Power Window Motor Left Front Down Control

26

BN

165

Power Window Motor Left Front Down Control

27-28

--

--

Not Used

27-28

--

--

Not Used

C600 - Body Harness to the RF Door Harness


Object Number: 1413044  Size: CH

Object Number: 1460798  Size: CH

Connector Part Information

  • OEM: 7123-1581
  • Service: See Catalog
  • Description: 28-Way F .090 Class II Sealed Series (WH)

Connector Part Information

  • OEM: 7122-1581
  • Service: See Catalog
  • Description: 28-Way M .090 Class II Sealed Series (WH)

C600 - Body Harness to the RF Door Harness

Pin

Wire Color

Circuit No.

Function

Pin

Wire Color

Circuit No.

Function

1-2

--

--

Not Used

1-2

--

--

Not Used

3

D-GN

117

Right Front Speaker Output (-)

3

TN

117

Right Front Speaker Output (-)

4

L-GN

200

Right Front Speaker Output (+)

4

GY

200

Right Front Speaker Output (+)

5-6

--

--

Not Used

5-6

--

--

Not Used

7

D-BU

245

Passenger Door Lock Switch Unlock Control

7

OG/BK

245

Passenger Door Lock Switch Unlock Control

8

L-BU

244

Passenger Door Lock Switch Lock Control

8

RD/BK

244

Passenger Door Lock Switch Lock Control

9

YE

1496

Mirror Motor Right/Up Control

9

YE

1496

Mirror Motor Right/Up Control

10

GY

295

Door Lock Actuator Lock Control

10

BK

295

Door Lock Actuator Lock Control

11

PU/WH

889

Passenger Mirror Motor Down Control

11

L-GN

889

Passenger Mirror Motor Down Control

12

OG/WH

881

Passenger Mirror Motor Right Control

12

WH

881

Passenger Mirror Motor Right Control

13

TN/WH

746

Passenger Door Ajar Switch Signal

13

BK

746

Passenger Door Ajar Switch Signal

14-18

--

--

Not Used

14-18

--

--

Not Used

19

--

--

Not Used

19

RD/BK

745

Not Used

20

TN

294

Door Lock Actuator Unlock Control

20

PU

294

Door Lock Actuator Unlock Control

21

RD/WH

440

Battery Positive Voltage

21

OG

440

Battery Positive Voltage

22

--

--

Not Used

22

--

--

Not Used

23

BK

650

Ground

23

GY

650

Ground

24

--

--

Not Used

24

--

--

Not Used

25

D-BU

666

Power Window Motor Right Front Up Control

25

D-BU

666

Power Window Motor Right Front Up Control

26

BN

667

Power Window Motor Right Front Down Control

26

BN

667

Power Window Motor Right Front Down Control

27-28

--

--

Not Used

27-28

--

--

Not Used

C700 - Body Harness to the LR Door Harness


Object Number: 1413062  Size: CH

Object Number: 1415172  Size: CH

Connector Part Information

  • OEM: 7123-1413
  • Service: See Catalog
  • Description: 21-Way F (WH)

Connector Part Information

  • OEM: 7122-1413
  • Service: See Catalog
  • Description: 21-Way M (WH)

C700 - Body Harness to the LR Door Harness

Pin

Wire Color

Circuit No.

Function

Pin

Wire Color

Circuit No.

Function

A1

D-GN

168

Power Window Master Switch Left Rear Up Signal

A1

D-GN

168

Power Window Master Switch Left Rear Up Signal

A2

PU

169

Power Window Master Switch Left Rear Down Signal

A2

PU

169

Power Window Master Switch Left Rear Down Signal

A3

D-BU

1307

Power Window Master Switch Lockout Control

A3

D-BU

1307

Power Window Master Switch Lockout Control

B1-B4

--

--

Not Used

B1-B4

--

--

Not Used

B5

TN/WH

746

Passenger Door Ajar Switch Signal

B5

RD/BK

746

Passenger Door Ajar Switch Signal

B6

--

--

Not Used

B6

BK

746

Not Used

B7

--

--

Not Used

B7

--

--

Not Used

B8

GY

295

Door Lock Actuator Lock Control

B8

GY

295

Door Lock Actuator Lock Control

B9

--

--

Not Used

B9

--

--

Not Used

C1

--

--

Not Used

C1

--

--

Not Used

C2

YE

116

Left Rear Speaker Output (-)

C2

BN

116

Left Rear Speaker Output (-)

C3

BN

199

Left Rear Speaker Output (+)

C3

YE

199

Left Rear Speaker Output (+)

C4

--

--

Not Used

C4

--

--

Not Used

C5

PU

294

Not Used

C5

PU

294

Not Used

C6

BK

750

Ground

C6

BK

750

Ground

C7

--

--

Not Used

C7

--

--

Not Used

C8

TN

294

Door Lock Actuator Unlock Control

C8

TN

294

Door Lock Actuator Unlock Control

C9

--

--

Not Used

C9

--

--

Not Used

C800 - Body Harness to the RR Door Harness


Object Number: 1413062  Size: CH

Object Number: 1415172  Size: CH

Connector Part Information

  • OEM: 7123-1413
  • Service: See Catalog
  • Description: 21-Way F (WH)

Connector Part Information

  • OEM: 7122-1413
  • Service: See Catalog
  • Description: 21-Way M (WH)

C800 - Body Harness to the RR Door Harness

Pin

Wire Color

Circuit No.

Function

Pin

Wire Color

Circuit No.

Function

A1

L-GN

170

Power Window Master Switch Right Rear Up Signal

A1

D-GN

170

Power Window Master Switch Right Rear Up Signal

A2

PU

171

Power Window Master Switch Right Rear Down Signal

A2

PU

171

Power Window Master Switch Right Rear Down Signal

A3

D-BU

1307

Power Window Master Switch Lockout Control

A3

D-BU

1307

Power Window Master Switch Lockout Control

B1-B4

--

--

Not Used

B1-B4

--

--

Not Used

B5

--

--

Not Used

B5

RD/BK

746

Not Used

B6

TN/WH

746

Passenger Door Ajar Switch Signal

B6

BK

746

Passenger Door Ajar Switch Signal

B7

--

--

Not Used

B7

--

--

Not Used

B8

BK

850

Ground

B8

GY

850

Ground

B9

--

--

Not Used

B9

--

--

Not Used

C1

--

--

Not Used

C1

--

--

Not Used

C2

L-BU

115

Right Rear Speaker Output (-)

C2

BN

115

Right Rear Speaker Output (-)

C3

D-BU

46

Right Rear Speaker Output (+)

C3

YE

46

Right Rear Speaker Output (+)

C4

--

--

Not Used

C4

--

--

Not Used

C5

TN

294

Door Lock Actuator Unlock Control

C5

PU

294

Door Lock Actuator Unlock Control

C6

GY

295

Door Lock Actuator Lock Control

C6

BK

295

Door Lock Actuator Lock Control

C7

--

--

Not Used

C7

--

--

Not Used

C8

--

--

Not Used

C8

TN

294

Not Used

C9

--

--

Not Used

C9

--

--

Not Used

C900 - Liftgate Jumper Harness to the Liftgate Harness


Object Number: 1412983  Size: CH

Object Number: 1413088  Size: CH

Connector Part Information

  • OEM: 7123-1460-30
  • Service: See Catalog
  • Description: 6-Way F (BK)

Connector Part Information

  • OEM: 7122-1163-30
  • Service: See Catalog
  • Description: 6-Way M (NA)

C900 - Liftgate Jumper Harness to the Liftgate Harness

Pin

Wire Color

Circuit No.

Function

Pin

Wire Color

Circuit No.

Function

A

BN

9

Park Lamp Supply Voltage

A

BN

9

Park Lamp Supply Voltage

B

GY

295

Door Lock Actuator Lock Control

B

GY

295

Door Lock Actuator Lock Control

C

YE

143

Accessory Voltage

C

YE

143

Accessory Voltage

D

WH

393

Rear Window Wiper Motor Control

D

WH

393

Rear Window Wiper Motor Control

E

TN

294

Door Lock Actuator Unlock Control

E

TN

294

Door Lock Actuator Unlock Control

F

OG/BK

744

Rear Compartment Lid Ajar Switch

F

OG/BK

744

Rear Compartment Lid Ajar Switch

C901 - Liftgate Jumper Harness to the Liftgate Harness


Object Number: 1413016  Size: CH

Object Number: 1413032  Size: CH

Connector Part Information

  • OEM: 7283-1024
  • Service: See Catalog
  • Description: 2-Way F 187 Class II Sealed Series (NA)

Connector Part Information

  • OEM: 7282-1024
  • Service: See Catalog
  • Description: 2-Way M 187 Class II Sealed Series (NA)

C901 - Liftgate Jumper Harness to the Liftgate Harness

Pin

Wire Color

Circuit No.

Function

Pin

Wire Color

Circuit No.

Function

1

PU

293

Rear Defogger Element Supply Voltage

1

PU

293

Rear Defogger Element Supply Voltage

2

BK

750

Ground

2

BK

750

Ground

C902 - Left License Lamp to the Liftgate Harness


Object Number: 1413061  Size: CH

Object Number: 1413066  Size: CH

Connector Part Information

  • OEM: 7123-1520
  • Service: See Catalog
  • Description: 2-Way F (NA)

Connector Part Information

  • OEM: 7122-1520
  • Service: See Catalog
  • Description: 2-Way M (NA)

C902 - Left License Lamp to the Liftgate Harness

Pin

Wire Color

Circuit No.

Function

Pin

Wire Color

Circuit No.

Function

1

BN

9

Park Lamp Supply Voltage

1

BN

9

Park Lamp Supply Voltage

2

BK

750

Ground

2

BK

750

Ground

C903 - Right License Lamp to the Liftgate Harness


Object Number: 1413061  Size: CH

Object Number: 1413066  Size: CH

Connector Part Information

  • OEM: 7123-1520
  • Service: See Catalog
  • Description: 2-Way F (NA)

Connector Part Information

  • OEM: 7122-1520
  • Service: See Catalog
  • Description: 2-Way M (NA)

C903 - Right License Lamp to the Liftgate Harness

Pin

Wire Color

Circuit No.

Function

Pin

Wire Color

Circuit No.

Function

1

BN

9

Park Lamp Supply Voltage

1

BN

9

Park Lamp Supply Voltage

2

BK

750

Ground

2

BK

750

Ground

C904 - CHMSL Jumper Harness to the CHMSL Harness


Object Number: 1413061  Size: CH

Object Number: 1413066  Size: CH

Connector Part Information

  • OEM: 7123-1520
  • Service: See Catalog
  • Description: 2-Way F (NA)

Connector Part Information

  • OEM: 7122-1520
  • Service: See Catalog
  • Description: 2-Way M (NA)

C904 - CHMSL Jumper Harness to the CHMSL Harness

Pin

Wire Color

Circuit No.

Function

Pin

Wire Color

Circuit No.

Function

1

L-BU

20

Stop Lamp Switch Signal

1

L-BU

20

Stop Lamp Switch Signal

2

BK

850

Ground

2

BK

850

Ground