GM Service Manual Online
For 1990-2009 cars only
Figure 1:

Front Exterior Lamps


Object Number: 1430193  Size: MF
(1)Right Headlamp Assembly
(2)Park Lamp - RF, LF Similar
(3)Marker Lamp - RF, LF Similar
(4)Turn Signal Lamp - RF, LF Similar
(5)Headlamp - Right, Left Similar
(6)Fog Lamp - RF, LF Similar
Figure 2:

Left Side of the I/P


Object Number: 1415722  Size: LF
(1)Ambient Light Sensor
(2)Instrument Panel Cluster (IPC)
(3)Windshield Wiper/Washer Switch
(4)Traction Control (TC) Switch (JM4 w/FWD)
(5)Hazard Switch
(6)Fog Lamp Switch (T96)
(7)Radio
(8)HVAC Control Module
(9)Power Window Switch - Main
(10)Transmission Range Indicator
(11)Horn Switch/Pad - Part of the Inflatable Restraint Steering Wheel Module
(12)Headlamp Switch
(13)Dimmer Switch
(14)Outside Rearview Mirror Switch
(15)Data Link Connector (DLC)
Figure 3:

Behind the Center of the I/P - Turn Signal Relay Location


Object Number: 1454880  Size: MF
(1)Turn Signal Relay
Figure 4:

Brake Switches


Object Number: 1416089  Size: SF
(1)Cruise/Brake Switch
(2)I/P Harness
(3)Stop Lamp Switch
Figure 5:

Tail Lamp Assembly


Object Number: 1416119  Size: SF
(1)Park/Stop Lamp - LH, RH Similar
(2)Park/Turn Signal Lamp - LH, RH Similar
(3)Backup Lamp - Left, Right Similar
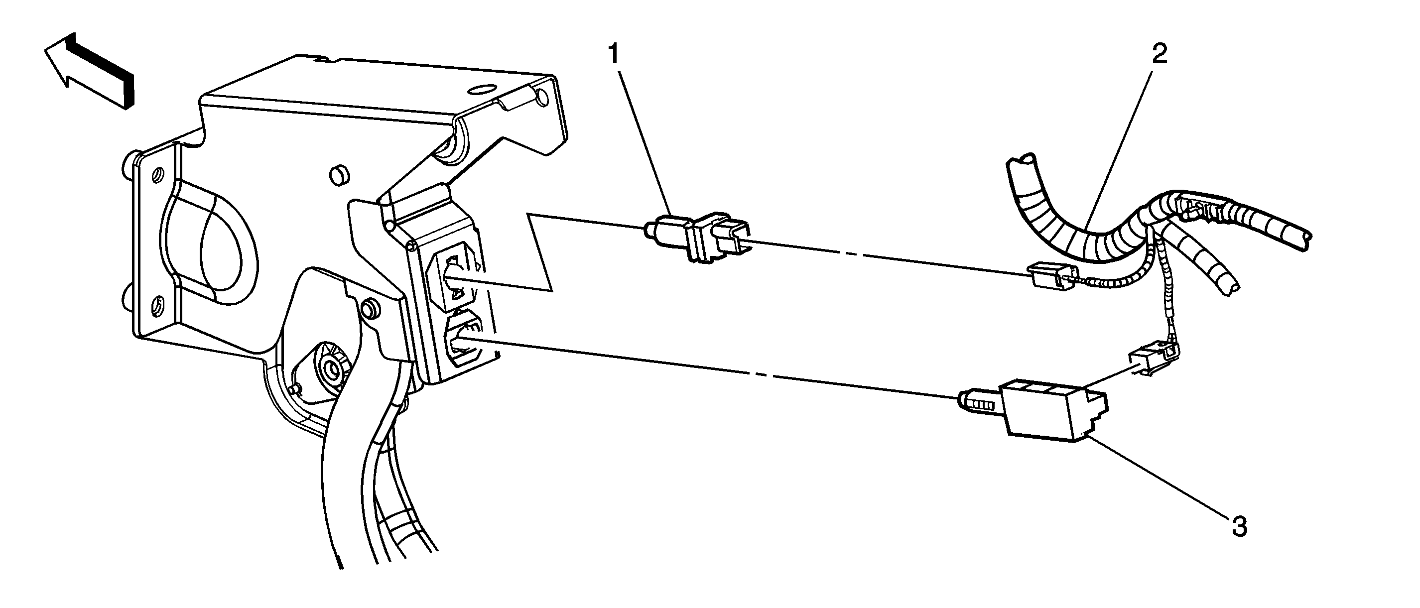
Figure 6:

Trailer Connector Harness


Object Number: 1381495  Size: LF
(1)C312 - Trailer Connector Adapter to the Body Harness
(2)Trailer Connector Adapter
(3)C313 - Trailer Connector Adapter Pigtail
(4)C313 - Trailer Hitch Harness Side
(5)Trailer Connector