GM Service Manual Online
For 1990-2009 cars only
Connector 1: Underhood Fuse Block Label
Connector 2: Underhood Fuse Block Top View
Connector 3: Underhood Fuse Block Bottom View
Connector 4: Fuse Block - Underhood C1
Connector 5: Fuse Block - Underhood C2
Connector 6: Fuse Block - Underhood C3
Connector 7: Fuse Block - Underhood C4
Connector 8: Fuse Block - Underhood C5
Connector 9: I/P Fuse Block Label
Connector 10: I/P Fuse Block Top View
Connector 11: I/P Fuse Block Bottom View
Connector 12: Fuse Block - I/P C1
Connector 13: Fuse Block - I/P C2
Connector 14: Fuse Block - I/P C3

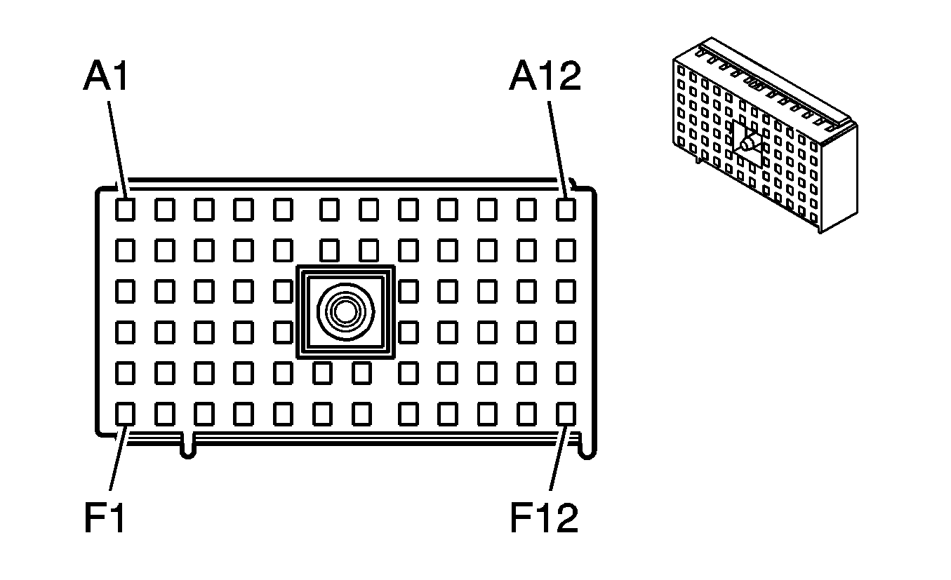
Underhood Fuse Block Label


Object Number: 1653259  Size: MF

Underhood Fuse Block Label Usage

Device

Rating

Description

ABS Fuse

10A

EBCM (JM4)

ABS Fuse

20A

EBCM (JM4)

ABS PWR Fuse

40A

EBCM (JM4)

A/C CLUTCH Fuse

10A

A/C CLUTCH Relay

A/C CLUTCH Relay

--

A/C Compressor Clutch, A/C DIODE

A/C DIODE

--

A/C Compressor Clutch

AUX OUTLETS Fuse

20A

Auxiliary Power Outlet Front and Rear

BACKUP Fuse

10A

PNP Switch

BACKUP LAMP Relay

--

Not Used

BATT FEED Fuse

40A

RADIO, BCM/CLSTR, INT LTS/ONSTAR, HZRD, PARK, LOCK/MIRROR, DR LCK Fuses - I/P Fuse Block

BRAKE Fuse

15A

Stop Lamp Switch

CIGAR Fuse

20A

Cigar Lighter

COOL FAN HI Fuse

25A

COOL FAN HI Relay, Cooling Fan Relay 3

COOL FAN HI Relay

--

Cooling Fan S/P Relay, Cooling Fan - Right

COOL FAN LO Fuse

25A

COOL FAN LO Relay

COOL FAN LO Relay

--

Cooling Fan - Left, PCM

DRL Relay

--

BCM

ECM/TCM Fuse

10A

EVAP Vent Solenoid, PCM, TCM

EMISS Fuse

10A

EVAP Purge Solenoid, Heated Oxygen Sensors, MAF/IAT Sensor

ENG IGN Fuse

15A

ICM

ENG MAIN Relay

--

EMISS Fuse, ETC Fuse, INJ Fuse

ETC Fuse

15A

TAC

FOG LP Relay

--

Fog Lamps

FOG LP Fuse

15A

FOG LP Relay

FRT WIPER Fuse

25A

FRT WIPER Relay, Windshield Wiper Motor, Windshield Wiper/Washer Switch

FRT WIPER Relay

--

BCM

FUEL PUMP Fuse

10A

FUEL PUMP Relay

FUEL PUMP Relay

--

Fuel Pump and Sender Assembly - Primary

FUSE PULLER

--

--

HORN Fuse

15A

HORN Relay

HORN Relay

--

Horn

HTD SEATS Fuse

20A

Driver and Front Passenger Heated Seat Control Modules (KA1)

HVAC BLOWER Fuse

40A

HVAC Blower Motor

IGN Fuse

30A

STARTER Relay

INJ Fuse

10A

Fuel Injectors

LH HDLP Fuse

15A

Left Headlamp

PREM AUD Fuse

20A

Amplifier (U65)

POWER SEATS Circuit Breaker

30A

Seat Adjuster Switch - Driver (AG1)

PWR TRAIN Fuse

10A

PCM, TCM

PWR WDW Fuse

30A

PWR WDW Relay

PWR WDW Relay

--

SUNROOF Fuse, Power Window Switch - Main

REAR DEFOG Relay

--

Rear Defogger Grid

RH HDLP Fuse

15A

Right Headlamp

RR DEFOG Fuse

25A

REAR DEFOG Relay

RR WIPER Fuse

15A

Wiper Motor - Rear, RR WIPER Relay

RR WIPER Relay

--

BCM, Wiper Motor - Rear

STARTER Relay

--

Starter

SUNROOF Fuse

20A

Sunroof Control Module

TRAILER Fuse

20A

Trailer Connector Adapter, DLC

WIPER SYSTEM Relay

--

FRT WIPER Fuse, RR WIPER Fuse

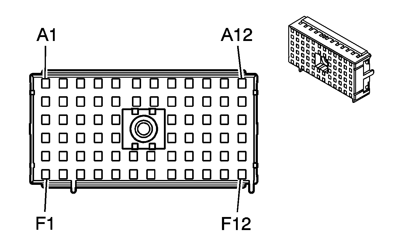
Underhood Fuse Block Top View


Object Number: 1460037  Size: SF

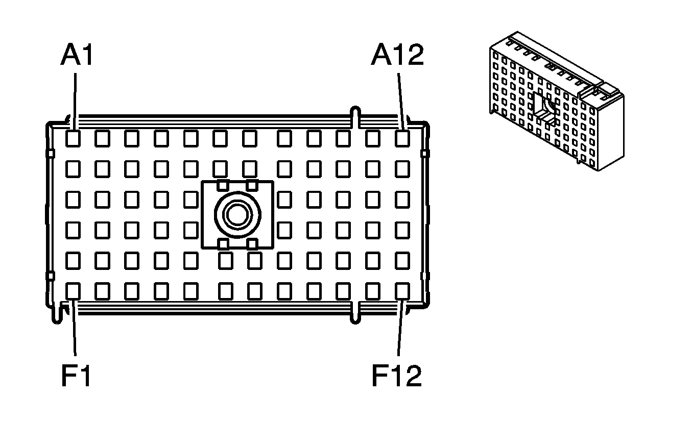
Underhood Fuse Block Bottom View


Object Number: 1267973  Size: MF

Fuse Block - Underhood C1


Object Number: 1413005  Size: CH

Connector Part Information

  • OEM: 15328975
  • Service: 15328983
  • Description: 68-Way F Block Connector (L-GY)

Fuse Block - Underhood C1

Pin

Wire Color

Circuit No.

Function

A1

BN/WH

419

MIL Control

A2

D-BU

473

High Speed Cooling Fan Relay Control

A3

--

--

Not Used

A4

WH

1310

EVAP Canister Vent Solenoid Control

A5

PK/BK

5291

Ignition 1 Voltage

A6-A8

--

--

Not Used

A9

PK

639

Ignition 1 Voltage

A10

PU

6

Starter Solenoid Crank Voltage

A11

PK

239

Ignition 1 Voltage

PK

239

Ignition 1 Voltage

A12

D-GN

335

Low Speed Cooling Fan Relay Control

B1-B4

--

--

Not Used

B5

PK/BK

5291

Ignition 1 Voltage

B6

L-BU

20

Stop Lamp Supply Voltage

L-BU

20

Stop Lamp Supply Voltage

B7

YE

743

Accessory Voltage

YE

743

Accessory Voltage

B8

--

--

Not Used

B9

PK

639

Ignition 1 Voltage

PK

639

Ignition 1 Voltage

B10-B11

--

--

Not Used

B12

YE

447

Starter Relay Coil Control

C1

L-GN

24

Backup Lamp Supply Voltage

C2

--

--

Not Used

C3

TN

2759

Fuel Tank Pressure Sensor Low Reference

C4

PK/BK

5290

Ignition 1 Voltage

C5

PK/BK

5291

Ignition 1 Voltage

C8

BK

150

Ground

C9-C12

--

--

Not Used

D1-D2

--

--

Not Used

D3

BN

5069

Engine Main Relay Coil Control

D4-D5

--

--

Not Used

D8-D9

--

--

Not Used

D10

D-GN/WH

465

Fuel Pump Primary Relay Control

D11

--

--

Not Used

D12

D-GN/WH

459

A/C Compressor Clutch Relay Control

E1

PK

39

Ignition 1 Voltage

E2

--

--

Not Used

E3

PK/BK

5291

Ignition 1 Voltage

E4-E8

--

--

Not Used

E9

RD/WH

1440

Battery Positive Voltage

E10-E12

--

--

Not Used

F1-F3

--

--

Not Used

F4

PU

420

Brake/Cruise Control Release Signal

F5

--

--

Not Used

F6

RD/WH

1440

Battery Positive Voltage

RD/WH

1440

Battery Positive Voltage

F7

PK/BK

5292

Ignition 1 Voltage

F8-F11

--

--

Not Used

F12

D-GN

59

A/C Compressor Clutch Supply Voltage

Fuse Block - Underhood C2


Object Number: 1282883  Size: CH

Connector Part Information

  • OEM: 15328977
  • Service: 15328985
  • Description: 68-Way F Block Connector (GY)

Fuse Block - Underhood C2

Pin

Wire Color

Circuit No.

Function

A1

RD/WH

1540

Battery Positive Voltage (KA1)

RD/WH

1540

Battery Positive Voltage (KA1)

A2

RD/WH

2340

Battery Positive Voltage (U65)

A3

YE

643

Accessory Voltage

A4

D-GN

392

Rear Window Washer Pump Control

A5-A7

--

--

Not Used

A8

D-BU

1201

Headlamp Low Beam Signal

A9

YE

317

Fog Lamp Relay Control (T96)

A10

L-BU

14

Left Turn Signal Lamp Supply Voltage

OG

5186

Left Turn Signal Lamp Supply Voltage

A11

RD/WH

140

Battery Positive Voltage (JM4)

A12

OG

228

Windshield Washer Pump Control

B1-B2

--

--

Not Used

B3

YE

543

Accessory Voltage (CF5)

B4

BN

9

Park Lamp Supply Voltage

BN

9

Park Lamp Supply Voltage

B5

RD/WH

840

Battery Positive Voltage

B6

RD/WH

340

Battery Positive Voltage

RD/WH

340

Battery Positive Voltage

B7

--

--

Not Used

B8

RD/WH

540

Battery Positive Voltage

B9

L-GN/BK

592

DRL Relay Control

B10

PU

293

Rear Defog Element Supply Voltage

B11

WH

193

Rear Defogger Relay Control

B12

D-BU

15

Right Turn Signal Lamp Supply Voltage

YE

5187

Right Turn Signal Lamp Supply Voltage

C1

BN/WH

419

MIL Control

C2

--

--

Not Used

C3

OG/BK

6848

Windshield Wiper Relay Coil Control

C4

PU

420

Torque Converter Clutch Brake Switch Signal

C5

--

--

Not Used

C8

--

--

Not Used

C9

GY

120

Fuel Pump Supply Voltage

C10

--

--

Not Used

C11

PK

1200

Headlamp High Beam Signal

C12

RD/WH

40

Battery Positive Voltage

D1

L-GN

24

Backup Lamp Supply Voltage (DH3/DF5)

D2

YE

196

Windshield Wiper Motor Park Switch Signal

D3

YE

343

Accessory Voltage

D4

YE

5420

Rear Wiper Motor Relay Coil Control

D5

--

--

Not Used

D8

RD/WH

1840

Battery Positive Voltage

RD/WH

1840

Battery Positive Voltage

D9

TN

28

Horn Relay Control

D10-D11

--

--

Not Used

D12

RD/WH

40

Battery Positive Voltage

E1

L-GN

24

Backup Lamp Supply Voltage

L-GN

24

Backup Lamp Supply Voltage

E2

--

--

Not Used

E3

L-BU

97

Windshield Wiper Switch Mist/Off/Low Signal

E4

TN

2759

Fuel Tank Pressure Sensor Low Reference

TN

2759

Fuel Tank Pressure Sensor Low Reference

E5-E6

--

--

Not Used

E7

L-BU

20

Stop Lamp Supply Voltage

E8-E12

--

--

Not Used

F1

WH

393

Rear Window Wiper Motor Control

F2

YE

343

Accessory Voltage

F3

--

--

Not Used

F4

WH

1310

EVAP Canister Vent Solenoid Control

F5

YE

143

Accessory Voltage

F6

--

--

Not Used

F7

YE

743

Accessory Voltage

F8

--

--

Not Used

F9

PK

3

Ignition 1 Voltage

F10

PK

1039

Ignition 1 Voltage (JM4)

F11-F12

--

--

Not Used

Fuse Block - Underhood C3


Object Number: 1282882  Size: CH

Connector Part Information

  • OEM: 15328976
  • Service: 15328984
  • Description: 68-Way F Block Connector (BK)

Fuse Block - Underhood C3

Pin

Wire Color

Circuit No.

Function

A1

--

--

Not Used

A2

GY

532

Cooling Fan Motor Supply Voltage

A3-A12

--

--

Not Used

B1

--

--

Not Used

B2

GY

532

Cooling Fan Motor Supply Voltage

B3

RD/WH

4040

Battery Positive Voltage

B4-B11

--

--

Not Used

B12

PK

1200

Headlamp High Beam Signal

C1

--

--

Not Used

C2

D-BU

473

High Speed Cooling Fan Relay Control

C3-C4

--

--

Not Used

C5

RD/WH

740

Battery Positive Voltage

C8-C10

--

--

Not Used

C11

L-BU

409

Cooling Fan Motor Supply Voltage

C12

PK

1200

Headlamp High Beam Signal

D1-D3

--

--

Not Used

D4

BN

9

Park Lamp Supply Voltage

BN

9

Park Lamp Supply Voltage

D5

--

--

Not Used

D8

--

--

Not Used

D9

RD/WH

640

Battery Positive Voltage

D10

--

--

Not Used

D11

L-BU

14

Left Turn Signal Lamp Supply Voltage

D12

--

--

Not Used

E1-E2

--

--

Not Used

E3

BK

150

Ground

E4

BN

9

Park Lamp Supply Voltage

BN

9

Park Lamp Supply Voltage

E5-E6

--

--

Not Used

E7

GY

589

DRL Resistor Supply Voltage

E8

--

--

Not Used

E9

PU

34

Front Fog Lamp Supply Voltage (T96)

E10-E11

--

--

Not Used

E12

D-BU

15

Right Turn Signal Lamp Supply Voltage

F1-F3

--

--

Not Used

F4

D-GN

392

Rear Window Washer Pump Control

F5

--

--

Not Used

F6

D-GN

29

Horn Control

F7

D-BU

1201

Headlamp Low Beam Signal

F8

D-BU

1201

Headlamp Low Beam Signal

F9

PU

34

Fog Lamp Supply Voltage (T96)

F10-F11

--

--

Not Used

F12

OG

228

Windshield Washer Pump Control

Fuse Block - Underhood C4


Object Number: 1282880  Size: CH

Connector Part Information

  • OEM: 15319799
  • Service: 15306316
  • Description: 2-Way F Maxi-Fuse (L-GN)

Fuse Block - Underhood C4

Pin

Wire Color

Circuit No.

Function

A

RD/WH

240

Battery Positive Voltage (I/P Fuse Block Feed)

B

RD/BK

542

Battery Positive Voltage (AG9/KA1)

Fuse Block - Underhood C5


Object Number: 1282879  Size: CH

Connector Part Information

  • OEM: 15319797
  • Service: 15306236
  • Description: 2-Way F Maxi-Fuse (L-GY)

Fuse Block - Underhood C5

Pin

Wire Color

Circuit No.

Function

A

RD/BK

702

Battery Positive Voltage (JM4)

B

RD/WH

1140

Battery Positive Voltage

I/P Fuse Block Label


Object Number: 1388393  Size: MF

I/P Fuse Block Label Usage

Device

Rating

Description

AIR BAG Fuse

10A

SDM

BCM/CLSTR Fuse

10A

BCM, IPC

BCM (IGN) Fuse

10A

BCM

BCM/ISRVM Fuse

10A

BCM, Inside Rearview Mirror

BCM/HVAC Fuse

10A

BCM, HVAC Control Module

CRUISE Fuse

2A

Cruise/Brake Switch, Steering Wheel Control Switch - Left

DR LCK Fuse

20A

DR LCK, PASS DR UNLOCK, and DRV DR UNLCK Relays

DR LCK Relay

--

Door Latches, Liftgate Latch

DRV DR UNLCK Relay

--

Door Latch - Driver

EPS Fuse

10A

PSCM

HEAD LAMP Relay

--

BCM

HTD SEATS

10A

Heated Seat Control Modules

HVAC BLOWER Relay

--

HVAC Control Module

HZRD Fuse

15A

Hazard Switch

IGN 1 Fuse

10A

A/T Shift Lock Control Solenoid, Fog Lamp Switch, IPC

INT LTS/ONSTAR Fuse

10A

BCM, VCIM (UE1)

LOCK/MIRROR

10A

Digital Radio Receiver (U2K), Door Lock Switches, Outside Rearview Mirror Switch

PARK Fuse

10A

PARK LAMP Relay

PARK LAMP Relay

--

BCM, Transmission Range Indicator

PASS DR UNLOCK Relay

--

Door Latch - Front Passenger, Door Latch - LR, Door Latch - RR, Liftgate Latch

PRNDL/PWR TRAIN Fuse

10A

PWR WDW Relay - Underhood Fuse Bock, WIPER SYSTEM Relay - Underhood Fuse Block, Transmission Range Indicator

RADIO Fuse

15A

HVAC Control Module, Radio

TURN Fuse

15A

Hazard Switch

I/P Fuse Block Top View


Object Number: 1460038  Size: MF

I/P Fuse Block Bottom View


Object Number: 1268926  Size: MF

Fuse Block - I/P C1


Object Number: 1282872  Size: CH

Connector Part Information

  • OEM: 12129527
  • Service: See Catalog
  • Description: 68-Way F Block Connector (D-GY)

Fuse Block - I/P C1

Pin

Wire Color

Circuit No.

Function

A1-A3

--

--

Not Used

A4

L-BU

244

Passenger Door Lock Switch Lock Control

L-BU

244

Passenger Door Lock Switch Lock Control

A5

RD/WH

240

Battery Positive Voltage (From Underhood Fuse Block BATT FEED Fuse)

A6

OG/BK

744

Liftgate Ajar Switch Signal

A7

--

--

Not Used

A8

PK

1200

Headlamp High Beam Signal

A9

YE

5420

Rear Wiper Motor Relay Coil Control

A10

D-BU

1201

Headlamp Low Beam

A11-A12

--

--

Not Used

B1

PK

3

Ignition 1 Voltage

B2

--

--

Not Used

B3

OG

228

Windshield Washer Pump Control

B4-B5

--

--

Not Used

B6

TN

28

Horn Relay Control

B7

BN

141

Ignition 3 Voltage (KA1)

BN

141

Ignition 3 Voltage (KA1)

B8

--

--

Not Used

B9

D-GN

392

Rear Window Washer Pump Control

B10

TN/WH

746

RF Door Ajar Switch Signal

B11

--

--

Not Used

B12

TN

294

Door Lock Actuator Unlock Control

TN

294

Door Lock Actuator Unlock Control

C1-C2

--

--

Not Used

C3

D-BU

15

Right Turn Signal Lamp Supply Voltage

D-GN

619

Right Turn Signal Lamp Supply Voltage

C4

--

--

Not Used

C5

PU

333

Brake Fluid Level Sensor Signal

C8

BN

9

Park Lamp Supply Voltage

BN

9

Park Lamp Supply Voltage

C9

--

--

Not Used

C10

TN

694

Driver Door Lock Actuator Unlock Control

C11

--

--

Not Used

C12

TN

294

Door Lock Actuator Unlock Control

D1

YE

43

Accessory Voltage (DH3/DF5)

D2

RD/WH

440

Battery Positive Voltage

RD/WH

440

Battery Positive Voltage

D3

L-BU

14

Left Turn Signal Lamp Supply Voltage

YE

618

Left Turn Signal Lamp Supply Voltage

D4

D-BU

245

Passenger Door Lock Switch Unlock Control

D-BU

245

Passenger Door Lock Switch Unlock Control

D5

--

--

Not Used

D8

BN

9

Park Lamp Supply Voltage

BN

9

Park Lamp Supply Voltage

D9

--

--

Not Used

D10

TN

294

Door Lock Actuator Unlock Control

D11-D12

--

--

Not Used

E1

WH

156

Courtesy Lamp Switch Signal

E2

RD/WH

440

Battery Positive Voltage

RD/WH

440

Battery Positive Voltage (U2K)

E3-E8

--

--

Not Used

E9

L-GN/BK

592

DRL Relay Control

E10

GY

295

Door Lock Actuator Lock Control

E11

--

--

Not Used

E12

BK

650

Ground

F1

WH

193

Rear Defogger Relay Control

F2

YE

743

Accessory Voltage

F3

--

--

Not Used

F4

GY/BK

745

LF Door Ajar Switch Signal

F5

--

--

Not Used

F6

OG

1732

Courtesy Lamps Supply Voltage

F7

YE

317

Fog Lamp Relay Control (T96)

F8-F9

--

--

Not Used

F10

GY

295

Door Lock Actuator Lock Control

GY

295

Door Lock Actuator Lock Control

F11

--

--

Not Used

F12

GY

295

Door Lock Actuator Lock Control

GY

295

Door Lock Actuator Lock Control

Fuse Block - I/P C2


Object Number: 1282870  Size: CH

Connector Part Information

  • OEM: 12129535
  • Service: 12129535
  • Description: 24-Way F ACT 280 Series (BK)

Fuse Block - I/P C2

Pin

Wire Color

Circuit No.

Function

A1-A2

--

--

Not Used

A3

GY

8

Instrument Panel Lamps Supply Voltage

GY

8

Instrument Panel Lamps Supply Voltage (K34/UK3)

A4

GY

8

Instrument Panel Lamps Supply Voltage (T96)

GY

8

Instrument Panel Lamps Supply Voltage (NW9)

A5

GY

8

Instrument Panel Lamps Supply Voltage

GY

8

Instrument Panel Lamps Supply Voltage

A6

GY

8

Instrument Panel Lamps Supply Voltage

GY

8

Instrument Panel Lamps Supply Voltage

B1-B6

--

--

Not Used

C1

--

--

Not Used

C2

BN

9

Park Lamps Supply Voltage

C3

BN

9

Park Lamps Supply Voltage

C4

OG

1732

Courtesy Lamps Supply Voltage

C5

--

--

Not Used

C6

L-BU

195

Door Lock Control

D1-D6

--

--

Not Used

Fuse Block - I/P C3


Object Number: 1282873  Size: CH

Connector Part Information

  • OEM: 12146035
  • Service: 12146036
  • Description: 68-Way F Block Connector (BK)

Fuse Block - I/P C3

Pin

Wire Color

Circuit No.

Function

A1

--

--

Not Used

A2

TN/WH

746

RF Door Ajar Switch Signal

A3

L-GN/BK

592

DRL Relay Control

A4

RD/WH

1640

Battery Positive Voltage

RD/WH

1640

Battery Positive Voltage (UE1)

A5

RD/WH

2140

Battery Positive Voltage

A6

PK

1200

Headlamp High Beam Signal

PK

1200

Headlamp High Beam Signal

A7

YE

268

Blower Motor Relay Common

A8

BK

550

Ground

A9

L-BU

244

Passenger Door Lock Switch Lock Control

A10

OG

228

Windshield Washer Pump Control

OG

228

Windshield Washer Pump Control

A11

YE

743

Accessory Voltage

A12

PK

1339

Ignition 1 Voltage

PK

1339

Ignition 1 Voltage (K34/UK3)

B1

L-GN

1391

Left Front Door Lock Relay Control

B2-B5

--

--

Not Used

B6

OG/BK

744

Liftgate Ajar Switch Signal

B7

OG

300

Ignition 3 Voltage

B9

D-BU

245

Passenger Door Lock Switch Unlock Control

B10-B12

--

--

Not Used

C1

--

--

Not Used

C2

D-BU

1201

Headlamp Low Beam Signal

D-BU

1201

Headlamp Low Beam Signal

C3

YE

5420

Rear Wiper Motor Relay Coil Control

C4-C5

--

--

Not Used

C8

PU

333

Brake Fluid Level Sensor Signal

C9

TN

28

Horn Relay Control

TN

28

Horn Relay Control

C10

YE

43

Accessory Voltage

C11

PK

339

Ignition 1 Voltage

C12

PK

739

Ignition 1 Voltage

D1

BK

550

Ground

D2

WH

352

Headlamp Relay Coil Supply Voltage

D3

WH

1080

Park Lamp Relay Control

D4-D5

--

--

Not Used

D8

--

--

Not Used

D9

BN

41

Ignition 3 Voltage

BN

41

Ignition 3 Voltage

D10-D12

--

--

Not Used

E1

PK

139

Ignition 1 Voltage

E2

WH

194

Door Unlock Control

E3

D-GN

392

Rear Window Washer Pump Control

D-GN

392

Rear Window Washer Pump Control

E4

YE

317

Fog Lamp Relay Control (T96)

YE

317

Fog Lamp Relay Control (T96)

E5

RD/WH

2540

Battery Positive Voltage

E6

--

--

Not Used

E7

D-BU

15

Right Turn Signal Lamp Supply Voltage

E8

L-BU

14

Left Turn Signal Lamp Supply Voltage

E9

--

--

Not Used

E10

YE

243

Accessory Voltage

E11

PK

539

Ignition 1 Voltage

E12

PK

139

Ignition 1 Voltage (T96)

F1

PK

139

Ignition 1 Voltage

F2

GY

691

Headlamp Relay Output

F3

RD/WH

2540

Battery Positive Voltage

F4

WH

156

Courtesy Lamp Switch Signal

F5

--

--

Not Used

F6

RD/WH

1040

Battery Positive Voltage

F7

D-BU

15

Right Turn Signal Lamp Supply Voltage

D-BU

15

Right Turn Signal Lamp Supply Voltage

F8

L-BU

14

Left Turn Signal Lamp Supply Voltage

L-BU

14

Left Turn Signal Lamp Supply Voltage

F9

GY/BK

745

LF Door Ajar Switch Signal

F10

BN

4

Accessory Voltage

F11

WH

193

Rear Defog Relay Control

WH

193

Rear Defog Relay Control

F12

PK

3

Ignition 1 Voltage