 
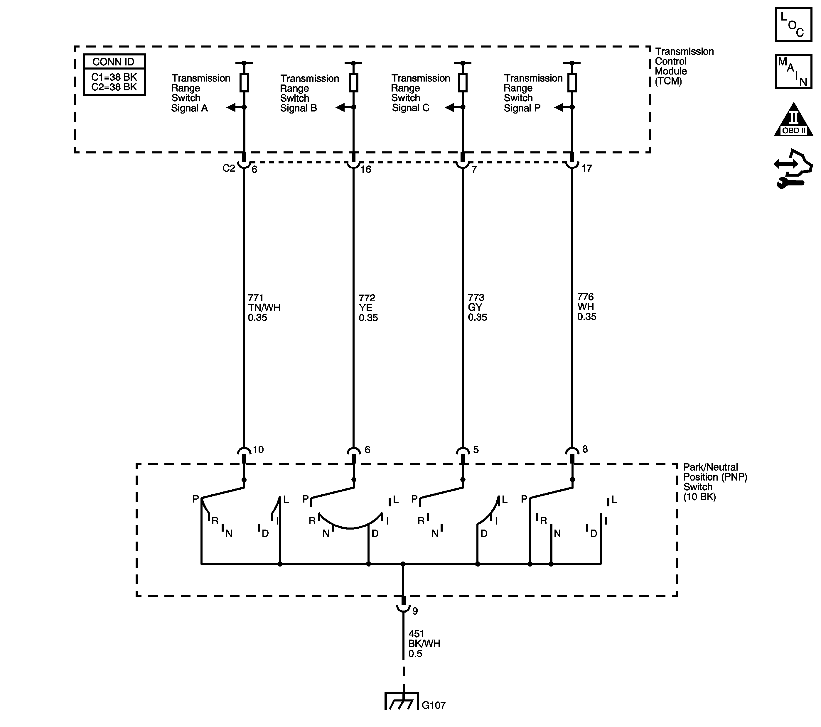
The transmission range (TR) switch is part of the park/neutral position and back-up lamp switch assembly and is mounted on the transmission manual shaft. The TR switch is a multi-signal switch. The transmission control module (TCM) supplies voltage to the TR switch. Each gear selector lever position grounds one or more of the signal circuits in a unique pattern. In order to determine the gear range selected by the driver, the TCM compares the voltage combination on the signal circuits to a TR switch combination table stored in memory. Refer to Transmission Range Switch Logic .
When the TCM detects an invalid combination of TR switch signals, then DTC P0705 sets. DTC P0705 is a type A DTC.
This diagnostic procedure supports the following DTC:
DTC P0705 Transmission Range (TR) Switch Circuit
| • | The system voltage is 8-18 volts. | 
| • | The engine is running. | 
The combination of TR switch signals is invalid for 5 seconds. Refer to Transmission Range Switch Logic .
| • | The TCM requests the powertrain control module (PCM) to illuminate the malfunction indicator lamp (MIL). | 
| • | The TCM turns the Trans. Protection Mode ON. | 
| • | The transmission will operate in 5th gear when the transmission is shifted into D. | 
| • | The line pressure is at maximum. | 
| • | The torque converter clutch (TCC) is disabled. | 
| • | The TCM freezes the transmission adaptive functions. | 
| • | The PCM records the operating conditions when the Condition for Setting the DTC are met. The PCM stores this information as Freeze Frame and Failure Records. | 
| • | The TCM records the operating conditions when the Conditions for Setting the DTC are met. The TCM stores this information as Failure Records. | 
| • | The TCM stores DTC P0705 in TCM history. | 
| • | The PCM turns off the MIL after the third consecutive drive trip in which the TCM does not send a MIL illumination request. | 
| • | A scan tool can clear the MIL/DTC. | 
| • | The TCM clears the DTC from TCM history if the vehicle completes 40 warm-up cycles without an emission-related diagnostic fault occurring. | 
| • | The TCM cancels the DTC default actions when the ignition switch is OFF long enough in order to power down the TCM. | 
The numbers below refer to the step numbers on the diagnostic table.
By disconnecting the TR switch, the ground path for all TR switch circuits would be removed and the TCM should recognize all circuits as open. The scan tool should display HI for all range signals.
This step tests the TR switch wiring for an open or lack of signal voltage from the TCM.
This step tests the TR switch wiring and the TCM by providing a ground path through a fused jumper wire. When grounded, the scan tool range signal A should change to LOW.
This step tests the TR switch wiring and the TCM by providing a ground path through a fused jumper wire. When grounded, the scan tool range signal B should change to LOW.
This step tests the TR switch wiring and the TCM by providing a ground path through a fused jumper wire. When grounded, the scan tool range signal C should change to LOW.
| Step | Action | Values | Yes | No | ||||||||||||||||
|---|---|---|---|---|---|---|---|---|---|---|---|---|---|---|---|---|---|---|---|---|
| 1 | Did you perform the Diagnostic System Check - Vehicle? | -- | Go to Step 2 | |||||||||||||||||
| 2 | 
 Important: Before clearing the DTC, use the scan tool in order to record the Freeze Frame and Failure Records. Using the Clear Eng./Trans. DTC Info function erases the Freeze Frame and Failure Records from the transmission control module (TCM). Does each selected transmission range match the scan tool TR Sw. display? | -- | Go to Testing for Intermittent Conditions and Poor Connections | Go to Step 3 | ||||||||||||||||
| 3 | 
 
 
 
 
 
 
 
 
 Did you find and correct a condition? | -- | Go to Step 16 | Go to Step 4 | ||||||||||||||||
| 4 | With the scan tool, observe the TR Sw. A/B/C/P display. Does the scan tool TR Sw. A/B/C/P parameter indicate HI for all range signal states? | -- | Go to Step 13 | Go to Step 5 | ||||||||||||||||
| 
 Does the scan tool TR Sw. A/B/C/P parameter indicate HI for all range signal states? | -- | Go to Step 6 | Go to Step 10 | |||||||||||||||||
| 
 Does the voltage measure within the specified range at all 4 terminals? | 10-12 V | Go to Step 7 | Go to Step 11 | |||||||||||||||||
| Connect a fused jumper wire from the TR switch 10-way connector, signal A circuit, to the ground while monitoring the scan tool TR Sw. A/B/C/P parameter. When the signal A circuit is jumpered to ground, do any other signal circuits indicate LOW? | -- | Go to Step 12 | Go to Step 8 | |||||||||||||||||
| Connect a fused jumper wire from the TR switch 10-way connector, signal B circuit, to ground while monitoring the scan tool TR Sw. A/B/C/P parameter. When the signal B circuit is jumpered to ground, do any other signal circuits indicate LOW? | -- | Go to Step 12 | Go to Step 9 | |||||||||||||||||
| Connect a fused jumper wire from the TR switch 10-way connector, signal C circuit, to ground while monitoring the scan tool TR Sw. A/B/C/P parameter. When the signal C circuit is jumpered to ground, do any other signal circuits indicate LOW? | -- | Go to Step 12 | Go to Step 14 | |||||||||||||||||
| 10 | Test the signal circuits of the TR switch that did not indicate HIGH for a short to GND. Refer to Testing for Short to Ground and Wiring Repairs . Did you find and correct the condition? | -- | Go to Step 16 | Go to Step 15 | ||||||||||||||||
| 11 | Test the signal circuits of the TR switch that did not indicate proper voltage for an open. Refer to Testing for Continuity and Wiring Repairs . Did you find and correct the condition? | -- | Go to Step 16 | Go to Step 15 | ||||||||||||||||
| 12 | Test the affected signal circuits of the TR switch for a shorted together condition. Refer to Circuit Testing and Wiring Repairs . Did you find and correct the condition? | -- | Go to Step 16 | Go to Step 15 | ||||||||||||||||
| 13 | Test the ground circuit of the TR switch for an open, or high resistance. Refer to Testing for Continuity and Wiring Repairs . Did you find and correct the condition? | -- | Go to Step 16 | Go to Step 14 | ||||||||||||||||
| 14 | Replace the TR switch. Refer to Transmission Range Switch Replacement . Did you complete the replacement? | -- | Go to Step 16 | -- | ||||||||||||||||
| 15 | Replace the TCM. Refer to Control Module References for replacement, setup, and programming. Did you complete the replacement? | -- | Go to Step 16 | -- | ||||||||||||||||
| 16 | Perform the following procedure in order to verify the repair: 
 Does the DTC reset? | -- | Go to Step 2 | Go to Step 17 | ||||||||||||||||
| 17 | With the scan tool, observe the stored information, capture info and DTC info. Does the scan tool display any DTCs that you have not diagnosed? | -- | System OK |