GM Service Manual Online
For 1990-2009 cars only

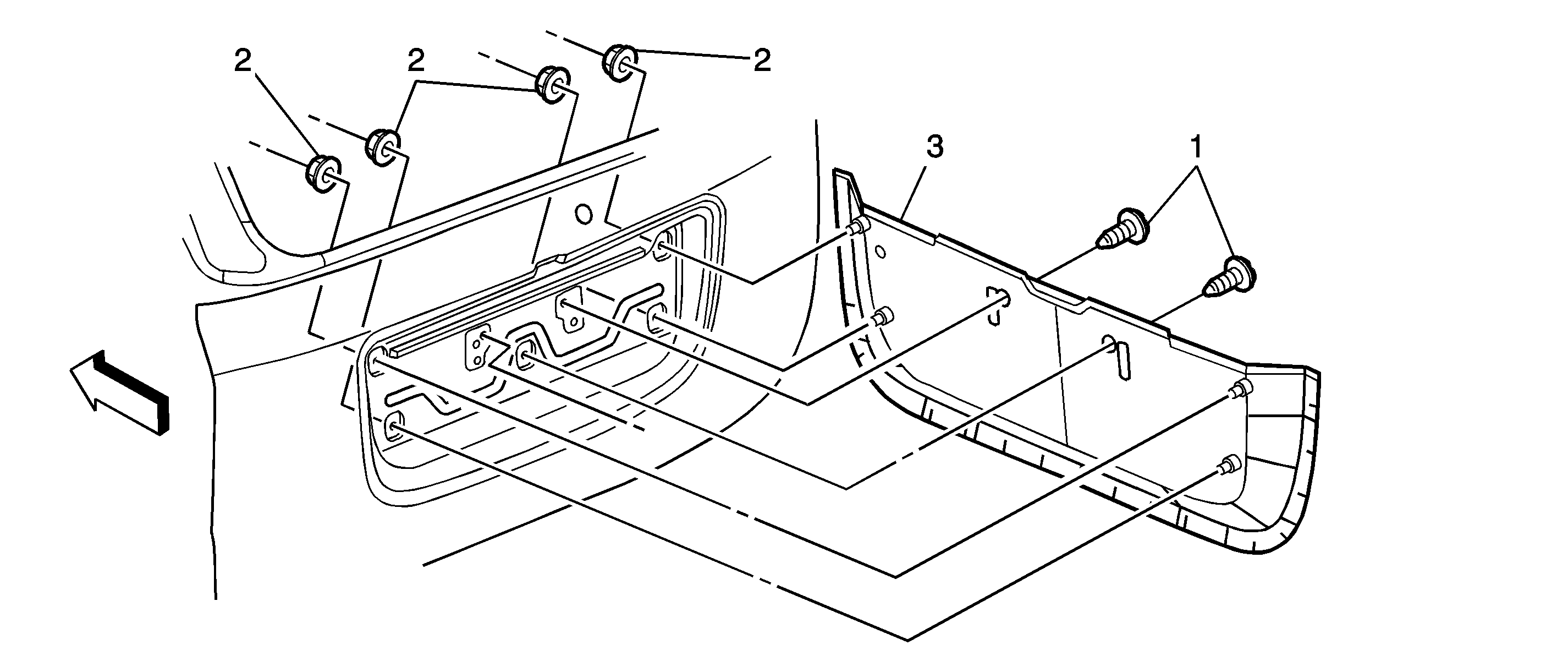
Object Number: 1715252  Size: SF

Callout

Component Name

Notice: Refer to Fastener Notice in the Preface section.

Fastener Tightening Specifications: Refer to Fastener Tightening Specifications .

Preliminary Procedure

Remove the liftgate interior trim panel. Refer to Liftgate Trim Panel Replacement.

1

License Plate Pocket Screw (Qty: 2)

Tighten
2 N·m (18 lb in)

2

License Plate Pocket Nut (Qty: 4)

Tighten
2 N·m (18 lb in)

3

License Plate Pocket Assembly