GM Service Manual Online
For 1990-2009 cars only
Connector 1: A/C Compressor Clutch
Connector 2: A/C Refrigerant Pressure Sensor
Connector 3: Accelerator Pedal Position (APP) Sensor
Connector 4: Accessory Power Outlet - Center Console 1
Connector 5: Air Temperature Actuator
Connector 6: Ambient Air Temperature Sensor (UH8)
Connector 7: Ambient Light Sensor
Connector 8: Audio Amplifier X1 (U65)
Connector 9: Audio Amplifier X2 (U65)
Connector 10: Audio Amplifier X3 (U65)
Connector 11: Audio/Video Adapter (UUC)
Connector 12: Automatic Transmission (MH2/MH4)
Connector 13: Automatic Transmission Input Shaft Speed (ISS) Sensor (M09/M45)
Connector 14: Automatic Transmission Input Shaft Speed (ISS) Sensor (MH2/MH4)
Connector 15: Automatic Transmission Internal Mode Switch (IMS) (MH2/MH4)
Connector 16: Automatic Transmission Output Shaft Speed (OSS) Sensor (M09/M45)
Connector 17: Automatic Transmission Output Shaft Speed (OSS) Sensor (MH2/MH4)
Connector 18: Automatic Transmission Shift Lock Control Solenoid
Connector 19: Backup Lamp - Left (Chevrolet)
Connector 20: Backup Lamp - Left (Pontiac)
Connector 21: Backup Lamp - Right (Chevrolet)
Connector 22: Backup Lamp - Right (Pontiac)
Connector 23: Battery (-)
Connector 24: Battery (+)
Connector 25: Battery Current Sensor
Connector 26: Blower Motor
Connector 27: Blower Motor Control Module X1
Connector 28: Blower Motor Control Module X2
Connector 29: Body Control Module (BCM) X1
Connector 30: Body Control Module (BCM) X2
Connector 31: Body Control Module (BCM) X3
Connector 32: Body Control Module (BCM) X4
Connector 33: Body Control Module (BCM) X5
Connector 34: Body Control Module (BCM) X6
Connector 35: Body Control Module (BCM) X7
Connector 36: Brake Fluid Level Switch
Connector 37: Brake Pedal Position (BPP) Sensor
Connector 38: Camshaft Position (CMP) Actuator Solenoid Valve - Bank 1 Exhaust (LY7)
Connector 39: Camshaft Position (CMP) Actuator Solenoid Valve - Bank 1 Intake (LY7)
Connector 40: Camshaft Position (CMP) Actuator Solenoid Valve - Bank 2 Exhaust (LY7)
Connector 41: Camshaft Position (CMP) Actuator Solenoid Valve - Bank 2 Intake (LY7)
Connector 42: Camshaft Position (CMP) Sensor (LNJ)
Connector 43: Camshaft Position (CMP) Sensor - Bank 1 Exhaust (LY7)
Connector 44: Camshaft Position (CMP) Sensor - Bank 1 Intake (LY7)
Connector 45: Camshaft Position (CMP) Sensor - Bank 2 Exhaust (LY7)
Connector 46: Camshaft Position (CMP) Sensor - Bank 2 Intake (LY7)
Connector 47: Cargo Lamp
Connector 48: Cellular and Navigation Antenna (UE1)/Digital Radio Antenna (U2K)
Connector 49: Cellular Telephone Microphone (UE1)/Noise Compensation Microphone (U3U)
Connector 50: Center High Mounted Stop Lamp (CHMSL)
Connector 51: Cigar Lighter (DT4)/Accessory Power Outlet - Center Console 2 (without DT4)
Connector 52: Crankshaft Position (CKP) Sensor (LNJ)
Connector 53: Crankshaft Position (CKP) Sensor (LY7)
Connector 54: Data Link Connector (DLC)
Connector 55: Data Link Resistor (MH2/M09)
Connector 56: Digital Radio Receiver (U2K)
Connector 57: Dome Lamp (UUC)
Connector 58: Dome Lamp (without UUC)
Connector 59: Dome Lamp Switch (UUC)
Connector 60: Door Latch - Driver
Connector 61: Door Latch - Left Rear
Connector 62: Door Latch - Passenger
Connector 63: Door Latch - Right Rear
Connector 64: Door Lock Switch - Driver
Connector 65: Door Lock Switch - Passenger
Connector 66: Driver Information Center (DIC) Switch
Connector 67: Electric Power Steering (EPS) Module X1 (LNJ)
Connector 68: Electric Power Steering (EPS) Module X2 (LNJ)
Connector 69: Electric Power Steering (EPS) Module X3 (LNJ)
Connector 70: Electric Power Steering (EPS) Module X4 (LNJ)
Connector 71: Electric Power Steering (EPS) Module X5 (LNJ)
Connector 72: Electronic Brake Control Module (EBCM)
Connector 73: Electronic Compass Module (U80)
Connector 74: Engine Control Module (ECM) X1 (LNJ)
Connector 75: Engine Control Module (ECM) X1 (LY7)
Connector 76: Engine Control Module (ECM) X2 (LNJ)
Connector 77: Engine Control Module (ECM) X2 (LY7)
Connector 78: Engine Coolant Temperature (ECT) Sensor (LNJ)
Connector 79: Engine Coolant Temperature (ECT) Sensor (LY7)
Connector 80: Engine Cooling Fan - Left
Connector 81: Engine Cooling Fan - Right
Connector 82: Engine Oil Pressure (EOP) Switch (LNJ)
Connector 83: Engine Oil Pressure (EOP) Switch (LY7)
Connector 84: Evaporative Emission (EVAP) Canister Purge Solenoid Valve (LNJ)
Connector 85: Evaporative Emission (EVAP) Canister Purge Solenoid Valve (LY7)
Connector 86: Evaporative Emission (EVAP) Canister Vent Solenoid Valve
Connector 87: Evaporator Temperature Sensor
Connector 88: Exhaust Gas Recirculation (EGR) Valve (LNJ)
Connector 89: Fog Lamp - Left Front (T96)
Connector 90: Fog Lamp - Right Front (T96)
Connector 91: Fuel Injector 1 (LNJ)
Connector 92: Fuel Injector 1 (LY7)
Connector 93: Fuel Injector 2 (LNJ)
Connector 94: Fuel Injector 2 (LY7)
Connector 95: Fuel Injector 3 (LNJ)
Connector 96: Fuel Injector 3 (LY7)
Connector 97: Fuel Injector 4 (LNJ)
Connector 98: Fuel Injector 4 (LY7)
Connector 99: Fuel Injector 5 (LNJ)
Connector 100: Fuel Injector 5 (LY7)
Connector 101: Fuel Injector 6 (LNJ)
Connector 102: Fuel Injector 6 (LY7)
Connector 103: Fuel Pump and Sender Assembly
Connector 104: Fuel Tank Pressure (FTP) Sensor
Connector 105: Generator X1
Connector 106: Generator X2
Connector 107: Hazard Warning Switch
Connector 108: Headlamp - Left (Chevrolet)
Connector 109: Headlamp - Left (Pontiac)
Connector 110: Headlamp - Right (Chevrolet)
Connector 111: Headlamp - Right (Pontiac)
Connector 112: Headlamp Dimmer Switch
Connector 113: Heated Oxygen Sensor (HO2S) 1 (LNJ)
Connector 114: Heated Oxygen Sensor (HO2S) 2 (LNJ)
Connector 115: Heated Oxygen Sensor (HO2S) - Bank 1 Sensor 1 (LY7)
Connector 116: Heated Oxygen Sensor (HO2S) - Bank 1 Sensor 2 (LY7)
Connector 117: Heated Oxygen Sensor (HO2S) - Bank 2 Sensor 1 (LY7)
Connector 118: Heated Oxygen Sensor (HO2S) - Bank 2 Sensor 2 (LY7)
Connector 119: Heated Seat Control Module X1 (KA1)
Connector 120: Heated Seat Control Module X2 (KA1)
Connector 121: Heated Seat Control Module X3 (KA1)
Connector 122: Heated Seat Control Module X4 (KA1)
Connector 123: Heated Seat Element - Driver Back (KA1)
Connector 124: Heated Seat Element - Driver Cushion (KA1)
Connector 125: Heated Seat Element - Passenger Back (KA1)
Connector 126: Heated Seat Element - Passenger Cushion (KA1)
Connector 127: Hood Ajar Switch (AP3)
Connector 128: Horn
Connector 129: Horn Switch
Connector 130: HVAC Control Module - X1
Connector 131: HVAC Control Module - X2
Connector 132: Ignition Coil 1 (LY7)
Connector 133: Ignition Coil 2 (LY7)
Connector 134: Ignition Coil 3 (LY7)
Connector 135: Ignition Coil 4 (LY7)
Connector 136: Ignition Coil 5 (LY7)
Connector 137: Ignition Coil 6 (LY7)
Connector 138: Ignition Control Module (ICM) (LNJ)
Connector 139: Ignition Lock Cylinder Control Solenoid
Connector 140: Ignition Switch
Connector 141: Inflatable Restraint Front End Sensor - Left
Connector 142: Inflatable Restraint Front End Sensor - Right
Connector 143: Inflatable Restraint Front Passenger Presence System (PPS) Module
Connector 144: Inflatable Restraint I/P Module X1
Connector 145: Inflatable Restraint I/P Module X2
Connector 146: Inflatable Restraint I/P Module Indicator
Connector 147: Inflatable Restraint Roof Rail Module - Left (ASF)
Connector 148: Inflatable Restraint Roof Rail Module - Right (ASF)
Connector 149: Inflatable Restraint Sensing and Diagnostic Module (SDM) (ASF)
Connector 150: Inflatable Restraint Sensing and Diagnostic Module (SDM) (without ASF)
Connector 151: Inflatable Restraint Side Impact Sensor (SIS) - Left (ASF)
Connector 152: Inflatable Restraint Side Impact Sensor (SIS) - Right (ASF)
Connector 153: Inflatable Restraint Steering Wheel Module X1
Connector 154: Inflatable Restraint Steering Wheel Module X2
Connector 155: Inflatable Restraint Steering Wheel Module Coil X1
Connector 156: Inflatable Restraint Steering Wheel Module Coil X2
Connector 157: Inflatable Restraint Steering Wheel Module Coil X3
Connector 158: Inflatable Restraint Vehicle Rollover Sensor (ASF)
Connector 159: Infrared Transmitter (UUC)
Connector 160: Inside Rearview Mirror (ISRVM)
Connector 161: Instrument Panel Cluster (IPC)
Connector 162: Knock Sensor (KS) 1
Connector 163: Knock Sensor (KS) 2
Connector 164: License Lamp - Left
Connector 165: License Lamp - Right
Connector 166: Liftgate Latch
Connector 167: Liftgate Release Switch
Connector 168: Manifold Absolute Pressure (MAP) Sensor (LNJ)
Connector 169: Marker Lamp - Left Front (Chevrolet)
Connector 170: Marker Lamp - Left Front (Pontiac)
Connector 171: Marker Lamp - Left Rear
Connector 172: Marker Lamp - Right Front (Chevrolet)
Connector 173: Marker Lamp - Right Front (Pontiac)
Connector 174: Marker Lamp - Right Rear
Connector 175: Mass Air Flow (MAF)/Intake Air Temperature (IAT) Sensor (LNJ)
Connector 176: Mass Air Flow (MAF)/Intake Air Temperature (IAT) Sensor (LY7)
Connector 177: Mode Actuator
Connector 178: Outside Rearview Mirror - Driver (DK2)
Connector 179: Outside Rearview Mirror - Driver (without DK2)
Connector 180: Outside Rearview Mirror - Passenger (DK2)
Connector 181: Outside Rearview Mirror - Passenger (without DK2)
Connector 182: Outside Rearview Mirror Switch
Connector 183: Overhead Console Courtesy/Reading Lamps
Connector 184: Park Brake Switch
Connector 185: Park Lamp - Left Front (Chevrolet)
Connector 186: Park Lamp - Right Front (Chevrolet)
Connector 187: Park Position Switch
Connector 188: Park/Turn Signal Lamp - Left Front (Pontiac)
Connector 189: Park/Turn Signal Lamp - Left Rear
Connector 190: Park/Turn Signal Lamp - Right Front (Pontiac)
Connector 191: Park/Turn Signal Lamp - Right Rear
Connector 192: Radio X1
Connector 193: Radio X2
Connector 194: Radio X3 (UUC)
Connector 195: Radio X4 (U3U)
Connector 196: Rear Differential Clutch Control Module X1 (MH4/M45)
Connector 197: Rear Differential Clutch Control Module X2 (MH4/M45)
Connector 198: Rear Wheel Drive Module Clutch (MH4/M45)
Connector 199: Rear Window Defogger Grid X1
Connector 200: Rear Window Defogger Grid X2
Connector 201: Rear Window Wiper Motor
Connector 202: Rear Window Wiper/Washer/Fog Lamp Switch
Connector 203: Recirculation Actuator
Connector 204: Remote Control Door Lock Receiver (RCDLR)
Connector 205: Seat Adjuster Switch - Driver (AG1)
Connector 206: Seat Belt Buckle - Driver
Connector 207: Seat Belt Buckle - Passenger
Connector 208: Seat Belt Pretensioner - Left
Connector 209: Seat Belt Pretensioner - Right
Connector 210: Seat Front Vertical Motor - Driver (AG1)
Connector 211: Seat Rear Vertical Motor - Driver (AG1)
Connector 212: Speaker - Left Front
Connector 213: Speaker - Left Rear
Connector 214: Speaker - Left Tweeter
Connector 215: Speaker - Right Front
Connector 216: Speaker - Right Rear
Connector 217: Speaker - Right Tweeter
Connector 218: Speaker - Subwoofer (U65)
Connector 219: Starter Motor X1
Connector 220: Starter Motor X2 (Battery Positive Cable)
Connector 221: Starter Motor X2 (Engine)
Connector 222: Steering Angle Sensor (LY7)
Connector 223: Steering Wheel Control Switch - Left (Chevy with K34)
Connector 224: Steering Wheel Control Switch - Left (Pontiac with K34)
Connector 225: Steering Wheel Control Switch - Right (Chevy with UK3)
Connector 226: Steering Wheel Control Switch - Right (Pontiac with UK3)
Connector 227: Sunroof Control Module (CF5)
Connector 228: Sunroof Switch (CF5)
Connector 229: Tail/Stop Lamp - Left
Connector 230: Tail/Stop Lamp - Right
Connector 231: Theft Deterrent Module (TDM)
Connector 232: Throttle Body (LNJ)
Connector 233: Throttle Body (LY7)
Connector 234: Traction Control Switch (TCS)
Connector 235: Trailer Connector (V92)
Connector 236: Transmission Control Module (TCM) X1 (M09/M45)
Connector 237: Transmission Control Module (TCM) X2 (M09/M45)
Connector 238: Turn Signal Lamp - Left Front (Chevrolet)
Connector 239: Turn Signal Lamp - Right Front (Chevrolet)
Connector 240: Turn Signal/Multifunction Switch X1
Connector 241: Turn Signal/Multifunction Switch X2
Connector 242: Vehicle Communication Interface Module (VCIM) X1 (UE1)
Connector 243: Vehicle Communication Interface Module (VCIM) X2 (UE1)
Connector 244: Vehicle Communication Interface Module (VCIM) X3 (UE1 with U3U)
Connector 245: Vehicle Communication Interface Module (VCIM) Battery (UE1)
Connector 246: Video Display (UUC)
Connector 247: Wheel Speed Sensor (WSS) - Left Front
Connector 248: Wheel Speed Sensor (WSS) - Left Rear
Connector 249: Wheel Speed Sensor (WSS) - Right Front
Connector 250: Wheel Speed Sensor (WSS) - Right Rear
Connector 251: Window Motor - Driver
Connector 252: Window Motor - Left Rear
Connector 253: Window Motor - Passenger
Connector 254: Window Motor - Right Rear
Connector 255: Window Switch - Driver X1
Connector 256: Window Switch - Driver X2
Connector 257: Window Switch - Left Rear
Connector 258: Window Switch - Right Rear
Connector 259: Windshield Washer Fluid Pump
Connector 260: Windshield Wiper Motor
Connector 261: Windshield Wiper/Washer Switch
Connector 262: Yaw and Lateral Accelerometer Sensor

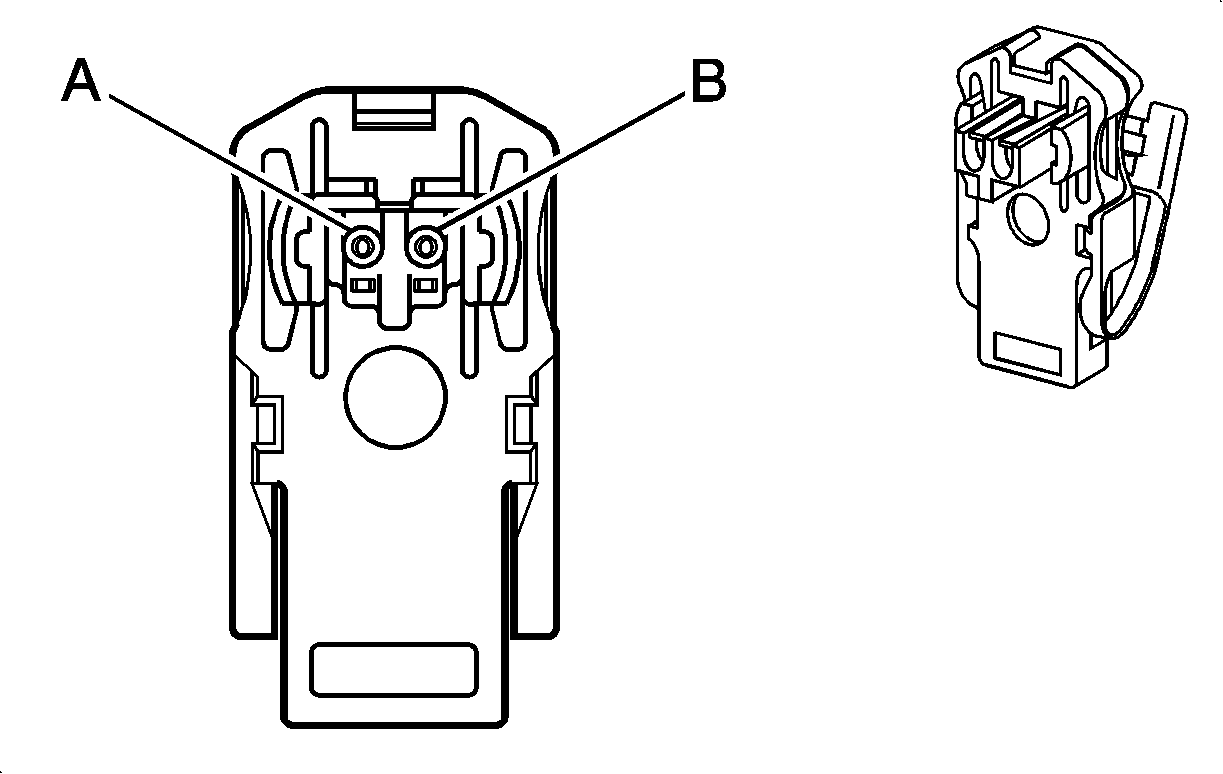
A/C Compressor Clutch


Object Number: 1413014  Size: CH

Connector Part Information

  • OEM: 7283-5448
  • Service: 89046838
  • Description: 2-Way F Sealed (BK)

Terminal Part Information

  • Terminal/Tray: 7116-4103-08/9
  • Core/Insulation Crimp: E/1
  • Release Tool/Test Probe: 12094430/J-35616-2A (GY)

A/C Compressor Clutch

Pin

Wire

Circuit

Function

1

0.5 D-GN

59

A/C Compressor Clutch Control

2

0.8 BK

450

Ground (LNJ)

0.5 BK

150

Ground (LY7)

A/C Refrigerant Pressure Sensor


Object Number: 258299  Size: CH

Connector Part Information

  • OEM: 12110192
  • Service: 88988301
  • Description: 3-Way F Metri-Pack 150 Series Sealed (BK)

Terminal Part Information

  • Terminal/Tray: 12103881/2
  • Core/Insulation Crimp: E/C
  • Release Tool/Test Probe: 12180559-1/J-35616-2A (GY)

A/C Refrigerant Pressure Sensor

Pin

Wire

Circuit

Function

A

0.5 TN

5514

Low Reference

B

0.5 GY

2700

5-Volt Reference

C

0.5 OG/BK

380

A/C Refrigerant Pressure Sensor Signal

Accelerator Pedal Position (APP) Sensor


Object Number: 632357  Size: CH

Connector Part Information

  • OEM: 15326829
  • Service: 88988944
  • Description: 6-Way F 150 Sealed (BK)

Terminal Part Information

  • Terminal/Tray: 12191819/8
  • Core/Insulation Crimp: E/A
  • Release Tool/Test Probe: 15315247/J-35616-2A (GY)

Accelerator Pedal Position (APP) Sensor

Pin

Wire

Circuit

Function

A

0.35 PU

1272

Low Reference

B

0.35 L-BU

1162

Accelerator Pedal Position (APP) Sensor 2 Signal

C

0.35 TN

1274

5-Volt Reference

D

0.35 BN

1271

Low Reference

E

0.35 D-BU

1161

Accelerator Pedal Position (APP) Sensor 1 Signal

F

0.35 WH/BK

1164

5-Volt Reference

Accessory Power Outlet - Center Console 1


Object Number: 362748  Size: CH

Connector Part Information

  • OEM: 12176836
  • Service: 15305923
  • Description: 3-Way F Metri-Pack 280 Series (GY)

Terminal Part Information

  • Terminal/Tray: 12110844/4
  • Core/Insulation Crimp: C/A
  • Release Tool/Test Probe: 15315247/J-35616-4A (PU)

Accessory Power Outlet - Center Console 1

Pin

Wire

Circuit

Function

A

1.0 RD/WH

2540

Battery Positive Voltage

B

--

--

Not Used

C

1.0 BK

650

Ground

Air Temperature Actuator


Object Number: 258172  Size: CH

Connector Part Information

  • OEM: 12064982
  • Service: 12102633
  • Description: 5-Way F Micro-Pack 100 Series (BK)

Terminal Part Information

  • Terminal/Tray: See Terminal Repair Kit
  • Core/Insulation Crimp: See Terminal Repair Kit
  • Release Tool/Test Probe: See Terminal Repair Kit

Air Temperature Actuator

Pin

Wire

Circuit

Function

1

0.35 YE

1791

Low Reference

2

0.35 L-BU

733

Air Temperature Door Position Signal

3

0.35 GY

598

5-Volt Reference

4

0.35 L-BU

1316

Air Temperature Door Control

5

0.35 D-BU

1199

Air Temperature Door Control

Ambient Air Temperature Sensor (UH8)


Object Number: 684793  Size: CH

Connector Part Information

  • OEM: 12052642
  • Service: 12101856
  • Description: 2-Way F Metri-Pack 150 Series Sealed (L-GN)

Terminal Part Information

  • Terminal/Tray: 12048074/2
  • Core/Insulation Crimp: E/1
  • Release Tool/Test Probe: 12094429/J-35616-2A (GY)

Ambient Air Temperature Sensor (UH8)

Pin

Wire

Circuit

Function

A

0.35 L-GN/BK

735

Ambient Air Temperature Sensor Signal

B

0.35 YE

61

Low Reference

Ambient Light Sensor


Object Number: 82383  Size: CH

Connector Part Information

  • OEM: 12047662
  • Service: 12085535
  • Description: 2-Way F Metri-Pack 150 Series (BK)

Terminal Part Information

  • Terminal/Tray: 12064971/5
  • Core/Insulation Crimp: E/C
  • Release Tool/Test Probe: 12094429/J-35616-2A (GY)

Ambient Light Sensor

Pin

Wire

Circuit

Function

A

0.35 L-GN/BK

1137

Daytime Running Lamp (DRL) Ambient Light Sensor Signal

B

0.35 BK/WH

1551

Ground

Audio Amplifier X1 (U65)


Object Number: 1653389  Size: CH

Connector Part Information

  • OEM: 6098-4713
  • Service: 88988652
  • Description: 8-Way F 2.8 Series (BK)

Terminal Part Information

  • Pins: 1-4
  • Terminal/Tray: 8100-4444/22
  • Core/Insulation Crimp: 2/A
  • Release Tool/Test Probe: 15315247/J-35616-35 (VT)
  • Pins: 5, 8
  • Terminal/Tray: 8100-4445/22
  • Core/Insulation Crimp: 4/4
  • Release Tool/Test Probe: 15315247/J-35616-35 (VT)

Audio Amplifier X1 (U65)

Pin

Wire

Circuit

Function

1

1.0 L-GN/BK

1794

Subwoofer Speaker Coil 2 Output (-)

2

1.0 D-BU/WH

346

Subwoofer Speaker Coil 2 Output (+)

3

1.0 D-GN

1795

Subwoofer Speaker Coil 1 Output (+)

4

1.0 L-BU/BK

315

Subwoofer Speaker Coil 1 Output (-)

5

2.0 BK

850

Ground

6-7

--

--

Not Used

8

2.0 RD/WH

2040

Battery Positive Voltage

Audio Amplifier X2 (U65)


Object Number: 888604  Size: CH

Connector Part Information

  • OEM: 7283-5534-60
  • Service: 89047090
  • Description: 16-Way M YESC/USCAR Class II Sealed Series (GN)

Terminal Part Information

  • Terminal/Tray: 7116-4101-08/9
  • Core/Insulation Crimp: E/A
  • Release Tool/Test Probe: 12094430/J-35616-2A (GY)

Audio Amplifier X2 (U65)

Pin

Wire

Circuit

Function

1

0.8 YE

116

Left Rear Speaker Output (-)

2

0.8 BN

199

Left Rear Speaker Output (+)

3

0.8 D-BU

46

Right Rear Speaker Output (+)

4

0.8 L-BU

115

Right Rear Speaker Output (-)

5-8

--

--

Not Used

9

0.8 D-GN

117

Right Front Speaker Output (-)

10

0.8 L-GN

200

Right Front Speaker Output (+)

11

0.8 TN

201

Left Front Speaker Output (+)

12

0.8 GY

118

Left Front Speaker Output (-)

13-16

--

--

Not Used

Audio Amplifier X3 (U65)


Object Number: 1653409  Size: CH

Connector Part Information

  • OEM: 7283-9076-30
  • Service: See Catalog
  • Description: 16-Way F 0.64 Sealed (BK)

Terminal Part Information

  • Terminal/Tray: 7116-4618-02/14
  • Core/Insulation Crimp: P/P
  • Release Tool/Test Probe: J-38125-215/J-35616-64B (L-BU)

Audio Amplifier X3 (U65)

Pin

Wire

Circuit

Function

1

0.5 BN

1999

Left Rear Low Level Audio Signal (-)

2

0.5 TN

1946

Right Rear Low Level Audio Signal (-)

3

0.5 BN/WH

599

Left Rear Low Level Audio Signal (+)

4

0.5 D-BU

546

Right Rear Low Level Audio Signal (+)

5-7

--

--

Not Used

8

0.5 WH

1487

Antenna Enable Signal

9

0.5 L-GN/WH

512

Right Front Low Level Audio Signal (+)

10

0.5 D-GN

1947

Left Front Low Level Audio Signal (-)

11

0.5 L-GN

1948

Right Front Low Level Audio Signal (-)

12

0.5 TN

511

Left Front Low Level Audio Signal (+)

13-15

--

--

Not Used

16

0.5 OG

5748

Radio Audio Mute Signal

Audio/Video Adapter (UUC)


Object Number: 1715233  Size: CH

Connector Part Information

  • OEM: 15480082
  • Service: 19149303
  • Description: 8-Way F Micro 64 Series (GY)

Terminal Part Information

  • Terminal/Tray: 15359541/4
  • Core/Insulation Crimp: M/M
  • Release Tool/Test Probe: 15381651-2/J-35616-64B (L-BU)

Audio/Video Adapter (UUC)

Pin

Wire

Circuit

Function

1

0.5 BARE

5345

Drain Wire

2

--

--

Not Used

3

0.5 PU

2056

Auxiliary Video High Signal

4

--

--

Not Used

5

0.5 WH

2058

Auxiliary Audio Right Signal

6

0.5 YE

2059

Auxiliary Audio Left Signal

7

0.5 BARE

5346

Video Drain Wire

8

--

--

Not Used

Automatic Transmission (MH2/MH4)


Object Number: 1910664  Size: CH

Connector Part Information

  • OEM: 15476346
  • Service: 19151494
  • Description: 20-Way F GT 150 Sealed (BU)

Terminal Part Information

  • Terminal/Tray: 15326267/19
  • Pins: 1-2, 5, 12-16
  • Core/Insulation Crimp: E/4
  • Pins: 18-19
  • Core/Insulation Crimp: E/1
  • Release Tool/Test Probe: 15315247/J-35616-2A (GY)

Automatic Transmission (MH2/MH4)

Pin

Wire

Circuit

Function

1

0.8 BK/WH

451

Ground

2

0.5 TN/BK

2500

High Speed GMLAN Serial Data Bus+

3-4

--

--

Not Used

5

0.5 TN/BK

2500

High Speed GMLAN Serial Data Bus+

6-9

--

--

Not Used

10

0.5 RD/WH

540

Battery Positive Voltage

11

--

--

Not Used

12

0.5 TN

2501

High Speed GMLAN Serial Data Bus-

13

0.5 PK

1339

Ignition Voltage

14

0.5 TN

2501

High Speed GMLAN Serial Data Bus-

15

0.5 BN

4

Ignition Voltage

16

0.5 WH

17

Stop Lamp Switch Signal

17

--

--

Not Used

18

0.8 BK/WH

451

Ground

19

--

--

Not Used

20

0.5 OG/BK

1786

Park/Neutral Signal

Automatic Transmission Input Shaft Speed (ISS) Sensor (M09/M45)


Object Number: 882510  Size: CH

Connector Part Information

  • OEM: Aisin AW
  • Service: Non-Serviceable
  • Description: Conn 2F (BK)

Terminal Part Information

  • Terminal: Non-Serviceable
  • Core/Insulation Crimp: Non-Serviceable
  • Release Tool/Test Probe: Non-Serviceable

Automatic Transmission Input Shaft Speed (ISS) Sensor (M09/M45)

Pin

Wire

Circuit

Function

1

0.5 TN

1231

Input Speed Sensor (ISS) Low Signal

2

0.5 L-BU

1230

Input Speed Sensor (ISS) High Signal

Automatic Transmission Input Shaft Speed (ISS) Sensor (MH2/MH4)


Object Number: 1910665  Size: CH

Connector Part Information

  • OEM: 15467085
  • Service: Non-Serviceable
  • Description: 2-Way F Metri-Pack 150.2 Series P2S (L-GY)

Terminal Part Information

  • Terminal/Tray: Non-Serviceable
  • Core/Insulation Crimp: Non-Serviceable
  • Release Tool/Test Probe: Non-Serviceable

Automatic Transmission Input Shaft Speed (ISS) Sensor (MH2/MH4)

Pin

Wire

Circuit

Function

A

0.5 WH

--

ISS High Signal

B

0.5 BK

--

ISS Low Signal

Automatic Transmission Internal Mode Switch (IMS) (MH2/MH4)


Object Number: 347262  Size: CH

Connector Part Information

  • OEM: 15336500
  • Service: Non-Serviceable
  • Description: 6-Way F Metri-Pack 150.2 Series (GN)

Terminal Part Information

  • Terminal/Tray: Non-Serviceable
  • Core/Insulation Crimp: Non-Serviceable
  • Release Tool/Test Probe: Non-Serviceable

Automatic Transmission Internal Mode Switch (IMS) (MH2/MH4)

Pin

Wire

Circuit

Function

A

--

--

Not Used

B

0.5 BK

--

Transmission Range Switch Signal P

C

0.5 YE

--

Transmission Range Switch Signal C

D

0.5 RD

--

Transmission Range Switch Signal B

E

0.5 GN

--

Transmission Range Switch Signal A

F

0.5 WH

--

Park/Neutral Switch Signal

Automatic Transmission Output Shaft Speed (OSS) Sensor (M09/M45)


Object Number: 882510  Size: CH

Connector Part Information

  • OEM: Aisin AW
  • Service: Non-Serviceable
  • Description: 2-Way F (BK)

Terminal Part Information

  • Terminal: Non-Serviceable
  • Core/Insulation Crimp: Non-Serviceable
  • Release Tool/Test Probe: Non-Serviceable

Automatic Transmission Output Shaft Speed (OSS) Sensor (M09/M45)

Pin

Wire

Circuit

Function

1

0.5 BK

401

Output Speed Sensor (OSS) Low Signal

2

0.5 RD

400

Output Shaft Sensor (OSS) High Signal

Automatic Transmission Output Shaft Speed (OSS) Sensor (MH2/MH4)


Object Number: 1910666  Size: CH

Connector Part Information

  • OEM: 15473844
  • Service: Non-Serviceable
  • Description: 2-Way F Metri-Pack 150.2 Series P2S (L-GN)

Terminal Part Information

  • Terminal/Tray: Non-Serviceable
  • Core/Insulation Crimp: Non-Serviceable
  • Release Tool/Test Probe: Non-Serviceable

Automatic Transmission Output Shaft Speed (OSS) Sensor (MH2/MH4)

Pin

Wire

Circuit

Function

A

0.5 WH

--

Output Shaft Sensor (OSS) High Signal

B

0.5 BK

--

Output Speed Sensor (OSS) Low Signal

Automatic Transmission Shift Lock Control Solenoid


Object Number: 1879137  Size: CH

Connector Part Information

  • OEM: 90000223
  • Service: See Catalog
  • Description: 3-Way F (WH)

Automatic Transmission Shift Lock Control Solenoid

Pin

Wire

Circuit

Function

1

0.35 BK

1450

Ground

2

--

--

Not Used

3

0.35 D-GN/WH

1135

Automatic Transmission Shift Lock Solenoid Control

Backup Lamp - Left (Chevrolet)


Object Number: 1860844  Size: CH

Connector Part Information

  • OEM: 7112-534-4WB
  • Service: See Catalog
  • Description: 2-Way Lamp Socket Sealed (GY)

Terminal Part Information

  • Terminal/Tray: See Terminal Repair Kit
  • Core/Insulation Crimp: See Terminal Repair Kit
  • Release Tool/Test Probe: See Terminal Repair Kit

Backup Lamp - Left (Chevrolet)

Pin

Wire

Circuit

Function

A

0.8 RD

24

Backup Lamp Control

B

0.5 BK

550

Ground

Backup Lamp - Left (Pontiac)


Object Number: 1860839  Size: CH

Connector Part Information

  • OEM: 7822-2540-A24
  • Service: See Catalog
  • Description: 3-Way Lamp Socket Wedge Base W3 Sealed (BK)

Terminal Part Information

  • Terminal/Tray: See Terminal Repair Kit
  • Core/Insulation Crimp: See Terminal Repair Kit
  • Release Tool/Test Probe: See Terminal Repair Kit

Backup Lamp - Left (Pontiac)

Pin

Wire

Circuit

Function

MAJOR

0.8 RD

24

Backup Lamp Control

MINOR

--

--

Not Used

GRND

0.5 BK

550

Ground

Backup Lamp - Right (Chevrolet)


Object Number: 1860844  Size: CH

Connector Part Information

  • OEM: 7112-534-4WB
  • Service: See Catalog
  • Description: 2-Way Lamp Socket Sealed (GY)

Terminal Part Information

  • Terminal/Tray: See Terminal Repair Kit
  • Core/Insulation Crimp: See Terminal Repair Kit
  • Release Tool/Test Probe: See Terminal Repair Kit

Backup Lamp - Right (Chevrolet)

Pin

Wire

Circuit

Function

A

0.8 RD

24

Backup Lamp Control

B

0.5 BK

850

Ground

Backup Lamp - Right (Pontiac)


Object Number: 1860839  Size: CH

Connector Part Information

  • OEM: 7822-2540-A24
  • Service: See Catalog
  • Description: 3-Way Lamp Socket Wedge Base W3 Sealed (BK)

Terminal Part Information

  • Terminal/Tray: See Terminal Repair Kit
  • Core/Insulation Crimp: See Terminal Repair Kit
  • Release Tool/Test Probe: See Terminal Repair Kit

Backup Lamp - Right (Pontiac)

Pin

Wire

Circuit

Function

MAJOR

0.8 RD

24

Backup Lamp Control

MINOR

--

--

Not Used

GRND

0.5 BK

850

Ground

Battery (-)

Terminal Part Information

  • Terminal/Tray: 7106-2036
  • Core/Insulation Crimp: N/A
  • Description: Battery Terminal

Battery (-)

Pin

Wire

Circuit

Function

-

32 BK

50

Ground

19 BK

50

Ground

8 BK

50

Ground

Battery (+)

Terminal Part Information

  • Terminal/Tray: 7106-2035
  • Core/Insulation Crimp: N/A
  • Description: Battery Terminal

Battery (+)

Pin

Wire

Circuit

Function

+

32 RD

1

Ground

19 RD

1

Ground

Battery Current Sensor


Object Number: 646415  Size: CH

Connector Part Information

  • OEM: 13519047
  • Service: See Catalog
  • Description: 3-Way F GT 150 Series Sealed (BK)

Terminal Part Information

  • Terminal/Tray: 12191819/8
  • Core/Insulation Crimp: E/A
  • Release Tool/Test Probe: 15315247/J-35616-2A (GY)

Battery Current Sensor

Pin

Wire

Circuit

Function

A

0.35 PK

5076

5-Volt Reference

B

0.35 BN

5077

Low Reference

C

0.35 WH

5075

Current Sensor Signal

Blower Motor


Object Number: 1837857  Size: CH

Connector Part Information

  • OEM: 15226103
  • Service: 88988507
  • Description: 2-Way F (L-GY)

Terminal Part Information

  • Terminal/Tray: 7116-4122-02/10
  • Core/Insulation Crimp: A/B
  • Release Tool/Test Probe: 12094430/J-35616-42 (RD)

Blower Motor

Pin

Wire

Circuit

Function

1

3.0 BK

2150

Ground

2

3.0 PU

65

Blower Motor Control

Blower Motor Control Module X1


Object Number: 1837857  Size: CH

Connector Part Information

  • OEM: 7283-6458-40
  • Service: 88988507
  • Description: 2-Way Receptacle 6.3 Series (L-GY)

Terminal Part Information

  • Terminal/Tray: 7116-4122-02/10
  • Core/Insulation Crimp: A/B
  • Release Tool/Test Probe: 12094430/J-35616-42 (RD)

Blower Motor Control Module X1

Pin

Wire

Circuit

Function

1

3.0 PU

65

Blower Motor Control

2

3.0 BK

2150

Ground

Blower Motor Control Module X2


Object Number: 1798802  Size: CH

Connector Part Information

  • OEM: 7283-9749-30
  • Service: 15226104
  • Description: 6-Way YESC Kaizen Series (BK)

Terminal Part Information

  • Pins: 3
  • Terminal/Tray: 12191812/19
  • Core/Insulation Crimp: E/C
  • Release Tool/Test Probe: 15315247/J-35616-2A (GY)
  • Pins: 5-6
  • Terminal/Tray: 7116-4122-02/10
  • Core/Insulation Crimp: A/B
  • Release Tool/Test Probe: 12094430/J-35616-42 (RD)

Blower Motor Control Module X2

Pin

Wire

Circuit

Function

1-2

--

--

Not Used

3

0.35 GY/BK

754

Blower Motor Speed Control

4

--

--

Not Used

5

3.0 BK

1450

Ground

6

3.0 RD/BK

442

Battery Positive Voltage

Body Control Module (BCM) X1


Object Number: 1664495  Size: CH

Connector Part Information

  • OEM: HITPB-27-AL-M
  • Service: 88988838
  • Description: 27-Way F 0.64 Unsealed (L-GN)

Terminal Part Information

  • Terminal/Tray: SNAC3-A021T-M0.64/20
  • Core/Insulation Crimp: J/J
  • Release Tool/Test Probe: 12094429/J-35616-64B (L-BU)

Body Control Module (BCM) X1

Pin

Wire

Circuit

Function

1

--

--

Not Used

2

0.35 WH

1390

Ignition Signal

3

0.35 GY

1884

Cruise Control Switch Signal

4

0.35 WH/BK

1073

5-Volt Reference

5

0.35 L-GN

1715

Windshield Wiper Switch High Signal

6

0.35 D-BU

1796

Steering Wheel Controls Signal (UK3)

7

--

--

Not Used

8

0.35 BK/WH

1251

Ground

9

0.35 L-BU

1714

Windshield Wiper Switch Low Signal

10-13

--

--

Not Used

14

0.35 PK

3

Ignition Voltage

15

0.35 L-BU/WH

1414

Left Turn Signal Switch Signal

16

0.35 D-BU/WH

1415

Right Turn Signal Switch Signal

17

0.35 PU

1375

Steering Wheel Control

18

0.35 PU

524

Headlamp Dimmer Switch High Beam Signal

19

0.35 TN

2144

Hazard Switch Signal

20

0.35 PU

5526

Tap Up/Tap Down Switch Signal (LY7)

21

0.35 BN

4

Ignition Voltage

22-23

--

--

Not Used

24

0.35 PK

94

Windshield Washer Switch Signal

25

0.35 BN

1356

Flash To Pass Switch Signal

26

0.35 D-GN/WH

1135

Automatic Transmission Shift Lock Control Solenoid Control

27

--

--

Not Used

Body Control Module (BCM) X2


Object Number: 1664496  Size: CH

Connector Part Information

  • OEM: HITPB-25-B-S
  • Service: 88988839
  • Description: 25-Way F Receptacle 0.64 2.8 Unsealed (WH)

Terminal Part Information

  • Pins: 1-3
  • Terminal/Tray: SNAC-A061T-M2.8/20
  • Core/Insulation Crimp: E/A
  • Release Tool/Test Probe: 12094429/J-35616-4A (PU)
  • Pins: 8, 11-12, 17, 21
  • Terminal/Tray: SNAC3-A021T-M0.64/20
  • Core/Insulation Crimp: J/J
  • Release Tool/Test Probe: 12094429/J-35616-64B (L-BU)

Body Control Module (BCM) X2

Pin

Wire

Circuit

Function

1

0.8 OG

1732

Inadvertent Power Control

2

0.8 RD/WH

1240

Battery Positive Voltage

3

0.8 GY

8

Instrument Panel Lamp Control

4-7

--

--

Not Used

8

0.35 BN/WH

301

Park Lamp Switch On Signal

9-10

--

--

Not Used

11

0.35 L-GN/BK

1137

Daytime Running Lamp (DRL) Ambient Light Sensor Signal

12

0.35 WH

103

Headlamp Switch On Signal

13-16

--

--

Not Used

17

0.35 D-GN

306

Headlamp Switch Off Signal

18-20

--

--

Not Used

21

0.35 L-BU

1788

Traction Control Switch Signal

22

0.35 PU/WH

5905

Key Capture/Column Lock Shift Position Signal

23-25

--

--

Not Used

Body Control Module (BCM) X3


Object Number: 1664498  Size: CH

Connector Part Information

  • OEM: HITPB-25-C-LE
  • Service: 88988840
  • Description: 25-Way F HIT Series (L-BU)

Terminal Part Information

  • Pins: 1-3, 5
  • Terminal/Tray: SNAC-A061T-M2.8/20
  • Core/Insulation Crimp: E/A
  • Release Tool/Test Probe: 12094429/J-35616-4A (PU)
  • Pins: 7-19, 21-22
  • Terminal/Tray: SNAC3-A021T-M0.64/20
  • Core/Insulation Crimp: J/J
  • Release Tool/Test Probe: 12094429/J-35616-64B (L-BU)

Body Control Module (BCM) X3

Pin

Wire

Circuit

Function

1

0.8 BK/WH

1551

Ground

2

0.8 RD/WH

240

Battery Positive Voltage

3

0.8 RD/WH

1040

Battery Positive Voltage

4

--

--

Not Used

5

0.8 BK/WH

1551

Ground

6

--

--

Not Used

7

0.35 YE

749

Security Indicator Control

8

0.5 TN/BK

2500

High Speed GMLAN Serial Data Bus+

9

0.5 TN

2501

High Speed GMLAN Serial Data Bus-

10

0.35 D-GN

5060

Low Speed GMLAN Serial Data

11

0.35 D-GN

44

Instrument Panel Lamps Dimmer Switch Signal

12

0.35 OG/WH

812

12-Volt Reference

13

0.5 D-BU

6037

Brake Pedal Position Sensor Signal

14

0.5 OG/BK

6035

Low Reference

15

0.5 GY

6036

5-Volt Reference

16

0.5 TN/BK

2500

High Speed GMLAN Serial Data Bus+

17

0.5 TN

2501

High Speed GMLAN Serial Data Bus-

18

0.5 PU/WH

1382

LED Dimming Signal

19

0.35 L-BU

5986

Serial Data Communication Enable

20

--

--

Not Used

21

0.35 OG

192

Front Fog Lamp Switch Signal (T96)

22

0.35 D-GN/WH

7158

Cruise Control Indicator Dimming Signal

23-25

--

--

Not Used

Body Control Module (BCM) X4


Object Number: 1664499  Size: CH

Connector Part Information

  • OEM: HITPB-25-D-K
  • Service: 88988841
  • Description: 25-Way F Receptacle 0.64 2.8 (BK)

Terminal Part Information

  • Pins: 1-5
  • Terminal/Tray: See Terminal Repair Kit
  • Core/Insulation Crimp: See Terminal Repair Kit
  • Release Tool/Test Probe: See Terminal Repair Kit
  • Pins: 7-17, 19, 21-22, 23
  • Terminal/Tray: SNAC3-A021T-M0.64/20
  • Core/Insulation Crimp: J/J
  • Release Tool/Test Probe: 12094429/J-35616-64B (L-BU)

Body Control Module (BCM) X4

Pin

Wire

Circuit

Function

1

0.8 RD/WH

340

Battery Positive Voltage

2

0.8 RD/WH

240

Battery Positive Voltage

3

0.8 RD/WH

440

Battery Positive Voltage

4

0.8 RD/WH

1240

Battery Positive Voltage

5

0.8 D-BU/WH

1315

Right Front Turn Signal Lamp Control

6

0.35 D-GN

6134

Local Interconnect Network (LIN) Bus (U80)

7

0.35 YE

196

Windshield Wiper Motor Park Switch Signal

8

--

--

Not Used

9

0.5 BK

50

Ground

10

0.35 RD/WH

2440

Battery Positive Voltage

11

0.35 D-GN/WH

1317

Fog Lamp Relay Control (T96)

12

0.5 YE

5187

Right Trailer Stop/Turn Relay Control (V92)

13

0.5 OG

5186

Left Trailer Stop/Turn Relay Control (V92)

14

--

--

Not Used

15

0.35 OG

2268

Windshield Washer Relay Control

16

0.35 TN/WH

1969

Headlamp High Beam Relay Control

17

0.35 PK/BK

109

Hood Ajar Switch Signal (AP3)

18

--

--

Not Used

19

0.35 BN

4

Ignition Voltage

20

--

--

Not Used

21

0.35 PK

1439

Ignition Voltage

22

0.35 YE

5704

Liftgate Latch Relay Coil Control

23

0.35 PU

544

DRL Relay Control

24-25

--

--

Not Used

Body Control Module (BCM) X5


Object Number: 1664500  Size: CH

Connector Part Information

  • OEM: HITPB-25-E-N
  • Service: 88988837
  • Description: 25-Way F Receptacle Unsealed 0.64 2.8 (BN)

Terminal Part Information

  • Pins: 1-2, 4-5
  • Terminal/Tray: See Terminal Repair Kit
  • Core/Insulation Crimp: See Terminal Repair Kit
  • Release Tool/Test Probe: See Terminal Repair Kit
  • Pins: 6, 8-11, 14-16, 18, 20-21, 23-24
  • Terminal/Tray: SNAC3-A021T-M0.64/20
  • Core/Insulation Crimp: J/J
  • Release Tool/Test Probe: 12094429/J-35616-64B (L-BU)

Body Control Module (BCM) X5

Pin

Wire

Circuit

Function

1

0.8 YE

18

Left Rear Stop/Turn Lamp Control

2

0.8 D-GN

19

Right Rear Stop/Turn Lamp Control

3

--

--

Not Used

4

0.8 L-BU/WH

1314

Left Front Turn Signal Lamp Control

5

0.8 L-BU

1320

Center High Mounted Stop Lamp (CHMSL) Control

6

0.5 WH

17

Stop Lamp Switch Signal

7

--

--

Not Used

8

0.35 PK

5076

5-Volt Reference

9

0.35 WH

5075

Current Sensor Signal

10

0.35 BN

5077

Low Reference

11

0.35 TN

707

RAP Relay Coil Control

12-13

--

--

Not Used

14

0.5 YE

243

Ignition Voltage

15

0.35 PU

5531

Hood Closed Switch Signal (AP3)

16

0.5 OG/BK

233

Park Brake Switch Signal

17

--

--

Not Used

18

0.35 TN

28

Horn Relay Control

19

--

--

Not Used

20

0.35 GY

91

Windshield Wiper Switch Signal 2

21

0.35 TN

860

Front Windshield Wiper Switch High Signal

22

--

--

Not Used

23

0.35 PK/WH

1970

Headlamp Low Beam Relay Control

24

0.35 WH

1080

Park Lamp Relay Control

25

--

--

Not Used

Body Control Module (BCM) X6


Object Number: 1664502  Size: CH

Connector Part Information

  • OEM: HITPB-25-F-PK
  • Service: 88988842
  • Description: 25-Way F Receptacle Unsealed 0.64 2.8 (PK)

Terminal Part Information

  • Terminal/Tray: See Terminal Repair Kit
  • Core/Insulation Crimp: See Terminal Repair Kit
  • Release Tool/Test Probe: See Terminal Repair Kit
  • Pins: 8-10, 12, 15, 18
  • Terminal/Tray: SNAC3-A021T-M0.64/20
  • Core/Insulation Crimp: J/J
  • Release Tool/Test Probe: 12094429/J-35616-64B (L-BU)

Body Control Module (BCM) X6

Pin

Wire

Circuit

Function

1

0.8 D-BU/WH

149

Courtesy Lamp Control

2

0.8 L-GN

24

Backup Lamp Control

3-7

--

--

Not Used

8

0.35 TN/WH

746

Right Front Door Ajar Switch Signal

9

0.35 D-BU

245

Passenger Door Lock Switch Unlock Signal

10

0.35 GY/BK

745

Left Front Door Ajar Switch Signal

11

--

--

Not Used

12

0.35 PK/BK

1303

Liftgate Ajar Switch Signal

13-14

--

--

Not Used

15

0.35 GY

5797

Rear Closure Handle Switch Open Signal

16-17

--

--

Not Used

18

0.35 L-BU

244

Passenger Door Lock Switch Lock Signal

19-25

--

--

Not Used

Body Control Module (BCM) X7


Object Number: 1664505  Size: CH

Connector Part Information

  • OEM: HITPB-28-G-H
  • Service: 88988806
  • Description: 28-Way F Receptacle 0.64 (GY)

Terminal Part Information

  • Terminal/Tray: SNAC3-A021T-M0.64/20
  • Core/Insulation Crimp: J/J
  • Release Tool/Test Probe: 12094429/J-35616-64B (L-BU)

Body Control Module (BCM) X7

Pin

Wire

Circuit

Function

1-5

--

--

Not Used

6

0.35 YE

356

Driver Door Lock Relay Unlock Control

7

0.35 L-GN

1391

Driver Door Unlock Relay Control

8

--

--

Not Used

9

0.35 L-BU

5921

Driver Door Unlock Relay Control

10

--

--

Not Used

11

0.35 OG/BK

781

Driver Door Lock Switch Unlock Signal

12

0.35 PK/BK

780

Driver Door Lock Switch Lock Signal

13

0.35 D-GN

5706

Liftgate Latch Relay Control

14-24

--

--

Not Used

25

0.35 PU/WH

6816

Indicator Dimming Control

26-28

--

--

Not Used

Brake Fluid Level Switch


Object Number: 655692  Size: CH

Connector Part Information

  • OEM: 12162195
  • Service: 88987993
  • Description: 2-Way F Metri-Pack 150.2 Series Sealed (BK)

Terminal Part Information

  • Terminal/Tray: 12124075/5
  • Core/Insulation Crimp: C/A
  • Release Tool/Test Probe: 12180559-1/J-35616-2A (GY)

Brake Fluid Level Switch

Pin

Wire

Circuit

Function

A

0.35 BK/WH

651

Ground

B

0.35 TN/WH

33

Brake Warning Indicator Control

Brake Pedal Position (BPP) Sensor


Object Number: 1243663  Size: CH

Connector Part Information

  • OEM: 15332132
  • Service: 88953364
  • Description: 3-Way F GT 150 Series (BK)

Terminal Part Information

  • Terminal/Tray: 12191812/19
  • Core/Insulation Crimp: E/C
  • Release Tool/Test Probe: 15315247/J-35616-2A (GY)

Brake Pedal Position (BPP) Sensor

Pin

Wire

Circuit

Function

A

0.5 OG/BK

6035

Low Reference

B

0.5 D-BU

6037

Brake Pedal Position Sensor Signal

C

0.5 GY

6036

5-Volt Reference

Camshaft Position (CMP) Actuator Solenoid Valve - Bank 1 Exhaust (LY7)


Object Number: 1331453  Size: CH

Connector Part Information

  • OEM: 7283-7526-30
  • Service: 88988588
  • Description: 2-Way F Sealed (BK)

Terminal Part Information

  • Terminal/Tray: 7116-4026/11
  • Core/Insulation Crimp: E/1
  • Release Tool/Test Probe: 15313892/J-35616-18 (BK)

Camshaft Position (CMP) Actuator Solenoid Valve - Bank 1 Exhaust (LY7)

Pin

Wire

Circuit

Function

1

0.8 PK/BK

5293

Ignition Voltage

2

0.8 L-GN

5282

Camshaft Phaser Exhaust Solenoid - 1

Camshaft Position (CMP) Actuator Solenoid Valve - Bank 1 Intake (LY7)


Object Number: 1331453  Size: CH

Connector Part Information

  • OEM: 7283-7526-30
  • Service: 88988588
  • Description: 2-Way F Sealed (BK)

Terminal Part Information

  • Terminal/Tray: 7116-4026/11
  • Core/Insulation Crimp: E/1
  • Release Tool/Test Probe: 15313892/J-35616-18 (BK)

Camshaft Position (CMP) Actuator Solenoid Valve - Bank 1 Intake (LY7)

Pin

Wire

Circuit

Function

1

0.8 PK/BK

5293

Ignition Voltage

2

0.8 PU

5284

Camshaft Phaser Intake Solenoid - 1

Camshaft Position (CMP) Actuator Solenoid Valve - Bank 2 Exhaust (LY7)


Object Number: 1331453  Size: CH

Connector Part Information

  • OEM: 7283-7526-30
  • Service: 88988588
  • Description: 2-Way F Sealed (BK)

Terminal Part Information

  • Terminal/Tray: 7116-4026/11
  • Core/Insulation Crimp: E/1
  • Release Tool/Test Probe: 15313892/J-35616-18 (BK)

Camshaft Position (CMP) Actuator Solenoid Valve - Bank 2 Exhaust (LY7)

Pin

Wire

Circuit

Function

1

0.8 PK/BK

5293

Ignition Voltage

2

0.8 WH/BK

5283

Camshaft Phaser Exhaust Solenoid - 2

Camshaft Position (CMP) Actuator Solenoid Valve - Bank 2 Intake (LY7)


Object Number: 1331453  Size: CH

Connector Part Information

  • OEM: 7283-7526-30
  • Service: 88988588
  • Description: 2-Way F Sealed (BK)

Terminal Part Information

  • Terminal/Tray: 7116-4026/11
  • Core/Insulation Crimp: E/1
  • Release Tool/Test Probe: 15313892/J-35616-18 (BK)

Camshaft Position (CMP) Actuator Solenoid Valve - Bank 2 Intake (LY7)

Pin

Wire

Circuit

Function

1

0.8 PK/BK

5293

Ignition Voltage

2

0.8 OG/BK

5272

Camshaft Phaser Intake Solenoid - 2

Camshaft Position (CMP) Sensor (LNJ)


Object Number: 646415  Size: CH

Connector Part Information

  • OEM: 12577863
  • Service: See Catalog
  • Description: 3-Way F GT 150 Series Sealed (BK)

Terminal Part Information

  • Terminal/Tray: 12191819/8
  • Core/Insulation Crimp: See Terminal Repair Kit
  • Release Tool/Test Probe: 15315247/J-35616-2A (GY)

Camshaft Position (CMP) Sensor (LNJ)

Pin

Wire

Circuit

Function

A

0.5 RD/WH

6259

5-Volt Reference

B

0.5 BK

407

Low Reference

C

0.5 BN/WH

633

Camshaft Position Sensor (CMP) Signal

Camshaft Position (CMP) Sensor - Bank 1 Exhaust (LY7)


Object Number: 1331443  Size: CH

Connector Part Information

  • OEM: 1928403968
  • Service: 88988595
  • Description: 3-Way F Kompakt 2.8 Series Sealed (BK)

Terminal Part Information

  • Terminal/Tray: 1928498056/8
  • Core/Insulation Crimp: E/1
  • Release Tool/Test Probe: J-38125-561/J-35616-4A (PU)

Camshaft Position (CMP) Sensor - Bank 1 Exhaust (LY7)

Pin

Wire

Circuit

Function

1

0.5 TN

552

Low Reference

2

0.5 D-GN

5273

Camshaft Position Exhaust Sensor 1

3

0.5 GY

705

5-Volt Reference

Camshaft Position (CMP) Sensor - Bank 1 Intake (LY7)


Object Number: 1331443  Size: CH

Connector Part Information

  • OEM: 1928403968
  • Service: 88988595
  • Description: 3-Way F Kompakt 2.8 Series Sealed (BK)

Terminal Part Information

  • Terminal/Tray: 1928498056/8
  • Core/Insulation Crimp: E/1
  • Release Tool/Test Probe: J-38125-561/J-35616-4A (PU)

Camshaft Position (CMP) Sensor - Bank 1 Intake (LY7)

Pin

Wire

Circuit

Function

1

0.5 TN

552

Low Reference

2

0.5 OG

5275

Camshaft Position Intake Sensor 1

3

0.5 GY

705

5-Volt Reference

Camshaft Position (CMP) Sensor - Bank 2 Exhaust (LY7)


Object Number: 1331443  Size: CH

Connector Part Information

  • OEM: 1928403968
  • Service: 88988595
  • Description: 3-Way F Kompakt 2.8 Series Sealed (BK)

Terminal Part Information

  • Terminal/Tray: 1928498056/8
  • Core/Insulation Crimp: E/1
  • Release Tool/Test Probe: J-38125-561/J-35616-4A (PU)

Camshaft Position (CMP) Sensor - Bank 2 Exhaust (LY7)

Pin

Wire

Circuit

Function

1

0.5 TN

552

Low Reference

2

0.5 PU

5274

Camshaft Position Exhaust Sensor 2

3

0.5 GY

705

5-Volt Reference

Camshaft Position (CMP) Sensor - Bank 2 Intake (LY7)


Object Number: 1331443  Size: CH

Connector Part Information

  • OEM: 1928403968
  • Service: 88988595
  • Description: 3-Way F Kompakt 2.8 Series Sealed (BK)

Terminal Part Information

  • Terminal/Tray: 1928498056/8
  • Core/Insulation Crimp: E/1
  • Release Tool/Test Probe: J-38125-561/J-35616-4A (PU)

Camshaft Position (CMP) Sensor - Bank 2 Intake (LY7)

Pin

Wire

Circuit

Function

1

0.5 TN

552

Low Reference

2

0.5 YE

5276

Camshaft Position Intake Sensor 2

3

0.5 GY

705

5-Volt Reference

Cargo Lamp


Object Number: 130635  Size: CH

Connector Part Information

  • OEM: 12045813
  • Service: 12101889
  • Description: 4-Way F Metri-Pack 150 Series (CM)

Terminal Part Information

  • Terminal/Tray: See Terminal Repair Kit
  • Core/Insulation Crimp: See Terminal Repair Kit
  • Release Tool/Test Probe: See Terminal Repair Kit

Cargo Lamp

Pin

Wire

Circuit

Function

A

--

--

Not Used

B

0.8 GY

157

Courtesy Lamp Control

C

--

--

Not Used

D

0.8 BK

850

Ground

Cellular and Navigation Antenna (UE1)/Digital Radio Antenna (U2K)


Object Number: 1850604  Size: CH

Connector Part Information

  • OEM: GT13GM-1/1S-HU
  • Service: See Catalog
  • Description: 3-Way F GT13 Coaxial Series (GY)

Terminal Part Information

  • Pins: 1
  • Terminal/Tray: 7116-4618-02/14
  • Core/Insulation Crimp: P/P
  • Release Tool/Test Probe: J-38125-215/J-35616-64B (L-BU)

Cellular and Navigation Antenna (UE1)/Digital Radio Antenna (U2K)

Pin

Wire

Circuit

Function

1

0.35 WH

1487

Antenna Enable Signal

S

0.35 BARE

6015

Shield

C

COAX

--

Antenna Signal

Cellular Telephone Microphone (UE1)/Noise Compensation Microphone (U3U)


Object Number: 35441  Size: CH

Connector Part Information

  • OEM: 12047663
  • Service: 12085481
  • Description: 2-Way M Metri-Pack 150 Series (BK)

Terminal Part Information

  • Terminal/Tray: See Terminal Repair Kit
  • Core/Insulation Crimp: See Terminal Repair Kit
  • Release Tool/Test Probe: See Terminal Repair Kit

Cellular Telephone Microphone (UE1)/Noise Compensation Microphone (U3U)

Pin

Wire

Circuit

Function

A

0.5 GY

1489

Drain Wire

B

0.5 GY

655

Cellular Microphone Signal

Center High Mounted Stop Lamp (CHMSL)


Object Number: 1413080  Size: CH

Connector Part Information

  • OEM: 7223-1324
  • Service: 88988460
  • Description: 2-Way F 090 Series (WH)

Terminal Part Information

  • Terminal/Tray: 7116-1420/11
  • Core/Insulation Crimp: E/1
  • Release Tool/Test Probe: 15315247/J-35616-18 (BK)

Center High Mounted Stop Lamp (CHMSL)

Pin

Wire

Circuit

Function

1

0.5 L-BU

1320

Center High Mounted Stop Lamp (CHMSL) Control

2

0.5 BK

850

Ground

Cigar Lighter (DT4)/Accessory Power Outlet - Center Console 2 (without DT4)


Object Number: 362748  Size: CH

Connector Part Information

  • OEM: 12176836
  • Service: 15305923
  • Description: 3-Way F Metri-Pack 280 Series (GY)

Terminal Part Information

  • Terminal/Tray: 12110844/4
  • Core/Insulation Crimp: C/A
  • Release Tool/Test Probe: 15315247/J-35616-4A (PU)

Cigar Lighter (DT4)/Accessory Power Outlet - Center Console 2 (without DT4)

Pin

Wire

Circuit

Function

A

1.0 RD/WH

2540

Battery Positive Voltage

B

--

--

Not Used

C

1.0 BK

650

Ground

Crankshaft Position (CKP) Sensor (LNJ)


Object Number: 646415  Size: CH

Connector Part Information

  • OEM: 15326808
  • Service: See Catalog
  • Description: 3-Way F GT 150 Sealed 4.5 (BK)

Terminal Part Information

  • Terminal/Tray: 12191819/8
  • Core/Insulation Crimp: E/A
  • Release Tool/Test Probe: 15315247/J-35616-2A (GY)

Crankshaft Position (CKP) Sensor (LNJ)

Pin

Wire

Circuit

Function

A

0.5 PU/WH

6270

5-Volt Reference

B

0.5 GY/BK

6272

Low Reference

C

0.5 WH/BK

6271

Crankshaft Position Sensor Signal

Crankshaft Position (CKP) Sensor (LY7)


Object Number: 1664596  Size: CH

Connector Part Information

  • OEM: 89047365
  • Service: 88988337
  • Description: 3-Way F Sealed (GN)

Terminal Part Information

  • Terminal/Tray: 33467-0005/23
  • Core/Insulation Crimp: J/J
  • Release Tool/Test Probe: J-38125-213/J-35616-64B (L-BU)

Crankshaft Position (CKP) Sensor (LY7)

Pin

Wire

Circuit

Function

1

0.5 TN

452

Low Reference

2

0.5 YE

573

Crankshaft Position Sensor (CKP) 1 Signal

3

0.5 GY

605

5-Volt Reference

Data Link Connector (DLC)


Object Number: 1243575  Size: CH

Connector Part Information

  • OEM: 348822-2
  • Service: 89046778
  • Description: 16-Way F Diagnostic Connector (BK)

Terminal Part Information

  • Terminal/Tray: 776001-1/16
  • Core/Insulation Crimp: E/C
  • Release Tool/Test Probe: 15315247/J-35616-2A (GY)

Data Link Connector (DLC)

Pin

Wire

Circuit

Function

1

0.35 D-GN

5060

Low Speed GMLAN Serial Data

2-3

--

--

Not Used

4

0.5 BK

1450

Ground

5

0.35 BK/WH

1551

Ground

6

0.5 TN/BK

2500

High Speed GMLAN Serial Data Bus+

7-13

--

--

Not Used

14

0.5 TN

2501

High Speed GMLAN Serial Data Bus-

15

--

--

Not Used

16

0.35 RD/WH

1840

Battery Positive Voltage

Data Link Resistor (MH2/M09)


Object Number: 523630  Size: CH

Connector Part Information

  • OEM: 15326801
  • Service: 15306156
  • Description: 2-Way F GT 150 Series (BK)

Terminal Part Information

  • Terminal/Tray: 12191819/8
  • Core/Insulation Crimp: E/A
  • Release Tool/Test Probe: 15315247/J-35616-2A (GY)

Data Link Resistor (MH2/M09)

Pin

Wire

Circuit

Function

A

0.5 TN/BK

2500

High Speed GMLAN Serial Data Bus+

B

0.5 TN

2501

High Speed GMLAN Serial Data Bus-

Digital Radio Receiver (U2K)


Object Number: 850856  Size: CH

Connector Part Information

  • OEM: 15394150
  • Service: See Catalog
  • Description: 16-Way F Micro 64 Series (BK)

Terminal Part Information

  • Terminal/Tray: 15359541/4
  • Core/Insulation Crimp: M/M
  • Release Tool/Test Probe: 15381651-2/J-35616-64B (L-BU)

Digital Radio Receiver (U2K)

Pin

Wire

Circuit

Function

1

0.5 TN/WH

372

Remote Radio Left Audio Signal (-)

2

0.5 BN/WH

367

Remote Radio Left Audio Signal (+)

3

0.5 D-GN/WH

368

Remote Radio Right Audio Signal (+)

4

0.5 GY

388

Remote Radio Right Audio Signal (-)

5

0.35 D-GN

5060

Low Speed GMLAN Serial Data

6-8

--

--

Not Used

9

0.5 BK/WH

651

Ground

10

--

--

Not Used

11

0.5 WH

6759

Discrete Audio Drain Wire

12-15

--

--

Not Used

16

0.5 RD/WH

2340

Battery Positive Voltage

Dome Lamp (UUC)


Object Number: 333035  Size: CH

Connector Part Information

  • OEM: 12047781
  • Service: 12101864
  • Description: 3-Way F Metri-Pack 150 Series (BK)

Terminal Part Information

  • Terminal/Tray: See Terminal Repair Kit
  • Core/Insulation Crimp: See Terminal Repair Kit
  • Release Tool/Test Probe: See Terminal Repair Kit

Dome Lamp (UUC)

Pin

Wire

Circuit

Function

A

0.8 OG

1732

Courtesy Lamp Control

B

0.8 BK

850

Ground

C

0.8 GY

157

Courtesy Lamp Control

Dome Lamp (without UUC)


Object Number: 130635  Size: CH

Connector Part Information

  • OEM: 12045813
  • Service: 12101889
  • Description: 4-Way F Metri-Pack 150 Series (CM)

Terminal Part Information

  • Terminal/Tray: See Terminal Repair Kit
  • Core/Insulation Crimp: See Terminal Repair Kit
  • Release Tool/Test Probe: See Terminal Repair Kit

Dome Lamp (without UUC)

Pin

Wire

Circuit

Function

A

0.8 D-BU/WH

149

Courtesy Lamp Control

B

0.8 GY

157

Courtesy Lamp Control

C

0.8 OG

1732

Courtesy Lamp Control

D

0.8 BK

850

Ground

Dome Lamp Switch (UUC)


Object Number: 287973  Size: CH

Connector Part Information

  • OEM: 12047782
  • Service: 12117371
  • Description: 3-Way M Metri-Pack 150 Series (BK)

Terminal Part Information

  • Terminal/Tray: See Terminal Repair Kit
  • Core/Insulation Crimp: See Terminal Repair Kit
  • Release Tool/Test Probe: See Terminal Repair Kit

Dome Lamp Switch (UUC)

Pin

Wire

Circuit

Function

A

0.8 D-BU/WH

149

Courtesy Lamp Control

B

0.8 GY

157

Courtesy Lamp Control

C

0.8 OG

1732

Courtesy Lamp Control

Door Latch - Driver


Object Number: 812596  Size: CH

Connector Part Information

  • OEM: 6-1355683-1
  • Service: 88986251
  • Description: 6-Way F Sealed (BK)

Terminal Part Information

  • Terminal/Tray: See Terminal Repair Kit
  • Core/Insulation Crimp: See Terminal Repair Kit
  • Release Tool/Test Probe: See Terminal Repair Kit

Door Latch - Driver

Pin

Wire

Circuit

Function

1

0.35 BK

746

Right Front Door Ajar Switch Signal

2

0.5 TN

694

Driver Door Lock Actuator Unlock Control

3

0.5 GY

295

Door Lock Actuator Lock Control

4

0.35 RD/BK

745

Left Front Door Ajar Switch Signal

5

0.5 PU

294

Door Lock Actuator Unlock Control

6

0.5 BK

651

Ground

Door Latch - Left Rear


Object Number: 812596  Size: CH

Connector Part Information

  • OEM: 6-1355683-1
  • Service: 88986251
  • Description: 6-Way F Sealed (BK)

Terminal Part Information

  • Terminal/Tray: See Terminal Repair Kit
  • Core/Insulation Crimp: See Terminal Repair Kit
  • Release Tool/Test Probe: See Terminal Repair Kit

Door Latch - Left Rear

Pin

Wire

Circuit

Function

1

0.35 BK

295

Door Lock Actuator Lock Control

2

0.5 TN

294

Door Lock Actuator Unlock Control

3

0.5 GY

651

Ground

4

0.35 RD/BK

746

Right Front Door Ajar Switch Signal

5

0.5 PU

294

Door Lock Actuator Unlock Control

6

0.5 BK

651

Ground

Door Latch - Passenger


Object Number: 812596  Size: CH

Connector Part Information

  • OEM: 6-1355683-1
  • Service: 88986251
  • Description: 6-Way F Sealed (BK)

Terminal Part Information

  • Terminal/Tray: See Terminal Repair Kit
  • Core/Insulation Crimp: See Terminal Repair Kit
  • Release Tool/Test Probe: See Terminal Repair Kit

Door Latch - Passenger

Pin

Wire

Circuit

Function

1

0.35 BK

746

Right Front Door Ajar Switch Signal

2

0.5 TN

694

Driver Door Lock Actuator Unlock Control

3

0.5 GY

651

Ground

4

0.35 RD/BK

745

Left Front Door Ajar Switch Signal

5

0.5 PU

294

Door Lock Actuator Unlock Control

6

0.5 BK

295

Door Lock Actuator Lock Control

Door Latch - Right Rear


Object Number: 812596  Size: CH

Connector Part Information

  • OEM: 6-1355683-1
  • Service: 88986251
  • Description: 6-Way F Sealed (BK)

Terminal Part Information

  • Terminal/Tray: See Terminal Repair Kit
  • Core/Insulation Crimp: See Terminal Repair Kit
  • Release Tool/Test Probe: See Terminal Repair Kit

Door Latch - Right Rear

Pin

Wire

Circuit

Function

1

0.35 BK

746

Right Front Door Ajar Switch Signal

2

0.5 TN

294

Door Lock Actuator Unlock Control

3

0.5 GY

651

Ground

4

0.35 RD/BK

746

Right Front Door Ajar Switch Signal

5

0.5 PU

294

Door Lock Actuator Unlock Control

6

0.5 BK

295

Door Lock Actuator Lock Control

Door Lock Switch - Driver


Object Number: 1456982  Size: CH

Connector Part Information

  • OEM: 6098-0241
  • Service: See Catalog
  • Description: 3-Way F HD 090 Series (L-GY)

Terminal Part Information

  • Terminal/Tray: See Terminal Repair Kit
  • Core/Insulation Crimp: See Terminal Repair Kit
  • Release Tool/Test Probe: See Terminal Repair Kit

Door Lock Switch - Driver

Pin

Wire

Circuit

Function

1

0.35 RD/BK

780

Driver Door Lock Switch Lock Signal

2

0.35 OG/BK

781

Driver Door Lock Switch Unlock Signal

3

0.35 OG

651

Ground

Door Lock Switch - Passenger


Object Number: 1456982  Size: CH

Connector Part Information

  • OEM: 6098-0241
  • Service: See Catalog
  • Description: 3-Way F HD 090 Series (L-GY)

Terminal Part Information

  • Terminal/Tray: See Terminal Repair Kit
  • Core/Insulation Crimp: See Terminal Repair Kit
  • Release Tool/Test Probe: See Terminal Repair Kit

Door Lock Switch - Passenger

Pin

Wire

Circuit

Function

1

0.35 RD/BK

244

Passenger Door Lock Switch Lock Signal

2

0.35 OG/BK

245

Passenger Door Lock Switch Unlock Signal

3

0.35 OG

651

Ground

Driver Information Center (DIC) Switch


Object Number: 1715224  Size: CH

Connector Part Information

  • OEM: HCMPB-A05-K
  • Service: 88988747
  • Description: 5-Way F HCM Unsealed (BK)

Terminal Part Information

  • Terminal/Tray: SHCM-A03T-P025/20
  • Core/Insulation Crimp: J/J
  • Release Tool/Test Probe: 12094429/J-35616-64B (L-BU)

Driver Information Center (DIC) Switch

Pin

Wire

Circuit

Function

1

0.5 D-GN/WH

1358

Driver Information Center (DIC) Switch Signal

2

0.5 BN

897

Low Reference

3

0.5 PK

893

Driver Information Center (DIC) Select Menu Switch Signal

4

0.35 PU/WH

1382

LED Dimming Signal

5

0.35 BK

1450

Ground

Electric Power Steering (EPS) Module X1 (LNJ)


Object Number: 1881316  Size: CH

Connector Part Information

  • OEM: 6098-0601
  • Service: See Catalog
  • Description: 3-Way F TS 187 Series (L-GY)

Terminal Part Information

  • Terminal/Tray: See Terminal Repair Kit
  • Core/Insulation Crimp: See Terminal Repair Kit
  • Release Tool/Test Probe: See Terminal Repair Kit

Electric Power Steering (EPS) Module X1 (LNJ)

Pin

Wire

Circuit

Function

1

RD

--

Motor W Phase

2

WH

--

Motor V Phase

3

BK

--

Motor U Phase

Electric Power Steering (EPS) Module X2 (LNJ)


Object Number: 1881393  Size: CH

Connector Part Information

  • OEM: 1747085-1
  • Service: See Catalog
  • Description: 6-Way F 0.64 Series (NA)

Terminal Part Information

  • Terminal/Tray: See Terminal Repair Kit
  • Core/Insulation Crimp: See Terminal Repair Kit
  • Release Tool/Test Probe: See Terminal Repair Kit

Electric Power Steering (EPS) Module X2 (LNJ)

Pin

Wire

Circuit

Function

1

RD

--

Rotational Sensor Exciting

2

--

--

Not Used

3

BK

--

Rotational Sensor Exciting GND

4

--

--

Not Used

5

D-BU

--

Rotational Sensor COS

6

YE

--

Rotational Sensor SN

Electric Power Steering (EPS) Module X3 (LNJ)


Object Number: 1881391  Size: CH

Connector Part Information

  • OEM: 1747088-1
  • Service: See Catalog
  • Description: 8-Way F 0.64 Series (NA)

Terminal Part Information

  • Terminal/Tray: See Terminal Repair Kit
  • Core/Insulation Crimp: See Terminal Repair Kit
  • Release Tool/Test Probe: See Terminal Repair Kit

Electric Power Steering (EPS) Module X3 (LNJ)

Pin

Wire

Circuit

Function

1

GY

--

Torque Sensor GND

2

WH

--

Torque Sensor Exciting GND

3

--

--

Not Used

4

D-GN

--

Torque Sensor Exciting

5

L-BU

--

Torque Sensor Output Shaft Side COS

6

YE

--

Torque Sensor Output Shaft Side SN

7

BK

--

Torque Sensor Input Shaft Side COS

8

PK

--

Torque Sensor Input Shaft Side SN

Electric Power Steering (EPS) Module X4 (LNJ)


Object Number: 1866124  Size: CH

Connector Part Information

  • OEM: 1565287-1
  • Service: See Catalog
  • Description: 12-Way F 0.64 Series (NA)

Terminal Part Information

  • Terminal/Tray: See Terminal Repair Kit
  • Core/Insulation Crimp: See Terminal Repair Kit
  • Release Tool/Test Probe: See Terminal Repair Kit

Electric Power Steering (EPS) Module X4 (LNJ)

Pin

Wire

Circuit

Function

1

0.35 TN/BK

2500

High Speed GMLAN Serial Data Bus+

2

0.35 TN/BK

2500

High Speed GMLAN Serial Data Bus+ (LNJ without UE1)

0.5 TN/BK

2500

High Speed GMLAN Serial Data Bus+ (LNJ with UE1)

3-5

--

--

Not Used

6

0.35 L-BU

5986

Serial Data Communications Enable

7

0.35 TN

2501

High Speed GMLAN Serial Data Bus-

8

0.35 TN

2501

High Speed GMLAN Serial Data Bus- (LNJ without UE1)

0.5 TN

2501

High Speed GMLAN Serial Data Bus- (LNJ with UE1)

9-12

--

--

Not Used

Electric Power Steering (EPS) Module X5 (LNJ)


Object Number: 1866125  Size: CH

Connector Part Information

  • OEM: 7283-3521-40
  • Service: 19153195
  • Description: 2-Way F 9.5 Series (L-GY)

Terminal Part Information

  • Terminal/Tray: See Terminal Repair Kit
  • Core/Insulation Crimp: See Terminal Repair Kit
  • Release Tool/Test Probe: See Terminal Repair Kit

Electric Power Steering (EPS) Module X5 (LNJ)

Pin

Wire

Circuit

Function

1

8.0 RD/BK

42

Battery Positive Voltage

2

8.0 BK

2050

Ground

Electronic Brake Control Module (EBCM)


Object Number: 1830966  Size: CH

Connector Part Information

  • OEM: 7-1355628-6
  • Service: See Catalog
  • Description: 47-Way F MK25/60 Series Sealed (BK)

Terminal Part Information

  • Pins: 47
  • Terminal/Tray: 7116-4141-02/10
  • Core/Insulation Crimp: 4/3
  • Release Tool/Test Probe: 12094430/J-35616-42 (RD)
  • Pins: 1, 16
  • Terminal/Tray: 7116-4142-02/10
  • Core/Insulation Crimp: Pins 1 - A/3
  • Core/Insulation Crimp: Pins 16 - D/3
  • Release Tool/Test Probe: 12094430/J-35616-42 (RD)
  • Pins: 3, 11-14, 18-19, 22, 29, 33-34, 36-37, 42-43, 45, 46, 8
  • Terminal/Tray: 638551-1/16
  • Core/Insulation Crimp: Pins 3, 11-14, 18-19, 22, 29, 33-34, 36-37, 42-43, 45-46 - K/K
  • Core/Insulation Crimp: Pins 8 - J/J
  • Release Tool/Test Probe: 15315247/J-35616-64B (L-BU)

Electronic Brake Control Module (EBCM)

Pin

Wire

Circuit

Function

1

3.0 RD/BK

142

Battery Positive Voltage

2

--

--

Not Used

3

0.5 D-GN/WH

817

Vehicle Speed Signal

4-7

--

--

Not Used

8

0.35 L-BU

5986

Serial Data Communication Enable

9-10

--

--

Not Used

11

0.5 TN/BK

2500

High Speed GMLAN Serial Data Bus+

12

0.5 TN/BK

2500

High Speed GMLAN Serial Data Bus+

13

0.5 TN

2501

High Speed GMLAN Serial Data Bus-

14

0.5 TN

2501

High Speed GMLAN Serial Data Bus-

15

--

--

Not Used

16

5.0 BK

250

Ground

17

--

--

Not Used

18

0.5 TN/WH

6433

CAN Bus High Serial Data

19

0.5 L-GN/BK

6432

CAN Bus Low Serial Data

20-21

--

--

Not Used

22

0.5 GY

6044

12-Volt Reference

23-28

--

--

Not Used

29

0.5 OG/BK

6045

Low Reference

30-31

--

--

Not Used

32

2.0 RD/WH

140

Battery Positive Voltage

33

0.5 TN

833

Low Reference

34

0.5 D-GN

872

Right Front Wheel Speed Sensor Signal

35

--

--

Not Used

36

0.5 TN

884

Left Rear Wheel Speed Sensor Signal

37

0.5 OG

885

Low Reference

38-41

--

--

Not Used

42

0.5 WH

883

Low Reference

43

0.5 BN

882

Right Rear Wheel Speed Sensor Signal

44

--

--

Not Used

45

0.5 L-BU

830

Left Front Wheel Speed Sensor Signal

46

0.5 YE

873

Low Reference

47

--

--

Not Used

Electronic Compass Module (U80)


Object Number: 1865635  Size: CH

Connector Part Information

  • OEM: 13541539
  • Service: See Catalog
  • Description: 4-Way F AIT II Series (BK)

Terminal Part Information

  • Terminal/Tray: See Terminal Repair Kit
  • Core/Insulation Crimp: See Terminal Repair Kit
  • Release Tool/Test Probe: See Terminal Repair Kit

Electronic Compass Module (U80)

Pin

Wire

Circuit

Function

1

0.35 YE

643

Ignition Voltage

2

0.35 BK

850

Ground

3

0.35 D-GN

6134

Local Interconnect Network 3

4

--

--

Not Used

Engine Control Module (ECM) X1 (LNJ)


Object Number: 1590592  Size: CH

Connector Part Information

  • OEM: 12582677
  • Service: 88988931
  • Description: 73-Way F Receptacle 0.64 2.8 Sealed (BK)

Terminal Part Information

  • Pins: 1, 9-13, 16-20, 23-24, 27-34, 36-38, 41, 47, 50, 52, 56, 58-59, 61, 63, 65, 68
  • Terminal/Tray: 33467-0005/23
  • Core/Insulation Crimp: J/J
  • Release Tool/Test Probe: J-38125-213/J-35616-64B (L-BU)
  • Pins: 73
  • Terminal/Tray: 7116-4151-02/9
  • Core/Insulation Crimp: E/1
  • Release Tool/Test Probe: 12094430/J-35616-4A (PU)

Engine Control Module (ECM) X1 (LNJ)

Pin

Wire

Circuit

Function

1

0.5 OG/BK

1786

Park/Neutral Signal

2-8

--

--

Not Used

9

0.5 WH

17

Stop Lamp Switch Signal

10

0.5 PU/WH

1668

HO2S High Signal - Bank 1 Sensor 2

11

0.5 TN/WH

1669

HO2S Low Signal - Bank 1 Sensor 2

12

0.5 OG/BK

380

A/C Refrigerant Pressure Sensor Signal

13

0.5 TN

5514

Low Reference

14-15

--

--

Not Used

16

0.5 PU

1589

Fuel Level Sensor Signal

17

0.5 D-BU

473

High Speed Cooling Fan Relay Control

18

0.5 BN

4

Ignition Voltage

19

0.5 PK

439

Ignition Voltage

20

0.5 RD/WH

1540

Battery Positive Voltage

21-22

--

--

Not Used

23

0.5 PU

1272

Low Reference

24

0.5 D-GN

890

Fuel Tank Pressure Sensor Signal

25-26

--

--

Not Used

27

0.5 TN

2501

High Speed GMLAN Serial Data Bus (-)

28

0.5 TN/BK

2500

High Speed GMLAN Serial Data Bus (+)

29

0.5 D-BU

1161

Accelerator Pedal Position (APP) Sensor 1 Signal

30

0.5 BN

1271

Low Reference

31

0.5 TN

2759

Low Reference

32

0.5 L-BU

1162

Accelerator Pedal Position (APP) Sensor 2 Signal

33

0.5 GY

2709

5-Volt Reference 1

34

0.5 GY

2700

5-Volt Reference 1

35

--

--

Not Used

36

0.5 TN

1274

5-Volt Reference 1

37

0.5 TN

472

IAT Sensor Signal

38

0.5 TN

2760

Low Reference

39-40

--

--

Not Used

41

0.5 YE

492

Mass Air Flow (MAF) Sensor Signal

42-46

--

--

Not Used

47

0.5 PK/BK

5290

Ignition Voltage

48-49

--

--

Not Used

50

0.5 D-GN/WH

465

Fuel Pump Relay Control

51

--

--

Not Used

52

0.5 YE

447

Starter Relay Coil Control

53-55

--

--

Not Used

56

0.5 WH/BK

1164

5-Volt Reference 2

57

--

--

Not Used

58

0.5 D-GN

335

Low Speed Cooling Fan Relay Control

59

0.5 BN

5069

Main Relay Control

60

--

--

Not Used

61

0.5 WH

1310

EVAP Canister Vent Solenoid Control

62

--

--

Not Used

63

0.5 D-GN/WH

459

A/C Compressor Clutch Relay Control

64

--

--

Not Used

65

0.5 GY/WH

3122

HO2S 2 Heater Low Control

66-67

--

--

Not Used

68

0.5 BN/WH

419

Malfunction Indicator Lamp (MIL) Control

69-72

--

--

Not Used

73

0.8 BK/WH

451

Ground

Engine Control Module (ECM) X1 (LY7)


Object Number: 1826274  Size: CH

Connector Part Information

  • OEM: 1928404927
  • Service: See Catalog
  • Description: 96-Way F 1.2 Series Sealed (BK)

Terminal Part Information

  • Terminal/Tray: 1928498135/19
  • Core/Insulation Crimp: J/J
  • Release Tool/Test Probe: J-38125-213/J-35616-64B (L-BU)

Engine Control Module (ECM) X1 (LY7)

Pin

Wire

Circuit

Function

1

0.8 L-GN

5282

Camshaft Phaser Exhaust Solenoid 1

2

0.8 PU

5284

Camshaft Phaser Intake Solenoid 1

3

--

--

Not Used

4

0.8 YE/BK

846

Fuel Injector 6 Control

5

0.8 D-GN/WH

428

EVAP Canister Purge Solenoid Control

6

--

--

Not Used

7

0.5 OG

5275

Camshaft Position Intake Sensor 1

8

--

--

Not Used

9

0.5 PU

5274

Camshaft Position Exhaust Sensor 2

10

0.5 OG

225

Generator Turn On Signal

11-12

--

--

Not Used

13

0.5 BN/WH

2130

Low Reference

14

--

--

Not Used

15

0.5 GY

705

5-Volt Reference 2

16

--

--

Not Used

17

0.5 TN/BK

231

Oil Pressure Switch Signal

18-23

--

--

Not Used

24

0.8 YE

581

Throttle Actuator Control (TAC) Motor Control - 1

25

0.8 WH/BK

5283

Camshaft Phaser Exhaust Solenoid 2

26

0.8 PK/BK

1746

Fuel Injector 3 Control

27

--

--

Not Used

28

0.8 TN/WH

845

Fuel Injector 5 Control

29

--

--

Not Used

30

0.5 GY

23

Generator Field Duty Cycle Signal

31-32

--

--

Not Used

33

0.5 YE

5276

Camshaft Position Intake Sensor 2

34

0.5 D-GN

5273

Camshaft Position Exhaust Sensor 1

35

0.5 YE

573

Crankshaft Position Sensor (CKP) 1 Signal

36-38

--

--

Not Used

39

0.5 GY

2701

5-Volt Reference 3

40

--

--

Not Used

41

0.5 TN

552

Low Reference

42

--

--

Not Used

43

0.5 TN

470

Low Reference

44

0.5 TN

2761

Low Reference

45

0.5 GY

605

5-Volt Reference 3

46

0.5 TN

452

Low Reference

47

--

--

Not Used

48

0.8 BN

582

Throttle Actuator Control (TAC) Motor Control - 2

49

0.8 OG/BK

5272

Camshaft Phaser Intake Solenoid 2

50

0.8 L-BU/BK

844

Fuel Injector 4 Control

51

0.8 TN

1744

Fuel Injector 1 Control

52

0.8 L-GN/BK

1745

Fuel Injector 2 Control

53-54

--

--

Not Used

55

0.5 PU

2121

IC 1 Control

56

0.5 L-BU

2123

IC 3 Control

57

0.5 D-GN

2125

IC 5 Control

58

--

--

Not Used

59

0.5 D-BU

496

Knock Sensor 1 Signal

60

0.5 GY

2303

Knock Sensor 2 Signal

61-66

--

--

Not Used

67

0.5 TN

1664

HO2S Low Signal - Bank 1 Sensor 1

68-69

--

--

Not Used

70

0.5 PU

1666

HOS2 High Signal - Bank 2 Sensor 1

71

--

--

Not Used

72

0.5 L-GN

3212

HO2S Heater Low Control - Bank 2 Sensor 1

73-77

--

--

Not Used

78

0.5 BN

2129

Low Reference

79

0.5 OG/WH

2122

IC 2 Control

80

0.5 D-GN/WH

2124

IC 4 Control

81

0.5 L-BU/WH

2126

IC 6 Control

82

0.5 YE

410

Engine Coolant Temperature Sensor Signal

83

0.5 GY

1716

Knock Sensor 1 Signal

84

0.5 L-BU

1876

Knock Sensor 2 Signal

85-87

--

--

Not Used

88

0.5 TN

2752

Low Reference

89

0.5 PU

486

Throttle Position Sensor 2 Signal

90

0.5 D-GN

485

Throttle Position Sensor 1 Signal

91

--

--

Not Used

92

0.5 PU/WH

1665

HO2S High Signal - Bank 1 Sensor 1

93

0.5 TN

1667

HO2S Low Signal - Bank 2 Sensor 1

94-95

--

--

Not Used

96

0.5 GY/WH

3113

HO2S Heater Low Control - Bank 1 Sensor 1

Engine Control Module (ECM) X2 (LNJ)


Object Number: 1830236  Size: CH

Connector Part Information

  • OEM: 34566-0803
  • Service: 19115670
  • Description: 80-Way F Receptacle 0.64 2.8 Sealed (GY)

Terminal Part Information

  • Pins: 2, 3, 5, 6, 8, 12, 15, 17-21, 26-32, 35, 37, 40, 42-44, 46, 53-58, 61, 63-66, 68-72, 78, 80
  • Terminal/Tray: 33467-0005/23
  • Core/Insulation Crimp: Pins 2, 3, 8, 12, 15, 17-21, 26-32, 35, 37, 40, 42-44, 46, 53-58, 61, 63-66, 68-72, 78, 80 - J/J
  • Core/Insulation Crimp: Pins 5-6 - K/K
  • Release Tool/Test Probe: J-38125-213/J-35616-64B (L-BU)

Engine Control Module (ECM) X2 (LNJ)

Pin

Wire

Circuit

Function

1

--

--

Not Used

2

0.5 PU/WH

6270

5-Volt Reference 2

3

0.5 GY

2701

5-Volt Reference 2

4

--

--

Not Used

5

0.8 BN

582

Throttle Actuator Control (TAC) Motor Control - 2

6

0.8 YE

581

Throttle Actuator Control (TAC) Motor Control - 1

7

--

--

Not Used

8

0.5 D-GN/WH

428

EVAP Canister Purge Solenoid Control

9-11

--

--

Not Used

12

0.5 GY/WH

3113

HO2S 1 Heater Low Control

13-14

--

--

Not Used

15

0.5 OG

1676

EGR Solenoid High Control

16

--

--

Not Used

17

0.5 L-GN/BK

1745

Fuel Injector 2 Control

18

0.5 YE/BK

846

Fuel Injector 6 Control

19

0.5 TN/WH

845

Fuel Injector 5 Control

20

0.5 TN

1744

Fuel Injector 1 Control

21

0.5 YE

410

Engine Coolant Temperature Sensor Signal

22-25

--

--

Not Used

26

0.5 D-BU

496

Knock Sensor 1 Signal

27

0.5 GY

1716

Knock Sensor 1 Signal

28

--

--

Not Used

29

0.5 L-BU

1876

Knock Sensor 2 Signal

30

0.5 GY

2303

Knock Sensor 2 Signal

31

--

--

Not Used

32

0.5 GY

23

Generator Field Duty Cycle Signal

33-34

--

--

Not Used

35

0.5 TN

2752

Low Reference

36

--

--

Not Used

37

0.5 L-BU/BK

844

Fuel Injector 4 Control

38-39

--

--

Not Used

40

0.5 PK/BK

1746

Fuel Injector 3 Control

41

--

--

Not Used

42

0.5 GY

5047

5-Volt Reference 1

43

0.5 GY

2704

5-Volt Reference 1

44

0.5 D-BU

6259

5-Volt Reference 1

45

--

--

Not Used

46

0.5 GY

435

EGR Solenoid Low Control

47-52

--

--

Not Used

53

0.5 OG/BK

469

Low Reference

54

0.5 TN

2753

Low Reference

55

0.5 BN

1456

EGR Valve Position Signal

56

0.5 TN/WH

1653

HO2S Low Signal - Bank 1 Sensor 1

57

0.5 PU/WH

1665

HO2S High Signal - Bank 1 Sensor 1

58

0.5 L-GN

432

Manifold Absolute Pressure (MAP) Sensor Signal

59-60

--

--

Not Used

61

0.5 OG

225

Generator Turn On Signal

62

--

--

Not Used

63

0.5 PU

486

Throttle Position Sensor 2 Signal

64

0.5 BN/WH

633

Camshaft Position Sensor (CMP) Signal

65

0.5 D-GN

485

Throttle Position Sensor 1 Signal

66

0.5 TN

407

Low Reference

67

--

--

Not Used

68

0.5 WH/BK

6271

Crankshaft Position Sensor Signal

69

0.5 GY/BK

6272

Low Reference

70

0.5 PU

2121

IC 1 Control

71

0.5 OG/WH

2122

IC 2 Control

72

0.5 L-BU

2123

IC 3 Control

73-77

--

--

Not Used

78

0.5 YE

2174

Low Reference

79

--

--

Not Used

80

0.5 TN/BK

231

Oil Pressure Switch Signal

Engine Control Module (ECM) X2 (LY7)


Object Number: 1360604  Size: CH

Connector Part Information

  • OEM: 1928404916
  • Service: 19115599
  • Description: 58-Way F 2.8 Series Sealed (BK)

Terminal Part Information

  • Pins: 1-2, 4-5
  • Terminal/Tray: 1928498058/8
  • Core/Insulation Crimp: E/1
  • Release Tool/Test Probe: J-38125-561/J-35616-4A (PU)
  • Pins: 7, 9, 10-15, 17, 19-20, 22-25, 27, 34-36, 38-39, 41-42, 44-52, 54-58
  • Terminal/Tray: 1928498135/19
  • Core/Insulation Crimp: J/J
  • Release Tool/Test Probe: J-38125-213/J-35616-64B (L-BU)

Engine Control Module (ECM) X2 (LY7)

Pin

Wire

Circuit

Function

1

0.8 BK/WH

451

Ground

2

0.8 BK/WH

451

Ground

3

--

--

Not Used

4

0.8 BK/WH

451

Ground

5

1.0 PK/BK

5290

Ignition Voltage

6

--

--

Not Used

7

0.5 GY/WH

3122

HO2S Heater Low Control - Bank 2 Sensor 1

8

--

--

Not Used

9

0.5 TN

2759

Low Reference

10

0.5 D-GN/WH

465

Fuel Pump Relay Control

11

0.5 TN

5514

Low Reference

12

0.5 BN/WH

419

Malfunction Indicator Lamp (MIL) Control

13

0.5 YE

492

Mass Air Flow (MAF) Sensor Signal

14

0.5 GY

2709

5-Volt Reference 1

15

0.5 D-BU

1161

Accelerator Pedal Position (APP) Sensor 1 Signal

16

--

--

Not Used

17

0.5 OG/BK

1786

Park/Neutral Signal

18

--

--

Not Used

19

0.8 WH

1310

EVAP Canister Vent Solenoid Control

20

0.5 OG/WH

3223

HO2S Heater Low Control Bank 2 Sensor 2

21

--

--

Not Used

22

0.5 TN

2760

Low Reference

23

0.5 TN/WH

1669

HO2S Low Signal - Bank 1 Sensor 2

24

0.5 TN

1671

HO2S Low Signal - Bank 2 Sensor 2

25

0.5 L-BU

1162

Accelerator Pedal Position (APP) Sensor 2 Signal

26

--

--

Not Used

27

0.5 D-GN

890

Fuel Tank Pressure Sensor Signal

28-33

--

--

Not Used

34

0.5 BN

1271

Low Reference

35

0.5 GY

2700

5-Volt Reference 3

36

0.5 PU

1589

Fuel Level Sensor Signal

37

--

--

Not Used

38

0.5 PU/WH

1668

HO2S High Signal - Bank 1 Sensor 2

39

0.5 OG/BK

380

A/C Refrigerant Pressure Sensor Signal

40

--

--

Not Used

41

0.5 BN

4

Ignition Voltage

42

0.5 TN/BK

2500

High Speed GMLAN Serial Data Bus+

43

--

--

Not Used

44

0.5 D-GN/WH

459

A/C Compressor Clutch Relay Control

45

0.5 D-BU

473

High Speed Cooling Fan Relay Control

46

0.5 D-GN

335

Low Speed Cooling Fan Relay Control

47

0.5 PU

1272

Low Reference

48

0.5 TN

1274

5-Volt Reference 3

49

0.5 WH/BK

1164

5-Volt Reference 2

50

0.5 TN

472

IAT Sensor Signal

51

0.5 PU

1670

HO2S High Signal - Bank 2 Sensor 2

52

0.5 WH

17

Stop Lamp Switch Signal

53

--

--

Not Used

54

0.5 PK

439

Ignition Voltage

55

0.5 TN

2501

High Speed GMLAN Serial Data Bus-

56

0.5 RD/WH

1540

Battery Positive Voltage

57

0.5 YE

447

Starter Relay Coil Control

58

0.5 BN

5069

Engine Main Relay Coil Control

Engine Coolant Temperature (ECT) Sensor (LNJ)


Object Number: 237066  Size: CH

Connector Part Information

  • OEM: 15359366
  • Service: 88987993
  • Description: 2-Way F Metri-Pack 150.2 Series Sealed (BK)

Terminal Part Information

  • Terminal/Tray: 15326267/19
  • Core/Insulation Crimp: E/4
  • Release Tool/Test Probe: 15315247/J-35616-2A (GY)

Engine Coolant Temperature (ECT) Sensor (LNJ)

Pin

Wire

Circuit

Function

A

0.5 OG/BK

469

Low Reference

B

0.5 YE

410

Engine Coolant Temperature Sensor Signal

Engine Coolant Temperature (ECT) Sensor (LY7)


Object Number: 784092  Size: CH

Connector Part Information

  • OEM: 1928403874
  • Service: 88988963
  • Description: 2-Way F Kompakt 2.8 Series Sealed (BK)

Terminal Part Information

  • Terminal/Tray: 1928498054/8
  • Core/Insulation Crimp: E/1
  • Release Tool/Test Probe: J-38125-561/J-35616-4A (PU)

Engine Coolant Temperature (ECT) Sensor (LY7)

Pin

Wire

Circuit

Function

1

0.5 YE

410

Engine Coolant Temperature Sensor Signal

2

0.5 TN

2761

Low Reference

Engine Cooling Fan - Left


Object Number: 811182  Size: CH

Connector Part Information

  • OEM: 7283-5596-10
  • Service: 88953307
  • Description: 2-Way F YESC/USCAR Class III (D-GY)

Terminal Part Information

  • Terminal/Tray: 7116-4122-02/10
  • Core/Insulation Crimp: A/B
  • Release Tool/Test Probe: 12094430/J-35616-42 (RD)

Engine Cooling Fan - Left

Pin

Wire

Circuit

Function

1

3.0 GY

532

Cooling Fan Motor Control

2

3.0 WH

504

Low Reference

Engine Cooling Fan - Right


Object Number: 811182  Size: CH

Connector Part Information

  • OEM: 7283-5596-10
  • Service: 88953307
  • Description: 2-Way F YESC/USCAR Class III (D-GY)

Terminal Part Information

  • Terminal/Tray: 7116-4122-02/10
  • Core/Insulation Crimp: A/B
  • Release Tool/Test Probe: 12094430/J-35616-42 (RD)

Engine Cooling Fan - Right

Pin

Wire

Circuit

Function

1

3.0 L-BU

409

Cooling Fan Motor Control

2

3.0 BK

1250

Ground

Engine Oil Pressure (EOP) Switch (LNJ)


Object Number: 516595  Size: CH

Connector Part Information

  • OEM: 12065299
  • Service: 12085500
  • Description: 1-Way F Metri-Pack 150 Series Sealed (L-GY)

Terminal Part Information

  • Terminal/Tray: 12048074/2
  • Core/Insulation Crimp: E/1
  • Release Tool/Test Probe: 12094429/J-35616-2A (GY)

Engine Oil Pressure (EOP) Switch (LNJ)

Pin

Wire

Circuit

Function

A

0.5 TN/BK

231

Oil Pressure Switch Signal

Engine Oil Pressure (EOP) Switch (LY7)


Object Number: 516616  Size: CH

Connector Part Information

  • OEM: 12065400
  • Service: 12126436
  • Description: 4-Way F Metri-Pack 150 Series Sealed (GN)

Terminal Part Information

  • Terminal/Tray: 12048074/2
  • Core/Insulation Crimp: E/1
  • Release Tool/Test Probe: 12094429/J-35616-2A (GY)

Engine Oil Pressure (EOP) Switch (LY7)

Pin

Wire

Circuit

Function

A

0.5 TN/BK

231

Oil Pressure Switch Signal

B

0.5 TN

470

Low Reference

C-D

--

--

Not Used

Evaporative Emission (EVAP) Canister Purge Solenoid Valve (LNJ)


Object Number: 684829  Size: CH

Connector Part Information

  • OEM: 12124037
  • Service: 12124037
  • Description: 2-Way F Metri-Pack 150 Series Sealed (BK)

Terminal Part Information

  • Terminal/Tray: 1928498056/8
  • Core/Insulation Crimp: E/1
  • Release Tool/Test Probe: J-38125-561/J-35616-4A (PU)

Evaporative Emission (EVAP) Canister Purge Solenoid Valve (LNJ)

Pin

Wire

Circuit

Function

A

0.8 PK/BK

5292

Powertrain Main Relay Fused Supply

B

0.5 D-GN/WH

428

EVAP Canister Purge Solenoid Control

Evaporative Emission (EVAP) Canister Purge Solenoid Valve (LY7)


Object Number: 1331450  Size: CH

Connector Part Information

  • OEM: 1928404072
  • Service: 88988586
  • Description: 2-Way F Sealed (BK)

Terminal Part Information

  • Terminal/Tray: 1928498056/8
  • Core/Insulation Crimp: E/1
  • Release Tool/Test Probe: J-38125-561/J-35616-4A (PU)

Evaporative Emission (EVAP) Canister Purge Solenoid Valve (LY7)

Pin

Wire

Circuit

Function

1

0.8 PK/BK

5293

Ignition Voltage

2

0.8 D-GN/WH

428

EVAP Canister Purge Solenoid Control

Evaporative Emission (EVAP) Canister Vent Solenoid Valve


Object Number: 684795  Size: CH

Connector Part Information

  • OEM: 12052643
  • Service: 12101858
  • Description: 2-Way F Metri-Pack 150 Series Sealed (RD)

Terminal Part Information

  • Terminal/Tray: See Terminal Repair Kit
  • Core/Insulation Crimp: See Terminal Repair Kit
  • Release Tool/Test Probe: See Terminal Repair Kit

Evaporative Emissions (EVAP) Canister Vent Solenoid Valve

Pin

Wire

Circuit

Function

A

0.5 RD/WH

2840

Battery Positive Voltage

B

0.5 WH

1310

EVAP Canister Vent Solenoid Control

Evaporator Temperature Sensor


Object Number: 82383  Size: CH

Connector Part Information

  • OEM: 12047662
  • Service: 12085535
  • Description: 2-Way F Metri-Pack 150 Series (BK)

Terminal Part Information

  • Terminal/Tray: See Terminal Repair Kit
  • Core/Insulation Crimp: See Terminal Repair Kit
  • Release Tool/Test Probe: See Terminal Repair Kit

Evaporator Temperature Sensor

Pin

Wire

Circuit

Function

A

0.35 WH

2622

Evaporator Temperature Sensor Signal

B

0.35 TN

552

Low Reference

Exhaust Gas Recirculation (EGR) Valve (LNJ)


Object Number: 594477  Size: CH

Connector Part Information

  • OEM: 15326389
  • Service: 15306175
  • Description: 5-Way F Metri-Pack 150 Sealed (BK)

Terminal Part Information

  • Terminal/Tray: 15326267/19
  • Core/Insulation Crimp: E/4
  • Release Tool/Test Probe: 15315247/J-35616-2A (GY)

Exhaust Gas Recirculation (EGR) Valve (LNJ)

Pin

Wire

Circuit

Function

A

0.5 GY

435

EGR Solenoid Low Control

B

0.5 TN

2753

Low Reference

C

0.5 BN

1456

EGR Valve Position Signal

D

0.5 GY

5047

5-Volt Reference 1

E

0.5 OG

1676

EGR Solenoid High Control

Fog Lamp - Left Front (T96)


Object Number: 1413064  Size: CH

Connector Part Information

  • OEM: 12124819
  • Service: 12085498
  • Description: 2-Way F Metri-Pack 280 Series Sealed (BK)

Terminal Part Information

  • Terminal/Tray: 12077411/2
  • Core/Insulation Crimp: 2/5
  • Release Tool/Test Probe: 12094430/J-35616-4A (PU)

Fog Lamp - Left Front (T96)

Pin

Wire

Circuit

Function

A

PU

34

Front Fog Lamp Control

B

BK

1250

Ground

Fog Lamp - Right Front (T96)


Object Number: 1413064  Size: CH

Connector Part Information

  • OEM: 12124819
  • Service: 12085498
  • Description: 2-Way F Metri-Pack 280 Series Sealed (BK)

Terminal Part Information

  • Terminal/Tray: 12077411/2
  • Core/Insulation Crimp: 2/5
  • Release Tool/Test Probe: 12094430/J-35616-4A (PU)

Fog Lamp - Right Front (T96)

Pin

Wire

Circuit

Function

A

0.5 PU

34

Front Fog Lamp Control

B

0.5 BK

1250

Ground

Fuel Injector 1 (LNJ)


Object Number: 603098  Size: CH

Connector Part Information

  • OEM: 15355226
  • Service: 15355226
  • Description: 2-Way F Metri-Pack 150 Tangless Series Sealed (BK)

Terminal Part Information

  • Terminal/Tray: See Terminal Repair Kit
  • Core/Insulation Crimp: See Terminal Repair Kit
  • Release Tool/Test Probe: See Terminal Repair Kit

Fuel Injector 1 (LNJ)

Pin

Wire

Circuit

Function

A

0.5 PK

5291

Ignition Voltage

B

0.5 BK

1744

Fuel Injector 1 Control

Fuel Injector 1 (LY7)


Object Number: 603098  Size: CH

Connector Part Information

  • OEM: 15419715
  • Service: 88988313
  • Description: 2-Way F GT 150 Series Sealed (GY)

Terminal Part Information

  • Terminal/Tray: See Terminal Repair Kit
  • Core/Insulation Crimp: See Terminal Repair Kit
  • Release Tool/Test Probe: See Terminal Repair Kit

Fuel Injector 1 (LY7)

Pin

Wire

Circuit

Function

A

0.5 WH

5291

Ignition Voltage

B

0.5 TN

1744

Fuel Injector 1 Control

Fuel Injector 2 (LNJ)


Object Number: 603098  Size: CH

Connector Part Information

  • OEM: 15355226
  • Service: 15355226
  • Description: 2-Way F Metri-Pack 150 Tangless Series Sealed (BK)

Terminal Part Information

  • Terminal/Tray: See Terminal Repair Kit
  • Core/Insulation Crimp: See Terminal Repair Kit
  • Release Tool/Test Probe: See Terminal Repair Kit

Fuel Injector 2 (LNJ)

Pin

Wire

Circuit

Function

A

0.5 PK

5291

Ignition Voltage

B

0.5 L-GN/BK

1745

Fuel Injector 2 Control

Fuel Injector 2 (LY7)


Object Number: 603098  Size: CH

Connector Part Information

  • OEM: 15419715
  • Service: 88988313
  • Description: 2-Way F GT 150 Series Sealed (GY)

Terminal Part Information

  • Terminal/Tray: See Terminal Repair Kit
  • Core/Insulation Crimp: See Terminal Repair Kit
  • Release Tool/Test Probe: See Terminal Repair Kit

Fuel Injector 2 (LY7)

Pin

Wire

Circuit

Function

A

0.5 WH

5291

Ignition Voltage

B

0.5 L-GN/BK

1745

Fuel Injector 2 Control

Fuel Injector 3 (LNJ)


Object Number: 603098  Size: CH

Connector Part Information

  • OEM: 15355226
  • Service: 15355226
  • Description: 2-Way F Metri-Pack 150 Tangless Series Sealed (BK)

Terminal Part Information

  • Terminal/Tray: See Terminal Repair Kit
  • Core/Insulation Crimp: See Terminal Repair Kit
  • Release Tool/Test Probe: See Terminal Repair Kit

Fuel Injector 3 (LNJ)

Pin

Wire

Circuit

Function

A

0.5 PK

5291

Ignition Voltage

B

0.5 PK/BK

1746

Fuel Injector 3 Control

Fuel Injector 3 (LY7)


Object Number: 603098  Size: CH

Connector Part Information

  • OEM: 15419715
  • Service: 88988313
  • Description: 2-Way F GT 150 Series Sealed (GY)

Terminal Part Information

  • Terminal/Tray: See Terminal Repair Kit
  • Core/Insulation Crimp: See Terminal Repair Kit
  • Release Tool/Test Probe: See Terminal Repair Kit

Fuel Injector 3 (LY7)

Pin

Wire

Circuit

Function

A

0.5 WH

5291

Ignition Voltage

B

0.5 PK/BK

1746

Fuel Injector 3 Control

Fuel Injector 4 (LNJ)


Object Number: 603098  Size: CH

Connector Part Information

  • OEM: 15355226
  • Service: 15355226
  • Description: 2-Way F Metri-Pack 150 Tangless Series Sealed (BK)

Terminal Part Information

  • Terminal/Tray: See Terminal Repair Kit
  • Core/Insulation Crimp: See Terminal Repair Kit
  • Release Tool/Test Probe: See Terminal Repair Kit

Fuel Injector 4 (LNJ)

Pin

Wire

Circuit

Function

A

0.5 PK

5291

Ignition Voltage

B

0.5 L-BU/BK

844

Fuel Injector 4 Control

Fuel Injector 4 (LY7)


Object Number: 603098  Size: CH

Connector Part Information

  • OEM: 15419715
  • Service: 88988313
  • Description: 2-Way F GT 150 Series Sealed (GY)

Terminal Part Information

  • Terminal/Tray: See Terminal Repair Kit
  • Core/Insulation Crimp: See Terminal Repair Kit
  • Release Tool/Test Probe: See Terminal Repair Kit

Fuel Injector 4 (LY7)

Pin

Wire

Circuit

Function

A

0.5 WH

5291

Ignition Voltage

B

0.5 L-BU/BK

844

Fuel Injector 4 Control

Fuel Injector 5 (LNJ)


Object Number: 603098  Size: CH

Connector Part Information

  • OEM: 15355226
  • Service: 15355226
  • Description: 2-Way F Metri-Pack 150 Tangless Series Sealed (BK)

Terminal Part Information

  • Terminal/Tray: See Terminal Repair Kit
  • Core/Insulation Crimp: See Terminal Repair Kit
  • Release Tool/Test Probe: See Terminal Repair Kit

Fuel Injector 5 (LNJ)

Pin

Wire

Circuit

Function

A

0.5 PK

5291

Ignition Voltage

B

0.5 BK/WH

845

Fuel Injector 5 Control

Fuel Injector 5 (LY7)


Object Number: 603098  Size: CH

Connector Part Information

  • OEM: 15419715
  • Service: 88988313
  • Description: 2-Way F GT 150 Series Sealed (GY)

Terminal Part Information

  • Terminal/Tray: See Terminal Repair Kit
  • Core/Insulation Crimp: See Terminal Repair Kit
  • Release Tool/Test Probe: See Terminal Repair Kit

Fuel Injector 5 (LY7)

Pin

Wire

Circuit

Function

A

0.5 WH

5291

Ignition Voltage

B

0.5 TN/WH

845

Fuel Injector 5 Control

Fuel Injector 6 (LNJ)


Object Number: 603098  Size: CH

Connector Part Information

  • OEM: 15355226
  • Service: 15355226
  • Description: 2-Way F Metri-Pack 150 Tangless Series Sealed (BK)

Terminal Part Information

  • Terminal/Tray: See Terminal Repair Kit
  • Core/Insulation Crimp: See Terminal Repair Kit
  • Release Tool/Test Probe: See Terminal Repair Kit

Fuel Injector 6 (LNJ)

Pin

Wire

Circuit

Function

A

0.5 PK

5291

Ignition Voltage

B

0.5 YE/BK

846

Fuel Injector 6 Control

Fuel Injector 6 (LY7)


Object Number: 603098  Size: CH

Connector Part Information

  • OEM: 15419715
  • Service: 88988313
  • Description: 2-Way F GT 150 Series Sealed (GY)

Terminal Part Information

  • Terminal/Tray: See Terminal Repair Kit
  • Core/Insulation Crimp: See Terminal Repair Kit
  • Release Tool/Test Probe: See Terminal Repair Kit

Fuel Injector 6 (LY7)

Pin

Wire

Circuit

Function

A

0.5 WH

5291

Ignition Voltage

B

0.5 YE/BK

846

Fuel Injector 6 Control

Fuel Pump and Sender Assembly


Object Number: 1664576  Size: CH

Connector Part Information

  • OEM: 15326635
  • Service: 15326635
  • Description: 6-Way F GT 280 Series Sealed (BK)

Terminal Part Information

  • Terminal/Tray: See Terminal Repair Kit
  • Core/Insulation Crimp: See Terminal Repair Kit
  • Release Tool/Test Probe: See Terminal Repair Kit

Fuel Pump and Sender Assembly

Pin

Wire

Circuit

Function

A

1.0 GY

120

Fuel Pump Control

B

0.35 BK/WH

2759

Low Reference

C

0.5 D-BU

30

Fuel Level Sensor Signal

D

0.35 PU

1589

Fuel Level Sensor Signal

E

0.5 D-BU

30

Fuel Level Sensor Signal

F

1.0 BK

850

Ground

Fuel Tank Pressure (FTP) Sensor


Object Number: 2004806  Size: CH

Connector Part Information

  • OEM: 13522407
  • Service: See Catalog
  • Description: 3-Way F GT 150 Series Sealed (BK)

Terminal Part Information

  • Terminal/Tray: See Terminal Repair Kit
  • Core/Insulation Crimp: See Terminal Repair Kit
  • Release Tool/Test Probe: See Terminal Repair Kit

Fuel Tank Pressure (FTP) Sensor

Pin

Wire

Circuit

Function

1

0.35 D-GN

890

Fuel Tank Pressure Sensor Signal

2

0.35 BK

2759

Low Reference

3

0.35 GY

2709

5-Volt Reference 1

Generator X1


Object Number: 1522871  Size: CH

Connector Part Information

  • OEM: 12186308
  • Service: 89046837
  • Description: 2-Way F JPT Sealed (BK)

Terminal Part Information

  • Terminal/Tray: 4-964286-1/16
  • Core/Insulation Crimp: E/1
  • Release Tool/Test Probe: 12093647/J-35616-4A (PU)

Generator X1

Pin

Wire

Circuit

Function

1

0.5 OG

225

Generator Turn On Signal

2

0.5 GY

23

Generator Field Duty Cycle Signal

Generator X2

Terminal Part Information

  • Terminal: 12146365
  • Core/Insulation Crimp: N/A
  • Description: Ring Terminal

Generator X2

Pin

Wire

Circuit

Function

+

19 RD/BK

2

Battery Positive Voltage (LNJ)

19 RD

1

Battery Positive Voltage (LY7)

Hazard Warning Switch


Object Number: 1412993  Size: CH

Connector Part Information

  • OEM: 7183-7201-80
  • Service: See Catalog
  • Description: 10-Way F (BN)

Terminal Part Information

  • Pins: B, C, I, J
  • Terminal/Tray: 8240-4412/22
  • Core/Insulation Crimp: E/C
  • Release Tool/Test Probe: 15315247/J-35616-2A (GY)
  • Pins: I
  • Terminal/Tray: 8240-4422/6
  • Core/Insulation Crimp: E/A
  • Release Tool/Test Probe: 15315247/J-35616-2A (GY)

Hazard Warning Switch

Pin

Wire

Circuit

Function

A

--

--

Not Used

B

0.35 TN

2144

Hazard Switch Signal

C

0.35 BK/WH

1551

Ground

D-H

--

--

Not Used

I

0.8 GY

8

Instrument Panel Lamp Control

J

0.35 BK

1450

Ground

Headlamp - Left (Chevrolet)


Object Number: 1413067  Size: CH

Connector Part Information

  • OEM: 6189-0112
  • Service: 88988457
  • Description: 3-Way F HW 090 Series Sealed (WH)

Terminal Part Information

  • Terminal/Tray: Service by Connector Assembly - 88988457
  • Release Tool/Test Probe: 15315247/J-35616-4A (PU)

Headlamp - Left (Chevrolet)

Pin

Wire

Circuit

Function

1

0.5 YE

712

Left Headlamp Low Beam Control

2

0.5 BK

1250

Ground

3

0.5 D-GN/WH

711

Left Headlamp High Beam Control

Headlamp - Left (Pontiac)


Object Number: 1591675  Size: CH

Connector Part Information

  • OEM: 7900-1486-003
  • Service: 88988364
  • Description: 3-Way F Lamp Socket Sealed (D-GN)

Terminal Part Information

  • Terminal/Tray: 7116-4102-08/9
  • Core/Insulation Crimp: E/1
  • Release Tool/Test Probe: 12094430/J-35616-2A (GY)

Headlamp - Left (Pontiac)

Pin

Wire

Circuit

Function

1

0.5 YE

712

Left Headlamp Low Beam Control

2

0.5 BK

1250

Ground

3

0.5 D-GN/WH

711

Left Headlamp High Beam Control

Headlamp - Right (Chevrolet)


Object Number: 1413067  Size: CH

Connector Part Information

  • OEM: 6189-0112
  • Service: 88988457
  • Description: 3-Way F HW 090 Series Sealed (WH)

Terminal Part Information

  • Terminal/Tray: Service by Connector Assembly - 88988457
  • Release Tool/Test Probe: 15315247/J-35616-4A (PU)

Headlamp - Right (Chevrolet)

Pin

Wire

Circuit

Function

1

0.5 TN/WH

312

Right Headlamp Low Beam Control

2

0.5 BK

1250

Ground

3

0.5 L-GN/BK

311

Right Headlamp High Beam Control

Headlamp - Right (Pontiac)


Object Number: 1591675  Size: CH

Connector Part Information

  • OEM: 7900-1486-003
  • Service: 88988364
  • Description: 3-Way F Lamp Socket Sealed (D-GN)

Terminal Part Information

  • Terminal/Tray: 7116-4102-08/9
  • Core/Insulation Crimp: E/1
  • Release Tool/Test Probe: 12094430/J-35616-2A (GY)

Headlamp - Right (Pontiac)

Pin

Wire

Circuit

Function

1

0.5 TN/WH

312

Right Headlamp Low Beam Control

2

0.5 BK

1250

Ground

3

0.5 L-GN/BK

311

Right Headlamp High Beam Control

Headlamp Dimmer Switch


Object Number: 808685  Size: CH

Connector Part Information

  • OEM: 12020299
  • Service: 12102566
  • Description: 5-Way F P/C Edgeboard - Standard (CM)

Terminal Part Information

  • Terminal/Tray: 12040511/3
  • Core/Insulation Crimp: E/A
  • Release Tool/Test Probe: 12094429/J-35616-4A (PU)

Headlamp Dimmer Switch

Pin

Wire

Circuit

Function

A

--

--

Not Used

B

0.35 D-GN

44

Instrument Panel Lamps Dimmer Switch Signal

C

0.35 BK/WH

1551

Ground

D

0.35 OG/WH

812

12-Volt Reference

E

--

--

Not Used

Heated Oxygen Sensor (HO2S) 1 (LNJ)


Object Number: 474210  Size: CH

Connector Part Information

  • OEM: 12176897
  • Service: 15305960
  • Description: 4-Way F Metri-Pack 150 Sealed (GY)

Terminal Part Information

  • Terminal/Tray: 12048074/2
  • Core/Insulation Crimp: E/1
  • Release Tool/Test Probe: 12094429/J-35616-2A (GY)

Heated Oxygen Sensor (HO2S) 1 (LNJ)

Pin

Wire

Circuit

Function

A

0.5 TN/WH

1653

HO2S 1 Low Signal

B

0.5 PU/WH

1665

HO2S 1 High Signal

C

0.5 GY/WH

3113

HO2S 1 Heater Low Control

D

0.8 PK/BK

5293

Powertrain Main Relay Fused Supply

Heated Oxygen Sensor (HO2S) 2 (LNJ)


Object Number: 806613  Size: CH

Connector Part Information

  • OEM: 15326423
  • Service: See Catalog
  • Description: 4-Way M Metri-Pack 150 Sealed (BK)

Terminal Part Information

  • Terminal/Tray: 12045773/2
  • Core/Insulation Crimp: E/1
  • Release Tool/Test Probe: 12094429/J-35616-3 (GY)

Heated Oxygen Sensor (HO2S) 2 (LNJ)

Pin

Wire

Circuit

Function

A

0.5 TN/WH

1669

HO2S 2 Low Signal Sensor

B

0.5 PU/WH

1668

HO2S 2 High Signal Sensor

C

0.5 GY/WH

3122

HO2S 2 Heater Low Control

D

0.8 PK/BK

5294

Powertrain Main Relay Fused Supply

Heated Oxygen Sensor (HO2S) - Bank 1 Sensor 1 (LY7)


Object Number: 518981  Size: CH

Connector Part Information

  • OEM: 12160482
  • Service: 88988598
  • Description: 4-Way F Metri-Pack 150 Series Sealed (BK)

Terminal Part Information

  • Terminal/Tray: 12048074/2
  • Core/Insulation Crimp: E/1
  • Release Tool/Test Probe: 12094429/J-35616-2A (GY)

Heated Oxygen Sensor (HO2S) - Bank 1 Sensor 1 (LY7)

Pin

Wire

Circuit

Function

A

0.5 TN

1664

Heated Oxygen Sensor Low Signal - Bank 1 Sensor 1

B

0.5 PU/WH

1665

Heated Oxygen Sensor High Signal - Bank 1 Sensor 1

C

0.5 PK/BK

5293

Ignition Voltage

D

0.5 GY/WH

3113

Heated Oxygen Sensor Heater Low Control - Bank 1 Sensor 1

Heated Oxygen Sensor (HO2S) - Bank 1 Sensor 2 (LY7)


Object Number: 280761  Size: CH

Connector Part Information

  • OEM: 12160825
  • Service: 15305801
  • Description: 4-Way M Metri-Pack 150 Series Sealed (BK)

Terminal Part Information

  • Terminal/Tray: 12045773/2
  • Core/Insulation Crimp: E/1
  • Release Tool/Test Probe: 12094429/J-35616-3 (GY)

Heated Oxygen Sensor (HO2S) - Bank 1 Sensor 2 (LY7)

Pin

Wire

Circuit

Function

A

0.5 TN/WH

1669

Heated Oxygen Sensor Low Signal - Bank 1 Sensor 2

B

0.5 PU/WH

1668

Heated Oxygen Sensor High Signal - Bank 1 Sensor 2

C

0.5 PK/BK

5294

Ignition Voltage

D

0.5 GY/WH

3122

Heated Oxygen Sensor Heater Low Control - Bank 1 Sensor 2

Heated Oxygen Sensor (HO2S) - Bank 2 Sensor 1 (LY7)


Object Number: 518981  Size: CH

Connector Part Information

  • OEM: 12160482
  • Service: 88988598
  • Description: 4-Way F Metri-Pack 150 Series Sealed (BK)

Terminal Part Information

  • Terminal/Tray: 12048074/2
  • Core/Insulation Crimp: E/1
  • Release Tool/Test Probe: 12094429/J-35616-2A (GY)

Heated Oxygen Sensor (HO2S) - Bank 2 Sensor 1 (LY7)

Pin

Wire

Circuit

Function

A

0.5 TN

1667

Heated Oxygen Sensor Low Signal - Bank 2 Sensor 1

B

0.5 PU

1666

Heated Oxygen Sensor High Signal - Bank 2 Sensor 1

C

0.5 PK/BK

5293

Ignition Voltage

D

0.5 L-GN

3212

Heated Oxygen Sensor Heater Low Control - Bank 2 Sensor 1

Heated Oxygen Sensor (HO2S) - Bank 2 Sensor 2 (LY7)


Object Number: 280761  Size: CH

Connector Part Information

  • OEM: 12160825
  • Service: 15305801
  • Description: 4-Way M Metri-Pack 150 Series Sealed (BK)

Terminal Part Information

  • Terminal/Tray: 12045773/2
  • Core/Insulation Crimp: E/1
  • Release Tool/Test Probe: 12094429/J-35616-3 (GY)

Heated Oxygen Sensor (HO2S) - Bank 2 Sensor 2 (LY7)

Pin

Wire

Circuit

Function

A

0.5 TN

1671

Heated Oxygen Sensor Low Signal - Bank 2 Sensor 2

B

0.5 PU

1670

Heated Oxygen Sensor High Signal - Bank 2 Sensor 2

C

0.5 PK/BK

5294

Ignition Voltage

D

0.5 OG/WH

3223

Heated Oxygen Sensor Heater Low Control - Bank 2 Sensor 2

Heated Seat Control Module X1 (KA1)


Object Number: 1664577  Size: CH

Connector Part Information

  • OEM: 6098-4606
  • Service: 15134095
  • Description: 6-Way F (BN)

Terminal Part Information

  • Terminal/Tray: See Terminal Repair Kit
  • Core/Insulation Crimp: See Terminal Repair Kit
  • Release Tool/Test Probe: See Terminal Repair Kit

Heated Seat Control Module X1 (KA1)

Pin

Wire

Circuit

Function

1

--

--

Not Used

2

0.8 L-BU

2433

Passenger Heated Seat Back Element Control

3

0.8 RD/WH

2077

Heated Seat Cushion Element Control

4

--

--

Not Used

5

0.8 PU

2424

Driver Heated Seat Back Element Control

6

0.8 D-BU

2479

Passenger Heated Seat Element Control

Heated Seat Control Module X2 (KA1)


Object Number: 1860394  Size: CH

Connector Part Information

  • OEM: 6098-4787
  • Service: 88988653
  • Description: 8-Way F (BK)

Terminal Part Information

  • Terminal/Tray: See Terminal Repair Kit
  • Core/Insulation Crimp: See Terminal Repair Kit
  • Release Tool/Test Probe: See Terminal Repair Kit

Heated Seat Control Module X2 (KA1)

Pin

Wire

Circuit

Function

1

1.0 OG

640

Battery Positive Voltage

2

0.8 BK

650

Ground

3-5

--

--

Not Used

6

0.35 YE

2080

Low Reference

7

--

--

Not Used

8

0.35 PK

2435

Low Reference

Heated Seat Control Module X3 (KA1)


Object Number: 1664581  Size: CH

Connector Part Information

  • OEM: 7283-9040
  • Service: 15127042
  • Description: 10-Way F (BK)

Terminal Part Information

  • Terminal/Tray: See Terminal Repair Kit
  • Core/Insulation Crimp: See Terminal Repair Kit
  • Release Tool/Test Probe: See Terminal Repair Kit

Heated Seat Control Module X3 (KA1)

Pin

Wire

Circuit

Function

1-5

--

--

Not Used

6

0.35 D-GN

5060

Ground

7-10

--

--

Not Used

Heated Seat Control Module X4 (KA1)


Object Number: 1715223  Size: CH

Connector Part Information

  • OEM: 31410-1200
  • Service: 15126711
  • Description: 20-Way F (BK)

Terminal Part Information

  • Terminal/Tray: See Terminal Repair Kit
  • Core/Insulation Crimp: See Terminal Repair Kit
  • Release Tool/Test Probe: See Terminal Repair Kit

Heated Seat Control Module X4 (KA1)

Pin

Wire

Circuit

Function

1-8

--

--

Not Used

9

0.35 YE/BK

2079

Heated Seat Cushion Temperature Sensor Signal

10-19

--

--

Not Used

20

0.35 GY

2434

Passenger Heated Seat Cushion Temperature Sensor Signal

Heated Seat Element - Driver Back (KA1)


Object Number: 258301  Size: CH

Connector Part Information

  • OEM: 12059254
  • Service: 12126020
  • Description: 2-Way M Metri-Pack 150 Series (GN)

Terminal Part Information

  • Terminal/Tray: See Terminal Repair Kit
  • Core/Insulation Crimp: See Terminal Repair Kit
  • Release Tool/Test Probe: See Terminal Repair Kit

Heated Seat Element - Driver Back (KA1)

Pin

Wire

Circuit

Function

A

0.8 BN

2432

Driver Heated Seat Back Element Control

B

0.8 PU

2424

Driver Heated Seat Back Element Control

Heated Seat Element - Driver Cushion (KA1)


Object Number: 39661  Size: CH

Connector Part Information

  • OEM: 12047786
  • Service: 12085536
  • Description: 4-Way M Metri-Pack 150 Series (BK)

Terminal Part Information

  • Terminal/Tray: See Terminal Repair Kit
  • Core/Insulation Crimp: See Terminal Repair Kit
  • Release Tool/Test Probe: See Terminal Repair Kit

Heated Seat Element - Driver Cushion (KA1)

Pin

Wire

Circuit

Function

A

0.35 YE/BK

2079

Heated Seat Cushion Temperature Sensor Signal

B

0.8 RD/WH

2077

Heated Seat Cushion Element Control

C

0.35 YE

2080

Low Reference

D

0.8 BN

2432

Driver Heated Seat Back Element Control

Heated Seat Element - Passenger Back (KA1)


Object Number: 258301  Size: CH

Connector Part Information

  • OEM: 12059254
  • Service: 12126020
  • Description: 2-Way M Metri-Pack 150 Series (GN)

Terminal Part Information

  • Terminal/Tray: See Terminal Repair Kit
  • Core/Insulation Crimp: See Terminal Repair Kit
  • Release Tool/Test Probe: See Terminal Repair Kit

Heated Seat Element - Passenger Back (KA1)

Pin

Wire

Circuit

Function

A

0.8 TN

2481

Passenger Heated Seat Back Element Control

B

0.8 L-BU

2433

Passenger Heated Seat Back Element Control

Heated Seat Element - Passenger Cushion (KA1)


Object Number: 39661  Size: CH

Connector Part Information

  • OEM: 12047786
  • Service: 12085536
  • Description: 4-Way M Metri-Pack 150 Series (BK)

Terminal Part Information

  • Terminal/Tray: See Terminal Repair Kit
  • Core/Insulation Crimp: See Terminal Repair Kit
  • Release Tool/Test Probe: See Terminal Repair Kit

Heated Seat Element - Passenger Cushion (KA1)

Pin

Wire

Circuit

Function

A

0.35 GY

2434

Passenger Heated Seat Cushion Temperature Sensor Signal

B

0.8 D-BU

2479

Passenger Heated Seat Element Control

C

0.35 PK

2435

Low Reference

D

0.8 TN

2481

Passenger Heated Seat Back Element Control

Hood Ajar Switch (AP3)


Object Number: 646415  Size: CH

Connector Part Information

  • OEM: 15326808
  • Service: See Catalog
  • Description: 3-Way F GT 150 Series Sealed 4.5 (BK)

Terminal Part Information

  • Terminal/Tray: 12191819/8
  • Core/Insulation Crimp: E/A
  • Release Tool/Test Probe: 15315247/J-35616-2A (GY)

Hood Ajar Switch (AP3)

Pin

Wire

Circuit

Function

A

0.5 PK/BK

109

Hood Ajar Switch Signal

B

0.5 PU

5531

Hood Closed Switch Signal

C

0.35 BK

1250

Ground

Horn


Object Number: 1527729  Size: CH

Connector Part Information

  • OEM: 15419715
  • Service: 88988313
  • Description: 2-Way F GT 150 Series Sealed (GY)

Terminal Part Information

  • Pins: A-B
  • Terminal/Tray: 12191819/8
  • Core/Insulation Crimp: Pins A - E/A
  • Core/Insulation Crimp: Pins B - 2/A
  • Release Tool/Test Probe: 15315247/J-35616-2A (GY)

Horn

Pin

Wire

Circuit

Function

A

0.5 BK

1250

Ground

B

0.8 D-GN

29

Horn Control

Horn Switch


Object Number: 1335523  Size: CH

Connector Part Information

  • OEM: 50-57-9402
  • Service: 15306026
  • Description: 2-Way F SL Series (BK)

Terminal Part Information

  • Terminal/Tray: See Terminal Repair Kit
  • Core/Insulation Crimp: See Terminal Repair Kit
  • Release Tool/Test Probe: See Terminal Repair Kit

Horn Switch

Pin

Wire

Circuit

Function

1

0.35 TN

28

Horn Relay Control

2

0.35 BK

1450

Ground

HVAC Control Module - X1


Object Number: 1715229  Size: CH

Connector Part Information

  • OEM: 7283-9080-90
  • Service: See Catalog
  • Description: 16-Way F 064 (BU)

Terminal Part Information

  • Terminal/Tray: 7116-4618-02/14
  • Core/Insulation Crimp: P/P
  • Release Tool/Test Probe: J-38125-215/J-35616-64B (L-BU)

HVAC Control Module - X1

Pin

Wire

Circuit

Function

1

0.35 PU/WH

1382

LED Dimming Signal

2

0.35 PK

1139

Ignition Voltage

3

0.35 BK/WH

1551

Ground

4

0.35 RD/WH

1840

Battery Positive Voltage

5

0.35 D-GN

5060

Low Speed GMLAN Serial Data

6-7

--

--

Not Used

8

0.35 WH

193

Rear Defog Relay Control

9

0.35 L-GN/BK

735

Ambient Air Temperature Sensor Signal

10

0.5 BK

1450

Ground

11

--

--

Not Used

12

0.35 YE

61

Low Reference

13-16

--

--

Not Used

HVAC Control Module - X2


Object Number: 1715228  Size: CH

Connector Part Information

  • OEM: 31410-1201
  • Service: See Catalog
  • Description: 20-Way F Receptacle 0.64 (GY)

Terminal Part Information

  • Terminal/Tray: 7116-4618-02/14
  • Core/Insulation Crimp: P/P
  • Release Tool/Test Probe: J-38125-215/J-35616-64B (L-BU)

HVAC Control Module - X2

Pin

Wire

Circuit

Function

1

--

--

Not Used

2

0.35 L-GN

2275

Mode Door Position Signal

3

0.35 PU

1838

Recirculation Door Position Signal

4

0.35 GY/BK

754

Blower Motor Speed Control

5

0.35 TN

2273

Mode Door Control

6

--

--

Not Used

7

0.35 D-GN

1614

Recirculation Door Control

8

0.35 D-BU

1199

Air Temperature Door Control

9

--

--

Not Used

10

0.35 GY

598

5-Volt Reference

11-12

--

--

Not Used

13

0.35 L-BU

733

Air Temperature Door Position Signal

14

0.35 WH

2622

Evaporator Temperature Sensor Signal

15

0.35 WH

119

Mode Door Control

16

--

--

Not Used

17

0.35 TN/BK

2274

Recirculation Door Control Circuit

18

0.35 L-BU

1316

Air Temperature Door Control

19

0.35 TN

552

Low Reference

20

0.35 YE

1791

Low Reference

Ignition Coil 1 (LY7)


Object Number: 1653384  Size: CH

Connector Part Information

  • OEM: 15466325
  • Service: 88988737
  • Description: 4-Way F Global Terminal/150 Sealed (BK)

Terminal Part Information

  • Terminal/Tray: 12191819/8
  • Core/Insulation Crimp: Pins A, D - 2/A
  • Core/Insulation Crimp: Pins B-C - E/A
  • Release Tool/Test Probe: 15315247/J-35616-2A (GY)

Ignition Coil 1 (LY7)

Pin

Wire

Circuit

Function

A

1.0 BK

1550

Ground

B

0.5 BN

2129

Low Reference

C

0.5 PU

2121

Ignition Control 1

D

1.0 PK/BK

5291

Ignition Voltage

Ignition Coil 2 (LY7)


Object Number: 1653384  Size: CH

Connector Part Information

  • OEM: 15466325
  • Service: 88988737
  • Description: 4-Way F Global Terminal/150 Sealed (BK)

Terminal Part Information

  • Terminal/Tray: 12191819/8
  • Core/Insulation Crimp: Pins A, D - 2/A
  • Core/Insulation Crimp: Pins B-C - E/A
  • Release Tool/Test Probe: 15315247/J-35616-2A (GY)

Ignition Coil 2 (LY7)

Pin

Wire

Circuit

Function

A

1.0 BK

150

Ground

B

0.5 BN/WH

2130

Low Reference

C

0.5 OG/WH

2122

Ignition Control 2

D

1.0 PK/BK

5292

Ignition Voltage

Ignition Coil 3 (LY7)


Object Number: 1653384  Size: CH

Connector Part Information

  • OEM: 15466325
  • Service: 88988737
  • Description: 4-Way F Global Terminal/150 Sealed (BK)

Terminal Part Information

  • Terminal/Tray: 12191819/8
  • Core/Insulation Crimp: Pins A, D - 2/A
  • Core/Insulation Crimp: Pins B-C - E/A
  • Release Tool/Test Probe: 15315247/J-35616-2A (GY)

Ignition Coil 3 (LY7)

Pin

Wire

Circuit

Function

A

1.0 BK

1550

Ground

B

0.5 BN

2129

Low Reference

C

0.5 L-BU

2123

Ignition Control 3

D

1.0 PK/BK

5291

Ignition Voltage

Ignition Coil 4 (LY7)


Object Number: 1653384  Size: CH

Connector Part Information

  • OEM: 15466325
  • Service: 88988737
  • Description: 4-Way F Global Terminal/150 Sealed (BK)

Terminal Part Information

  • Terminal/Tray: 12191819/8
  • Core/Insulation Crimp: Pins A, D - 2/A
  • Core/Insulation Crimp: Pins B-C - E/A
  • Release Tool/Test Probe: 15315247/J-35616-2A (GY)

Ignition Coil 4 (LY7)

Pin

Wire

Circuit

Function

A

1.0 BK

150

Ground

B

0.5 BN/WH

2130

Low Reference

C

0.5 D-GN/WH

2124

Ignition Control 4

D

1.0 PK/BK

5292

Ignition Voltage

Ignition Coil 5 (LY7)


Object Number: 1653384  Size: CH

Connector Part Information

  • OEM: 15466325
  • Service: 88988737
  • Description: 4-Way F Global Terminal/150 Sealed (BK)

Terminal Part Information

  • Terminal/Tray: 12191819/8
  • Core/Insulation Crimp: Pins A, D - 2/A
  • Core/Insulation Crimp: Pins B-C - E/A
  • Release Tool/Test Probe: 15315247/J-35616-2A (GY)

Ignition Coil 5 (LY7)

Pin

Wire

Circuit

Function

A

1.0 BK

1550

Ground

B

0.5 BN

2129

Low Reference

C

0.5 D-GN

2125

Ignition Control 5

D

1.0 PK/BK

5291

Ignition Voltage

Ignition Coil 6 (LY7)


Object Number: 1653384  Size: CH

Connector Part Information

  • OEM: 15466325
  • Service: 88988737
  • Description: 4-Way F Global Terminal/150 Sealed (BK)

Terminal Part Information

  • Terminal/Tray: 12191819/8
  • Core/Insulation Crimp: Pins A, D - 2/A
  • Core/Insulation Crimp: Pins B-C - E/A
  • Release Tool/Test Probe: 15315247/J-35616-2A (GY)

Ignition Coil 6 (LY7)

Pin

Wire

Circuit

Function

A

1.0 BK

150

Ground

B

0.5 BN/WH

2130

Low Reference

C

0.5 L-BU/WH

2126

Ignition Control 6

D

1.0 PK/BK

5292

Ignition Voltage

Ignition Control Module (ICM) (LNJ)


Object Number: 632357  Size: CH

Connector Part Information

  • OEM: 15326829
  • Service: 88988944
  • Description: 6-Way F 150 Sealed (BK)

Terminal Part Information

  • Pins: A-D
  • Terminal/Tray: 12191818/8
  • Core/Insulation Crimp: E/A
  • Release Tool/Test Probe: 15315247/J-35616-2A (GY)
  • Pins: E-F
  • Terminal/Tray: 12191819/8
  • Core/Insulation Crimp: 2/A
  • Release Tool/Test Probe: 15315247/J-35616-2A (GY)

Ignition Control Module (ICM) (LNJ)

Pin

Wire

Circuit

Function

A

0.5 OG/WH

2122

IC 2 Control

B

0.5 PU

2121

IC 1 Control

C

0.5 L-BU

2123

IC 3 Control

D

0.5 YE

2174

Low Reference

E

0.8 BK

450

Ground

F

0.8 PK/BK

5291

Ignition Voltage

Ignition Lock Cylinder Control Solenoid


Object Number: 280768  Size: CH

Connector Part Information

  • OEM: 12052832
  • Service: 12101825
  • Description: 2-Way F Metri-Pack 150 Series (BK)

Terminal Part Information

  • Terminal/Tray: 12064971/5
  • Core/Insulation Crimp: E/C
  • Release Tool/Test Probe: 12094429/J-35616-2A (GY)

Ignition Lock Cylinder Control Solenoid

Pin

Wire

Circuit

Function

A

0.35 BK

1450

Ground

B

0.35 PU/WH

1630

Steering Column Key Cylinder Lock Solenoid Control

Ignition Switch


Object Number: 1664590  Size: CH

Connector Part Information

  • OEM: HCMPBC06K
  • Service: See Catalog
  • Description: 6-Way F HCM Unsealed (BK)

Terminal Part Information

  • Terminal/Tray: SHCM-A03T-P025/20
  • Core/Insulation Crimp: J/J
  • Release Tool/Test Probe: 12094429/J-35616-64B (L-BU)

Ignition Switch

Pin

Wire

Circuit

Function

1

0.35 PK

3

Ignition Voltage

2

0.35 BN

4

Ignition Voltage

3

0.35 RD/WH

3340

Battery Positive Voltage

4

0.35 WH/BK

1073

5-Volt Reference

5

0.35 WH

1390

Ignition Signal

6

--

--

Not Used

Inflatable Restraint Front End Sensor - Left


Object Number: 744046  Size: CH

Connector Part Information

  • OEM: 15356723
  • Service: 15306439
  • Description: 2-Way F GT 150 Series Sealed 4.0 (YE)

Terminal Part Information

  • Serviced as a pigtail
  • Release Tool/Test Probe: 15315247/J-35616-2A (GY)

Inflatable Restraint Front End Sensor - Left

Pin

Wire

Circuit

Function

A

0.35 TN/OG

5045

Low Reference

B

0.35 YE

354

Discriminating Sensor - Left - Signal

Inflatable Restraint Front End Sensor - Right


Object Number: 744046  Size: CH

Connector Part Information

  • OEM: 15356723
  • Service: 15306439
  • Description: 2-Way F GT 150 Series Sealed 4.0 (YE)

Terminal Part Information

  • Serviced as a pigtail
  • Release Tool/Test Probe: 15315247/J-35616-2A (GY)

Inflatable Restraint Front End Sensor - Right

Pin

Wire

Circuit

Function

A

0.35 GY

5600

Low Reference

B

0.35 D-GN

1409

Discriminating Sensor - Signal

Inflatable Restraint Front Passenger Presence System (PPS) Module


Object Number: 1464340  Size: CH

Connector Part Information

  • OEM: 15332142
  • Service: 89046638
  • Description: 6-Way M GT 150/280 Series Sealed (BK)

Terminal Part Information

  • Serviced as a pigtail
  • Release Tool/Test Probe: See Terminal Repair Kit

Inflatable Restraint Front Passenger Presence System (PPS) Module

Pin

Wire

Circuit

Function

A

0.35 OG

840

Battery Positive Voltage

B

0.35 D-GN

5060

Low Speed GMLAN Serial Data

C

0.35 D-GN

5060

Low Speed GMLAN Serial Data

D

0.35 BK

651

Ground

E-F

--

--

Not Used

Inflatable Restraint I/P Module X1


Object Number: 2152674  Size: CH

Connector Part Information

  • OEM: 252922343
  • Service: See Catalog
  • Description: 2-Way F (YE)

Terminal Part Information

  • Serviced as a pigtail
  • Release Tool/Test Probe: See Terminal Repair Kit

Inflatable Restraint I/P Module X1

Pin

Wire

Circuit

Function

A

0.35 YE

3025

Instrument Panel Module - Stage 1 - High Control

B

0.35 OG

3024

Instrument Panel Module - Stage 1 - Low Control

Inflatable Restraint I/P Module X2


Object Number: 2152674  Size: CH

Connector Part Information

  • OEM: 252922343
  • Service: See Catalog
  • Description: 2-Way F (YE)

Terminal Part Information

  • Serviced as a pigtail
  • Release Tool/Test Probe: See Terminal Repair Kit

Inflatable Restraint I/P Module X2

Pin

Wire

Circuit

Function

A

0.35 GY

3027

Instrument Panel Module - Stage 2 - High Control

B

0.35 PU

3026

Instrument Panel Module - Stage 2 - Low Control

Inflatable Restraint I/P Module Indicator


Object Number: 1538776  Size: CH

Connector Part Information

  • OEM: 15398877
  • Service: See Catalog
  • Description: 5-Way F HCM Series (WH)

Terminal Part Information

  • Terminal/Tray: SHCM-A03T-P025/20
  • Core/Insulation Crimp: J/J
  • Release Tool/Test Probe: 12094429/J-35616-64B (L-BU)

Inflatable Restraint I/P Module Indicator

Pin

Wire

Circuit

Function

1

0.35 D-BU

2307

Passenger Air Bag On Indicator Control

2

0.35 BK

1450

Ground

3

0.35 D-GN

2308

Passenger Air Bag Off Indicator Control

4

0.35 PK

1139

Ignition Voltage

5

0.35 PU

5234

Passenger Seat Belt Indicator

Inflatable Restraint Roof Rail Module - Left (ASF)


Object Number: 1861736  Size: CH

Connector Part Information

  • OEM: 12186799
  • Service: 12186799
  • Description: 2-Way M 280 Series (YE)

Terminal Part Information

  • Serviced as a pigtail
  • Release Tool/Test Probe: See Terminal Repair Kit

Inflatable Restraint Roof Rail Module - Left (ASF)

Pin

Wire

Circuit

Function

A

0.5 D-GN

2137

Side Impact Module - Left Front - High Control

B

0.5 WH

2138

Side Impact Module - Left Front - Low Control

Inflatable Restraint Roof Rail Module - Right (ASF)


Object Number: 1861736  Size: CH

Connector Part Information

  • OEM: 12186799
  • Service: 12186799
  • Description: 2-Way M 280 Series (YE)

Terminal Part Information

  • Serviced as a pigtail
  • Release Tool/Test Probe: See Terminal Repair Kit

Inflatable Restraint Roof Rail Module - Right (ASF)

Pin

Wire

Circuit

Function

A

0.5 D-GN

2135

Side Impact Module - Right Front - High Control

B

0.5 WH

2136

Side Impact Module - Right Front - Low Control

Inflatable Restraint Sensing and Diagnostic Module (SDM) (ASF)


Object Number: 1468532  Size: CH

Connector Part Information

  • OEM: 2-184464-4
  • Service: See Catalog
  • Description: 60-Way F GET Series (YE/BK)

Terminal Part Information

  • Terminal/Tray: Serviced w/Terminated Lead
  • Core/Insulation Crimp: N/A
  • Release Tool/Test Probe: See Terminal Repair Kit

Inflatable Restraint Sensing and Diagnostic Module (SDM) (ASF)

Pin

Wire

Circuit

Function

1

0.5 BK/WH

651

Ground

2

0.5 D-GN

5060

Low Speed GMLAN Serial Data

3

0.35 D-GN

5060

Low Speed GMLAN Serial Data

4

0.35 PK

3022

Steering Wheel Module - Stage 2 - Low Control

5

0.35 WH

3023

Steering Wheel Module - Stage 2 - High Control

6

0.35 GY

3027

Instrument Panel Module - Stage 2 - High Control

7

0.35 PU

3026

Instrument Panel Module - Stage 2 - Low Control

8

0.35 BN

3020

Steering Wheel Module - Stage 1 - Low Control

9

0.35 TN

3021

Steering Wheel Module - Stage 1 - High Control

10

0.35 YE

3025

Instrument Panel Module - Stage 1 - High Control

11

0.35 OG

3024

Instrument Panel Module - Stage 1 - Low Control

12

0.5 YE/BK

2138

Side Impact Module - Left Front - Low Control

13

0.5 BN

2137

Side Impact Module - Left Front - High Control

14

0.5 TN/WH

2135

Side Impact Module - Right Front - High Control

15

0.5 L-GN

2136

Side Impact Module - Right Front - Low Control

16

0.5 OG/BK

2119

Seat Belt Pretensioner - Left - Low Control

17

0.5 TN/WH

2118

Seat Belt Pretensioner - Left - High Control

18

0.5 L-GN

2116

Seat Belt Pretensioner - Right - High Control

19

0.5 OG

2117

Seat Belt Pretensioner - Right - Low Control

20-27

--

--

Not Available

28

0.35 PK

5057

Low Reference

29-30

--

--

Not Available

31

0.5 RD/WH

1340

Battery Positive Voltage

32

0.5 PK

1139

Ignition Voltage

33-35

--

--

Not Available

36

0.35 YE

354

Discriminating Sensor - Left - Signal

37

0.35 D-GN

1409

Discriminating Sensor - Right - Signal

38

0.35 TN/OG

5045

Low Reference

39

0.35 GY

5600

Low Reference

40

0.35 WH

2132

Side Impact Sensing Module - Left - Signal

41

0.35 D-GN

2134

Side Impact Sensing Module - Right - Signal

42

0.35 YE

2131

Side Impact Sensing Module - Left - Voltage

43

0.35 TN

2133

Side Impact Sensing Module - Right - Voltage

44-57

--

--

Not Available

58

0.35 YE/BK

5229

Roll Over Sensor High Signal

59

0.35 D-GN

5016

Seat Belt Switch - Left - Signal

60

0.35 OG

1362

Seat Belt Switch - Right - Signal

Inflatable Restraint Sensing and Diagnostic Module (SDM) (without ASF)


Object Number: 1468532  Size: CH

Connector Part Information

  • OEM: 2-184464-5
  • Service: See Catalog
  • Description: 60-Way F GET Series (YE)

Terminal Part Information

  • Terminal/Tray: Serviced w/Terminated Lead
  • Core/Insulation Crimp: N/A
  • Release Tool/Test Probe: See Terminal Repair Kit

Inflatable Restraint Sensing and Diagnostic Module (SDM) (without ASF)

Pin

Wire

Circuit

Function

1

0.5 BK/WH

651

Ground

2

0.5 D-GN

5060

Low Speed GMLAN Serial Data

3

0.35 D-GN

5060

Low Speed GMLAN Serial Data

4

0.35 PK

3022

Steering Wheel Module - Stage 2 - Low Control

5

0.35 WH

3023

Steering Wheel Module - Stage 2 - High Control

6

0.35 GY

3027

Instrument Panel Module - Stage 2 - High Control

7

0.35 PU

3026

Instrument Panel Module - Stage 2 - Low Control

8

0.35 BN

3020

Steering Wheel Module - Stage 1 - Low Control

9

0.35 TN

3021

Steering Wheel Module - Stage 1 - High Control

10

0.35 YE

3025

Instrument Panel Module - Stage 1 - High Control

11

0.35 OG

3024

Instrument Panel Module - Stage 1 - Low Control

12-15

--

--

Not Available

16

0.5 OG/BK

2119

Seat Belt Pretensioner - Left - Low Control

17

0.5 TN/WH

2118

Seat Belt Pretensioner - Left - High Control

18

0.5 L-GN

2116

Seat Belt Pretensioner - Right - High Control

19

0.5 OG

2117

Seat Belt Pretensioner - Right - Low Control

20-27

--

--

Not Available

28

0.35 PK

5057

Low Reference

29-30

--

--

Not Available

31

0.5 RD/WH

1340

Battery Positive Voltage

32

0.5 PK

1139

Ignition Voltage

33-35

--

--

Not Available

36

0.35 YE

354

Discriminating Sensor - Left - Signal

37

0.35 D-GN

1409

Discriminating Sensor - Right - Signal

38

0.35 TN/OG

5045

Low Reference

39

0.35 GY

5600

Low Reference

40-58

--

--

Not Available

59

0.35 D-GN

5016

Seat Belt Switch - Left - Signal

60

0.35 OG

1362

Seat Belt Switch - Right - Signal

Inflatable Restraint Side Impact Sensor (SIS) - Left (ASF)


Object Number: 744046  Size: CH

Connector Part Information

  • OEM: 15356723
  • Service: 15306439
  • Description: 2-Way F GT 150 Series Sealed 4.0 (YE)

Terminal Part Information

  • Serviced as a pigtail
  • Release Tool/Test Probe: 15315247/J-35616-2A (GY)

Inflatable Restraint Side Impact Sensor (SIS) - Left (ASF)

Pin

Wire

Circuit

Function

A

0.35 WH

2132

Side Impact Sensing Module - Left - Signal

B

0.35 YE

2131

Side Impact Sensing Module - Left - Voltage

Inflatable Restraint Side Impact Sensor (SIS) - Right (ASF)


Object Number: 744046  Size: CH

Connector Part Information

  • OEM: 15356723
  • Service: 15306439
  • Description: 2-Way F GT 150 Series Sealed 4.0 (YE)

Terminal Part Information

  • Serviced as a pigtail
  • Release Tool/Test Probe: 15315247/J-35616-2A (GY)

Inflatable Restraint Side Impact Sensor (SIS) - Right (ASF)

Pin

Wire

Circuit

Function

A

0.35 D-GN

2134

Side Impact Sensing Module - Right - Signal

B

0.35 TN

2133

Side Impact Sensing Module - Right - Voltage

Inflatable Restraint Steering Wheel Module X1


Object Number: 1841819  Size: CH

Connector Part Information

  • OEM: 54560220
  • Service: See Catalog
  • Description: 2-Way F Type B (WH)

Terminal Part Information

  • Serviced as a pigtail
  • Release Tool/Test Probe: See Terminal Repair Kit

Inflatable Restraint Steering Wheel Module X1

Pin

Wire

Circuit

Function

1

TN

3021

Steering Wheel Module - Stage 1 - High Control

2

BN

3020

Steering Wheel Module - Stage 1 - Low Control

Inflatable Restraint Steering Wheel Module X2


Object Number: 1841821  Size: CH

Connector Part Information

  • OEM: 54560222
  • Service: See Catalog
  • Description: 2-Way F Type G (PK)

Terminal Part Information

  • Serviced as a pigtail
  • Release Tool/Test Probe: See Terminal Repair Kit

Inflatable Restraint Steering Wheel Module X2

Pin

Wire

Circuit

Function

1

WH

3023

Steering Wheel Module - Stage 2 - High Control

2

PK

3022

Steering Wheel Module - Stage 2 - Low Control

Inflatable Restraint Steering Wheel Module Coil X1


Object Number: 1593397  Size: CH

Connector Part Information

  • OEM: 15393433
  • Service: See Catalog
  • Description: 10-Way F Micro-Pack 064 Series (BK)

Terminal Part Information

  • Serviced as a pigtail
  • Release Tool/Test Probe: 12094430/J-35616-4A (PU)

Inflatable Restraint Steering Wheel Module Coil X1

Pin

Wire

Circuit

Function

A-B

--

--

Not Used

C

0.35 L-GN

1375

Steering Wheel Control

D

0.35 PK

1884

Cruise Control Switch Signal

E

0.35 D-BU

1796

Steering Wheel Controls Signal (UK3)

F

0.35 YE

7158

Cruise Control Indicator Dimming Signal

G

0.35 GY

7005

LED Dimming Signal

H

--

--

Not Used

J

0.35 TN

28

Horn Relay Control

K

0.35 BK

1450

Ground

Inflatable Restraint Steering Wheel Module Coil X2


Object Number: 1593397  Size: CH

Connector Part Information

  • OEM: 15393433
  • Service: See Catalog
  • Description: 10-Way F Micro-Pack 064 Series (BK)

Terminal Part Information

  • Serviced as a pigtail
  • Release Tool/Test Probe: 12180559-1/J-35616-64B (L-BU)

Inflatable Restraint Steering Wheel Module Coil X2

Pin

Wire

Circuit

Function

A-B

--

--

Not Used

C

0.35 PU

1375

Steering Wheel Control

D

0.35 GY

1884

Cruise Control Switch Signal

E

0.35 D-BU

1796

Steering Wheel Controls Signal (UK3)

F

0.35 D-GN/WH

7158

Cruise Control Indicator Dimming Signal

G

0.35 PU/WH

7005

LED Dimming Signal

H

--

--

Not Used

J

0.35 TN

28

Horn Relay Control

K

0.35 BK

1450

Ground

Inflatable Restraint Steering Wheel Module Coil X3


Object Number: 1661119  Size: CH

Connector Part Information

  • OEM: 15393421
  • Service: 88987853
  • Description: 4-Way F Micro-Pack 064 Series (YE)

Terminal Part Information

  • Serviced as a pigtail
  • Release Tool/Test Probe: 12180559-1/J-35616-64B (L-BU)

Inflatable Restraint Steering Wheel Module Coil X3

Pin

Wire

Circuit

Function

1

0.35 WH

3023

Steering Wheel Module - Stage 2 - High Control

2

0.35 PK

3022

Steering Wheel Module - Stage 2 - Low Control

3

0.35 TN

3021

Steering Wheel Module - Stage 1 - High Control

4

0.35 BN

3020

Steering Wheel Module - Stage 1 - Low Control

Inflatable Restraint Vehicle Rollover Sensor (ASF)


Object Number: 1845399  Size: CH

Connector Part Information

  • OEM: 6189-7001
  • Service: See Catalog
  • Description: 6-Way F 0.64 Series Sealed (YE)

Terminal Part Information

  • Pins: 1, 6
  • Terminal/Tray: 8100-3427/22
  • Core/Insulation Crimp: K/K
  • Release Tool/Test Probe: 15315247/J-35616-64B (L-BU)
  • Serviced as a pigtail
  • Release Tool/Test Probe: 15315247/J-35616-64B (L-BU)

Inflatable Restraint Vehicle Rollover Sensor (ASF)

Pin

Wire

Circuit

Function

1

0.5 RD/WH

1340

Battery Positive Voltage

2

--

--

Not Used

3

0.35 D-GN

5060

Low Speed GMLAN Serial Data

4

0.35 D-GN

5060

Low Speed GMLAN Serial Data

5

0.35 YE/BK

5229

Roll Over Sensor High Signal

6

0.5 BK/WH

651

Ground

Infrared Transmitter (UUC)


Object Number: 1454407  Size: CH

Connector Part Information

  • OEM: 15429806
  • Service: 15136074
  • Description: 16-Way F Micro 64 Series (BN)

Terminal Part Information

  • Terminal/Tray: See Terminal Repair Kit
  • Core/Insulation Crimp: See Terminal Repair Kit
  • Release Tool/Test Probe: See Terminal Repair Kit

Infrared Transmitter (UUC)

Pin

Wire

Circuit

Function

1

0.5 L-BU

5826

Left DVD Audio Signal (+)

2

0.5 PU

6979

DVD Audio Common

3

0.5 WH

5828

Right DVD Audio Signal (+)

4

0.35 YE

343

Ignition Voltage

5-7

--

--

Not Used

8

0.5 OG/BK

5831

Remote Infra Red Signal (+)

9-11

--

--

Not Used

12

0.5 BK/WH

1551

Ground

13-15

--

--

Not Used

16

0.5 TN/WH

5830

Remote Infra Red Signal (-)

Inside Rearview Mirror (ISRVM)


Object Number: 1564033  Size: CH

Connector Part Information

  • OEM: 917981-2
  • Service: 15306351
  • Description: 16-Way F 0.040/0.070 HYBRID I/O (BK)

Terminal Part Information

  • Terminal/Tray: See Terminal Repair Kit
  • Core/Insulation Crimp: See Terminal Repair Kit
  • Release Tool/Test Probe: See Terminal Repair Kit

Inside Rearview Mirror (ISRVM)

Pin

Wire

Circuit

Function

1-7

--

--

Not Used

8

0.8 BK

850

Ground

9

0.8 L-GN

24

Backup Lamp Control

10

--

--

Not Used

11

0.35 D-GN/WH

2514

Keypad Signal (UE1)

12

0.35 L-GN/BK

2515

Keypad Control (UE1)

13

0.8 YE

643

Ignition Voltage

14

0.35 YE/BK

2516

Keypad Green LED Signal (UE1)

15

0.35 BN/WH

2517

Keypad Red LED Signal (UE1)

16

--

--

Not Used

Instrument Panel Cluster (IPC)


Object Number: 1845027  Size: CH

Connector Part Information

  • OEM: 1326133-1
  • Service: See Catalog
  • Description: 18-Way F Receptacle 0.64 Unsealed (BK)

Terminal Part Information

  • Pins: 2-6, 8-14, 16
  • Terminal/Tray: 638551-1/16
  • Core/Insulation Crimp: Pins 2, 10-13 - K/K
  • Core/Insulation Crimp: Pins 3-6, 8-9, 14, 16 - J/J
  • Release Tool/Test Probe: 15315247/J-35616-64B (L-BU)

Instrument Panel Cluster (IPC)

Pin

Wire

Circuit

Function

1

--

--

Not Used

2

0.5 PK

893

Driver Information Center (DIC) Select Menu Switch Signal

3

0.35 PU

5234

Passenger Seat Belt Indicator

4

0.35 D-BU

2307

Passenger Air Bag On Indicator Control

5

0.35 D-GN

2308

Passenger Air Bag Off Indicator Control

6

0.35 BK/WH

1551

Ground

7

--

--

Not Used

8

0.35 D-GN

5060

Low Speed GMLAN Serial Data

9

0.35 TN/WH

33

Brake Warning Indicator Control

10

0.5 BN

897

Low Reference

11

0.5 BN/WH

419

Malfunction Indicator Lamp (MIL) Control

12

0.5 D-GN/WH

1358

Driver Information Center (DIC) Switch Signal

13

0.5 PK

1139

Ignition Voltage

14

0.35 RD/WH

1640

Battery Positive Voltage

15

--

--

Not Used

16

0.35 YE

749

Security Indicator Control

17-18

--

--

Not Used

Knock Sensor (KS) 1


Object Number: 1232999  Size: CH

Connector Part Information

  • OEM: 15374222
  • Service: 88953268
  • Description: 2-Way F GT 150 Sealed (WH)

Terminal Part Information

  • Terminal/Tray: 12191819/8
  • Core/Insulation Crimp: E/A
  • Release Tool/Test Probe: 15315247/J-35616-2A (WH)

Knock Sensor (KS) 1

Pin

Wire

Circuit

Function

A

0.5 D-BU

496

Knock Sensor 1 Signal

B

0.5 GY

1716

Knock Sensor 1 Signal

Knock Sensor (KS) 2


Object Number: 1232999  Size: CH

Connector Part Information

  • OEM: 15374222
  • Service: 88953268
  • Description: 2-Way F GT 150 Sealed (WH)

Terminal Part Information

  • Terminal/Tray: 12191819/8
  • Core/Insulation Crimp: E/A
  • Release Tool/Test Probe: 15315247/J-35616-2A (GY)

Knock Sensor (KS) 2

Pin

Wire

Circuit

Function

A

0.5 L-BU

1876

Knock Sensor 2 Signal

B

0.5 GY

2303

Knock Sensor 2 Signal

License Lamp - Left


Object Number: 744036  Size: CH

Connector Part Information

  • OEM: 12110053
  • Service: See Catalog
  • Description: 2-Way F Lamp Socket Wedge Base W2 Sealed (GY)

Terminal Part Information

  • Terminal/Tray: See Terminal Repair Kit
  • Core/Insulation Crimp: See Terminal Repair Kit
  • Release Tool/Test Probe: See Terminal Repair Kit

License Lamp - Left

Pin

Wire

Circuit

Function

A

0.35 BK

750

Ground

B

0.35 BN

9

Right Park Lamp Control

License Lamp - Right


Object Number: 744036  Size: CH

Connector Part Information

  • OEM: 12110053
  • Service: See Catalog
  • Description: 2-Way F Lamp Socket Wedge Base W2 Sealed (GY)

Terminal Part Information

  • Terminal/Tray: See Terminal Repair Kit
  • Core/Insulation Crimp: See Terminal Repair Kit
  • Release Tool/Test Probe: See Terminal Repair Kit

License Lamp - Right

Pin

Wire

Circuit

Function

A

0.35 BK

750

Ground

B

0.35 BN

9

Right Park Lamp Control

Liftgate Latch


Object Number: 1626671  Size: CH

Connector Part Information

  • OEM: 15476199
  • Service: 88988358
  • Description: 6-Way F GT 280 Sealed (GN)

Terminal Part Information

  • Terminal/Tray: 15304719/19
  • Core/Insulation Crimp: E/5
  • Release Tool/Test Probe: 15315247/J-35616-4A (PU)

Liftgate Latch

Pin

Wire

Circuit

Function

1

0.5 L-BU

6128

Rear Closure Unlatch Motor Unlatch Control

2

--

--

Not Used

3

0.5 BK

550

Ground

4

--

--

Not Used

5

0.35 BK

550

Ground

6

0.5 PK/BK

1303

Liftgate Ajar Switch Signal

Liftgate Release Switch


Object Number: 38608  Size: CH

Connector Part Information

  • OEM: 12186394
  • Service: 12186394
  • Description: 4-Way F Metri-Pack 150.2 Series Sealed Pull to Seat (BK)

Terminal Part Information

  • Terminal/Tray: See Terminal Repair Kit
  • Core/Insulation Crimp: See Terminal Repair Kit
  • Release Tool/Test Probe: See Terminal Repair Kit

Liftgate Release Switch

Pin

Wire

Circuit

Function

A

0.35 GY

5797

Rear Closure Handle Switch Open Signal

B

--

--

Not Used

C

0.35 BK

550

Ground

D

--

--

Not Used

Manifold Absolute Pressure (MAP) Sensor (LNJ)


Object Number: 684840  Size: CH

Connector Part Information

  • OEM: 12129946
  • Service: 88987997
  • Description: 3-Way F Metri-Pack 150 Series, Sealed (GY)

Terminal Part Information

  • Terminal/Tray: 12048074/2
  • Core/Insulation Crimp: E/1
  • Release Tool/Test Probe: 12094429/J-35616-2A (GY)

Manifold Absolute Pressure (MAP) Sensor (LNJ)

Pin

Wire

Circuit

Function

A

0.5 OG/BK

469

Low Reference

B

0.5 L-GN

432

Manifold Absolute Pressure (MAP) Sensor Signal

C

0.5 GY

2704

5-Volt Reference 1

Marker Lamp - Left Front (Chevrolet)


Object Number: 1413065  Size: CH

Connector Part Information

  • OEM: 6070-2911
  • Service: See Catalog
  • Description: 2-Way F 1.5 mm Series Sealed (NA)

Terminal Part Information

  • Terminal/Tray: 7116-4102-08/9
  • Core/Insulation Crimp: E/1
  • Release Tool/Test Probe: 12094430/J-35616-2A (GY)
  • Terminal/Tray: 7116-2640/12
  • Core/Insulation Crimp: E/1
  • Release Tool/Test Probe: 12094430/J-35616-42 (RD)

Marker Lamp - Left Front (Chevrolet)

Pin

Wire

Circuit

Function

1

0.35 PU

709

Left Park Lamp Control

2

0.35 BK

1250

Ground

Marker Lamp - Left Front (Pontiac)


Object Number: 1283850  Size: CH

Connector Part Information

  • OEM: E3550
  • Service: See Catalog
  • Description: 2-Way F 1.5 mm Series Sealed (BK)

Terminal Part Information

  • Terminal/Tray: 7116-4102-08/9
  • Core/Insulation Crimp: E/1
  • Release Tool/Test Probe: 12094430/J-35616-2A (GY)
  • Terminal/Tray: 7116-2640/12
  • Core/Insulation Crimp: E/1
  • Release Tool/Test Probe: 12094430/J-35616-42 (RD)

Marker Lamp - Left Front (Pontiac)

Pin

Wire

Circuit

Function

1

0.35 PU

709

Left Park Lamp Control

2

0.35 BK

1250

Ground

Marker Lamp - Left Rear


Object Number: 1860067  Size: CH

Connector Part Information

  • OEM: 10351681
  • Service: See Catalog
  • Description: 2-Way F Lamp Socket Sealed (BK)

Terminal Part Information

  • Terminal/Tray: See Terminal Repair Kit
  • Core/Insulation Crimp: See Terminal Repair Kit
  • Release Tool/Test Probe: See Terminal Repair Kit

Marker Lamp - Left Rear

Pin

Wire

Circuit

Function

1

0.35 RD/D-BU

709

Left Park Lamp Control

2

0.5 BK

550

Ground

Marker Lamp - Right Front (Chevrolet)


Object Number: 1413065  Size: CH

Connector Part Information

  • OEM: 6070-2911
  • Service: See Catalog
  • Description: 2-Way F 1.5 mm Series Sealed (NA)

Terminal Part Information

  • Terminal/Tray: 7116-4102-08/9
  • Core/Insulation Crimp: E/1
  • Release Tool/Test Probe: 12094430/J-35616-2A (GY)
  • Terminal/Tray: 7116-2640/12
  • Core/Insulation Crimp: E/1
  • Release Tool/Test Probe: 12094430/J-35616-42 (RD)

Marker Lamp - Right Front (Chevrolet)

Pin

Wire

Circuit

Function

1

0.35 BN/WH

309

Right Park Lamp Control

2

0.35 BK

1250

Ground

Marker Lamp - Right Front (Pontiac)


Object Number: 1283850  Size: CH

Connector Part Information

  • OEM: E3550
  • Service: See Catalog
  • Description: 2-Way F 1.5 mm Series Sealed (BK)

Terminal Part Information

  • Terminal/Tray: 7116-4102-08/9
  • Core/Insulation Crimp: E/1
  • Release Tool/Test Probe: 12094430/J-35616-2A (GY)
  • Terminal/Tray: 7116-2640/12
  • Core/Insulation Crimp: E/1
  • Release Tool/Test Probe: 12094430/J-35616-42 (RD)

Marker Lamp - Right Front (Pontiac)

Pin

Wire

Circuit

Function

1

0.5 BN/WH

309

Right Park Lamp Control

2

0.35 BK

1250

Ground

Marker Lamp - Right Rear


Object Number: 1860067  Size: CH

Connector Part Information

  • OEM: 10351681
  • Service: See Catalog
  • Description: 2-Way F Lamp Socket Sealed (BK)

Terminal Part Information

  • Terminal/Tray: See Terminal Repair Kit
  • Core/Insulation Crimp: See Terminal Repair Kit
  • Release Tool/Test Probe: See Terminal Repair Kit

Marker Lamp - Right Rear

Pin

Wire

Circuit

Function

1

0.35 RD/D-BU

309

Right Park Lamp Control

2

0.5 BK

850

Ground

Mass Air Flow (MAF)/Intake Air Temperature (IAT) Sensor (LNJ)


Object Number: 647974  Size: CH

Connector Part Information

  • OEM: 15326822
  • Service: 88987186
  • Description: 5-Way F GT 150 Sealed 4.0 (BK)

Terminal Part Information

  • Terminal/Tray: 12191819/8
  • Core/Insulation Crimp: E/A
  • Release Tool/Test Probe: 15315247/J-35616-2A (GY)

Mass Air Flow (MAF)/Intake Air Temperature (IAT) Sensor (LNJ)

Pin

Wire

Circuit

Function

A

0.5 YE

492

Mass Air Flow (MAF) Sensor Signal

B

0.5 PK/BK

5294

Powertrain Main Relay Fused Supply

C

0.5 BK/WH

451

Ground

D

0.5 TN

472

IAT Sensor Signal

E

0.5 TN

2760

Low Reference

Mass Air Flow (MAF)/Intake Air Temperature (IAT) Sensor (LY7)


Object Number: 684983  Size: CH

Connector Part Information

  • OEM: 13520906
  • Service: 19151493
  • Description: 5-Way F GT 150 Sealed (BK)

Terminal Part Information

  • Terminal/Tray: 12191819/8
  • Core/Insulation Crimp: Pins A-B, D-E - E/A
  • Core/Insulation Crimp: Pins C - 2/A
  • Release Tool/Test Probe: 15315247/J-35616-2A (GY)

Mass Air Flow (MAF)/Intake Air Temperature (IAT) Sensor (LY7)

Pin

Wire

Circuit

Function

A

0.5 YE

492

Mass Air Flow (MAF) Sensor Signal

B

0.5 PK

1039

Ignition Voltage

C

0.8 BK/WH

451

Ground

D

0.5 TN

472

Intake Air Temperature Sensor Signal

E

0.5 TN

2760

Low Reference

Mode Actuator


Object Number: 258172  Size: CH

Connector Part Information

  • OEM: 12064982
  • Service: 12102633
  • Description: 5-Way F Micro-Pack 100 Series (BK)

Terminal Part Information

  • Terminal/Tray: See Terminal Repair Kit
  • Core/Insulation Crimp: See Terminal Repair Kit
  • Release Tool/Test Probe: See Terminal Repair Kit

Mode Actuator

Pin

Wire

Circuit

Function

1

0.35 YE

1791

Low Reference

2

0.35 L-GN

2275

Mode Door Position Signal

3

0.35 GY

598

5-Volt Reference

4

0.35 WH

119

Mode Door Control

5

0.35 TN

2273

Mode Door Control

Outside Rearview Mirror - Driver (DK2)


Object Number: 1862240  Size: CH

Connector Part Information

  • OEM: 15269798
  • Service: See Catalog
  • Description: 6-Way F AIT II Series (BK)

Terminal Part Information

  • Terminal/Tray: See Terminal Repair Kit
  • Core/Insulation Crimp: See Terminal Repair Kit
  • Release Tool/Test Probe: See Terminal Repair Kit

Outside Rearview Mirror - Driver (DK2)

Pin

Wire

Circuit

Function

1

0.35 YE

1499

Driver Mirror Motor Left/Up Control

2

0.35 WH

81

Driver Mirror Motor Right Control

3

0.35 L-GN

88

Driver Mirror Motor Down Control

4

--

--

Not Used

5

0.5 BK

650

Ground

6

0.5 OG

2267

Mirror Heating Element Control

Outside Rearview Mirror - Driver (without DK2)


Object Number: 333035  Size: CH

Connector Part Information

  • OEM: 12047781
  • Service: 12101864
  • Description: 3-Way F Metri-Pack 150 Series (BK)

Terminal Part Information

  • Terminal/Tray: See Terminal Repair Kit
  • Core/Insulation Crimp: See Terminal Repair Kit
  • Release Tool/Test Probe: See Terminal Repair Kit

Outside Rearview Mirror - Driver (without DK2)

Pin

Wire

Circuit

Function

A

0.35 YE

1499

Driver Mirror Motor Left/Up Control

B

0.35 WH

81

Driver Mirror Motor Right Control

C

0.35 L-GN

88

Driver Mirror Motor Down Control

Outside Rearview Mirror - Passenger (DK2)


Object Number: 1862240  Size: CH

Connector Part Information

  • OEM: 15269798
  • Service: See Catalog
  • Description: 6-Way F AIT II Series (BK)

Terminal Part Information

  • Terminal/Tray: See Terminal Repair Kit
  • Core/Insulation Crimp: See Terminal Repair Kit
  • Release Tool/Test Probe: See Terminal Repair Kit

Outside Rearview Mirror - Passenger (DK2)

Pin

Wire

Circuit

Function

1

0.35 YE

1497

Passenger Mirror Motor Left/Up Control

2

0.35 WH

881

Passenger Mirror Motor Right Control

3

0.35 L-GN

889

Passenger Mirror Motor Down Control

4

--

--

Not Used

5

0.5 BK

650

Ground

6

0.5 OG

2267

Mirror Heating Element Control

Outside Rearview Mirror - Passenger (without DK2)


Object Number: 333035  Size: CH

Connector Part Information

  • OEM: 12047781
  • Service: 12101864
  • Description: 3-Way F Metri-Pack 150 Series (BK)

Terminal Part Information

  • Terminal/Tray: See Terminal Repair Kit
  • Core/Insulation Crimp: See Terminal Repair Kit
  • Release Tool/Test Probe: See Terminal Repair Kit

Outside Rearview Mirror - Passenger (without DK2)

Pin

Wire

Circuit

Function

A

0.35 YE

1497

Passenger Mirror Motor Left/Up Control

B

0.35 WH

881

Passenger Mirror Motor Right Control

C

0.35 L-GN

889

Passenger Mirror Motor Down Control

Outside Rearview Mirror Switch


Object Number: 901282  Size: CH

Connector Part Information

  • OEM: 15327190
  • Service: See Catalog
  • Description: 8-Way F Ducon 0.8 Unsealed (GY)

Terminal Part Information

  • Terminal/Tray: 15326592/19
  • Core/Insulation Crimp: E/2
  • Release Tool/Test Probe: 12094429/J-35616-64B (L-BU)

Outside Rearview Mirror Switch

Pin

Wire

Circuit

Function

1

0.35 RD/WH

840

Battery Positive Voltage

2

0.35 BK

1450

Ground

3

0.35 PU/WH

889

Passenger Mirror Motor Down Control

4

0.35 WH

81

Driver Mirror Motor Right Control

5

0.35 L-GN

1499

Driver Mirror Motor Left/Up Control

6

--

--

Not Used

7

0.35 YE

88

Driver Mirror Motor Down Control

8

0.35 OG/WH

881

Passenger Mirror Motor Right Control

Overhead Console Courtesy/Reading Lamps


Object Number: 333035  Size: CH

Connector Part Information

  • OEM: 12047781
  • Service: 12101864
  • Description: 3-Way F Metri-Pack 150 Series (BK)

Terminal Part Information

  • Terminal/Tray: See Terminal Repair Kit
  • Core/Insulation Crimp: See Terminal Repair Kit
  • Release Tool/Test Probe: See Terminal Repair Kit

Overhead Console Courtesy/Reading Lamps

Pin

Wire

Circuit

Function

A

0.8 OG

1732

Courtesy Lamp Control

B

0.8 BK

850

Ground

C

0.8 GY

157

Courtesy Lamp Control

Park Brake Switch


Object Number: 439818  Size: CH

Connector Part Information

  • OEM: 12047682
  • Service: 12101850
  • Description: 1-Way F Metri-Pack 150 Series (BK)

Terminal Part Information

  • Terminal/Tray: 12064971/5
  • Core/Insulation Crimp: E/C
  • Release Tool/Test Probe: 12094429/J-35616-2A (GY)

Park Brake Switch

Pin

Wire

Circuit

Function

A

0.5 OG/BK

233

Park Brake Switch Signal

Park Lamp - Left Front (Chevrolet)


Object Number: 1290303  Size: CH

Connector Part Information

  • OEM: 6189-0890
  • Service: 88988458
  • Description: 2-Way F 040 Sealed (BK)

Terminal Part Information

  • Terminal/Tray: See Terminal Repair Kit
  • Core/Insulation Crimp: See Terminal Repair Kit
  • Release Tool/Test Probe: See Terminal Repair Kit

Park Lamp - Left Front (Chevrolet)

Pin

Wire

Circuit

Function

1

0.35 PU

709

Left Park Lamp Control

2

0.35 BK

1250

Ground

Park Lamp - Right Front (Chevrolet)


Object Number: 1290303  Size: CH

Connector Part Information

  • OEM: 6189-0890
  • Service: 88988458
  • Description: 2-Way F 040 Sealed (BK)

Terminal Part Information

  • Terminal/Tray: See Terminal Repair Kit
  • Core/Insulation Crimp: See Terminal Repair Kit
  • Release Tool/Test Probe: See Terminal Repair Kit

Park Lamp - Right Front (Chevrolet)

Pin

Wire

Circuit

Function

1

0.35 BN/WH

309

Right Park Lamp Control

2

0.35 BK

1250

Ground

Park Position Switch


Object Number: 62450  Size: CH

Connector Part Information

  • OEM: 05-1165-0937
  • Service: See Catalog
  • Description: 4-Way F

Terminal Part Information

  • Terminal/Tray: See Terminal Repair Kit
  • Core/Insulation Crimp: See Terminal Repair Kit
  • Release Tool/Test Probe: See Terminal Repair Kit

Park Position Switch

Pin

Wire

Circuit

Function

A

0.35 PU/WH

5905

Key Capture/Column Lock Shift Position Signal

B

--

--

Not Used

C

--

--

Not Used

D

0.35 PU/WH

1630

Steering Column Key Cylinder Lock Solenoid Control

Park/Turn Signal Lamp - Left Front (Pontiac)


Object Number: 898467  Size: CH

Connector Part Information

  • OEM: 7900-1493-000
  • Service: See Catalog
  • Description: 3-Way F 1.5 Receptacle Sealed (BK)

Terminal Part Information

  • Terminal/Tray: 7116-4102-08/9
  • Core/Insulation Crimp: E/1
  • Release Tool/Test Probe: 12094430/J-35616-2A (GY)

Park/Turn Signal Lamp - Left Front (Pontiac)

Pin

Wire

Circuit

Function

1

0.35 L-BU/WH

1314

Left Front Turn Signal Lamp Control

2

0.35 PU

709

Left Park Lamp Control

3

0.35 BK

1250

Ground

Park/Turn Signal Lamp - Left Rear


Object Number: 1860839  Size: CH

Connector Part Information

  • OEM: 7823-2540-C22
  • Service: See Catalog
  • Description: 3-Way Lamp Socket Wedge Base W3 Sealed (TN)

Terminal Part Information

  • Terminal/Tray: See Terminal Repair Kit
  • Core/Insulation Crimp: See Terminal Repair Kit
  • Release Tool/Test Probe: See Terminal Repair Kit

Park/Turn Signal Lamp - Left Rear

Pin

Wire

Circuit

Function

MAJOR

0.35 D-GN

709

Left Park Lamp Control

MINOR

0.8 RD/D-BU

18

Left Rear Stop/Turn Lamp Control

GRND

0.5 BK

550

Ground

Park/Turn Signal Lamp - Right Front (Pontiac)


Object Number: 898467  Size: CH

Connector Part Information

  • OEM: 7900-1493-000
  • Service: See Catalog
  • Description: 3-Way F 1.5 Receptacle Sealed (BK)

Terminal Part Information

  • Terminal/Tray: 7116-4102-08/9
  • Core/Insulation Crimp: E/1
  • Release Tool/Test Probe: 12094430/J-35616-2A (GY)

Park/Turn Signal Lamp - Right Front (Pontiac)

Pin

Wire

Circuit

Function

1

0.35 D-BU/WH

1315

Right Front Turn Signal Lamp Control

2

0.35 BN/WH

309

Right Park Lamp Control

3

0.35 BK

1250

Ground

Park/Turn Signal Lamp - Right Rear


Object Number: 1860839  Size: CH

Connector Part Information

  • OEM: 7823-2540-C22
  • Service: See Catalog
  • Description: 3-Way Lamp Socket Wedge Base W3 Sealed (TN)

Terminal Part Information

  • Terminal/Tray: See Terminal Repair Kit
  • Core/Insulation Crimp: See Terminal Repair Kit
  • Release Tool/Test Probe: See Terminal Repair Kit

Park/Turn Signal Lamp - Right Rear

Pin

Wire

Circuit

Function

MAJOR

0.35 D-GN

309

Right Park Lamp Control

MINOR

0.8 RD/D-BU

19

Right Rear Stop/Turn Lamp Control

GRND

0.35 BK

850

Ground

Radio X1


Object Number: 1664602  Size: CH

Connector Part Information

  • OEM: 7283-4490-30
  • Service: 88988743
  • Description: 14-Way F (BK)

Terminal Part Information

  • Pins: 1, 8
  • Terminal/Tray: 12191812/19
  • Core/Insulation Crimp: C/A
  • Release Tool/Test Probe: 15315247/J-35616-2A (GY)
  • Pins: 2-7, 9-10, 13
  • Terminal/Tray: 7116-4618-02/14
  • Core/Insulation Crimp: Pins 2, 3, 9-10 - See Terminal Repair Kit
  • Core/Insulation Crimp: Pins 4-7, 13 - P/P
  • Release Tool/Test Probe: J-38125-215/J-35616-64B (L-BU)

Radio X1

Pin

Wire

Circuit

Function

1

1.0 RD/WH

2040

Battery Positive Voltage

2

0.75 TN

201

Left Front Speaker Output (+)

3

0.75 TN

1875

Right Front Speaker Output (+)

4

0.5 YE

7154

Communication Box Mic Output (+) Signal (U3U with UE1)

0.5 GY

655

Cellular Microphone Signal (U3U without UE1)

5

0.5 D-GN

7149

Communication Box Mic Output (-) Signal (U3U with UE1)

0.35 BARE

1489

Drain Wire (U3U without UE1)

6

0.5 WH

1487

Antenna Enable Signal

7

0.35 PU/WH

1382

LED Dimming Signal

8

0.8 BK/WH

1551

Ground

9

0.75 GY

118

Left Front Speaker Output (-)

10

0.75 TN/WH

1975

Right Front Speaker Output (-)

11-12

--

--

Not Used

13

0.35 D-GN

5060

Low Speed GMLAN Serial Data

14

--

--

Not Used

Radio X2


Object Number: 1566784  Size: CH

Connector Part Information

  • OEM: 7283-9076-30
  • Service: See Catalog
  • Description: 16-Way F Kaizen 0.64 Series (BK)

Terminal Part Information

  • Pins: 1-2, 5-6, 8-10, 13-14
  • Terminal/Tray: 7116-4618-02/14
  • Core/Insulation Crimp: Pins 1-2, 8-10 - P/P
  • Core/Insulation Crimp: Pins 5-6, 13-14 - See Terminal Repair Kit
  • Release Tool/Test Probe: J-38125-215/J-35616-64B (L-BU)

Radio X2

Pin

Wire

Circuit

Function

1

0.5 BN/WH

367

Remote Radio Left Audio Signal (+) (U2K)

2

0.5 D-GN/WH

368

Remote Radio Right Audio Signal (+) (U2K)

3-4

--

--

Not Used

5

0.75 BN

199

Left Rear Speaker Output (+)

6

0.75 D-BU

46

Right Rear Speaker Output (+)

7

0.5 OG/BK

1406

Remote Playback Device Left Audio Signal (UE1)

8

0.5 OG

5748

Radio Audio Mute Signal (U65)

9

0.5 TN/WH

372

Remote Radio Left Audio Signal (-) (U2K)

10

0.5 GY

388

Remote Radio Right Audio Signal (-) (U2K)

11-12

--

--

Not Used

13

0.75 YE

116

Left Rear Speaker Output (-)

14

0.75 L-BU

115

Right Rear Speaker Output (-)

15

0.5 L-BU

1405

Remote Playback Device Audio Common Signal (UE1)

16

--

--

Not Used

Radio X3 (UUC)


Object Number: 1845264  Size: CH

Connector Part Information

  • OEM: 7283-9077-40
  • Service: 89047195
  • Description: 16-Way F Kaizen 0.64 Series (L-GY)

Terminal Part Information

  • Terminal/Tray: 7116-4618-02/14
  • Core/Insulation Crimp: P/P
  • Release Tool/Test Probe: J-38125-215/J-35616-64B (L-BU)

Radio X3 (UUC)

Pin

Wire

Circuit

Function

1

0.5 YE

2059

Left Auxiliary Audio Signal

2

0.5 WH

2058

Right Auxiliary Audio Signal

3

0.5 L-BU

5826

Left DVD Audio Signal (+)

4

0.5 WH

5828

Right DVD Audio Signal (+)

5

0.5 OG/BK

5831

Remote Infra Red Signal (+)

6

0.5 PK/BK

5844

Video Bright Control

7

0.5 D-GN

6975

DVD Video Signal (+)

8

0.5 PU

2056

Auxiliary Video High Signal

9

0.35 BARE

5345

Drain Wire

10

0.5 BN/WH

5846

Video Power Mode Signal

11

0.5 PU

6979

DVD Audio Common

12

0.35 BARE

6980

DVD Drain Wire

13

0.5 TN/WH

5830

Remote Infra Red Signal (-)

14

0.35 BARE

6976

DVD Video Drain Wire

15

0.5 WH/BK

5335

DVD Video Signal (-)

16

0.35 BARE

5346

Video Drain Wire

Radio X4 (U3U)


Object Number: 1454407  Size: CH

Connector Part Information

  • OEM: 15394151
  • Service: 89047196
  • Description: 16-Way F Micro 64 (BN)

Terminal Part Information

  • Terminal/Tray: 15359541/4
  • Core/Insulation Crimp: M/M
  • Release Tool/Test Probe: 15381651-2/J-35616-64B (L-BU)

Radio X4 (U3U)

Pin

Wire

Circuit

Function

1-4

--

--

Not Used

5

0.5 D-GN/WH

817

Vehicle Speed Signal (U3U)

6-16

--

--

Not Used

Rear Differential Clutch Control Module X1 (MH4/M45)


Object Number: 1845114  Size: CH

Connector Part Information

  • OEM: 89047383
  • Service: See Catalog
  • Description: 10-Way F 0.64 Sealed (BK)

Terminal Part Information

  • Terminal/Tray: 7116-4618-02/14
  • Core/Insulation Crimp: P/P
  • Release Tool/Test Probe: J-38125-215/J-35616-64B (L-BU)

Rear Differential Clutch Control Module X1 (MH4/M45)

Pin

Wire

Circuit

Function

1-2

--

--

Not Used

3

0.5 BK

850

Ground

4

--

--

Not Used

5

0.5 L-BU

5986

Serial Data Communication Enable

6

0.5 RD/WH

1740

Battery Positive Voltage

7

--

--

Not Used

8

0.5 TN

2501

High Speed GMLAN Serial Data Bus-

9

0.5 TN/BK

2500

High Speed GMLAN Serial Data Bus+

10

--

--

Not Used

Rear Differential Clutch Control Module X2 (MH4/M45)


Object Number: 1861930  Size: CH

Connector Part Information

  • OEM: 89047382
  • Service: See Catalog
  • Description: 5-Way F 0.64 Sealed (BK)

Terminal Part Information

  • Terminal/Tray: See Terminal Repair Kit
  • Core/Insulation Crimp: See Terminal Repair Kit
  • Release Tool/Test Probe: See Terminal Repair Kit

Rear Differential Clutch Control Module X2 (MH4/M45)

Pin

Wire

Circuit

Function

1

--

--

Not Used

2

0.5 YE

9998

Low Reference

3

0.5 YE

9996

Low Reference

4

0.5 YE

9999

AWD Temperature Sensor Signal

5

0.5 YE

9997

AWD Coil Control

Rear Wheel Drive Module Clutch (MH4/M45)


Object Number: 334403  Size: CH

Connector Part Information

  • OEM:90980-10942
  • Service: See Catalog
  • Description: 4-Way F

Terminal Part Information

  • Terminal/Tray: See Terminal Repair Kit
  • Core/Insulation Crimp: See Terminal Repair Kit
  • Release Tool/Test Probe: See Terminal Repair Kit

Rear Wheel Drive Module Clutch (MH4/M45)

Pin

Wire

Circuit

Function

1

0.5 YE

9996

Low Reference

2

0.5 YE

9997

AWD Coil Control

3

0.5 YE

9999

AWD Temperature Sensor Signal

4

0.5 YE

9998

Low Reference

Rear Window Defogger Grid X1


Object Number: 365953  Size: CH

Connector Part Information

  • OEM: 7123-5014-30
  • Service: 88988465
  • Description: 1-Way F (BK)

Terminal Part Information

  • Terminal/Tray: See Terminal Repair Kit
  • Core/Insulation Crimp: See Terminal Repair Kit
  • Release Tool/Test Probe: See Terminal Repair Kit

Rear Window Defogger Grid X1

Pin

Wire

Circuit

Function

A

2.0 BK

293

Rear Defog Element Control

Rear Window Defogger Grid X2


Object Number: 365953  Size: CH

Connector Part Information

  • OEM: 7123-5014-30
  • Service: 88988465
  • Description: 1-Way F (BK)

Terminal Part Information

  • Terminal/Tray: See Terminal Repair Kit
  • Core/Insulation Crimp: See Terminal Repair Kit
  • Release Tool/Test Probe: See Terminal Repair Kit

Rear Window Defogger Grid X2

Pin

Wire

Circuit

Function

A

1.0 BK

550

Ground

Rear Window Wiper Motor


Object Number: 831380  Size: CH

Connector Part Information

  • OEM: 15332141
  • Service: 88986249
  • Description: 6-Way F GT 150 Series, Unsealed (BK)

Terminal Part Information

  • Pins: A-F
  • Terminal/Tray: 12191812/19
  • Core/Insulation Crimp: Pins A, C - C/A
  • Core/Insulation Crimp: Pins B, D-F - E/C
  • Release Tool/Test Probe: 15315247/J-35616-2A (GY)

Rear Window Wiper Motor

Pin

Wire

Circuit

Function

A

1.0 BK

550

Ground

B

0.35 L-GN

2270

Rear Window Washer Relay Control

C

1.0 RD/WH

2140

Battery Positive Voltage

D

0.5 YE

243

Ignition Voltage

E

0.35 GY

391

Rear Window Wiper Switch Signal

F

0.5 PK/BK

1303

Liftgate Ajar Switch Signal

Rear Window Wiper/Washer/Fog Lamp Switch


Object Number: 1664548  Size: CH

Connector Part Information

  • OEM: HCMPB-06-K
  • Service: 19115655
  • Description: 6-Way F HCM Series (BK)

Terminal Part Information

  • Terminal/Tray: SHCM-A03T-P025/20
  • Core/Insulation Crimp: J/J
  • Release Tool/Test Probe: 12094429/J-35616-64B (L-BU)

Rear Window Wiper/Washer/Fog Lamp Switch

Pin

Wire

Circuit

Function

1

0.35 BK/WH

1551

Ground

2

0.35 GY

391

Rear Window Wiper Switch Signal

3

0.35 L-GN

2270

Rear Window Washer Relay Control

4

0.35 OG

192

Front Fog Lamp Switch Signal (T96)

5

0.35BK

1450

Ground

6

0.35 PU/WH

1382

LED Dimming Signal (T96)

Recirculation Actuator


Object Number: 258172  Size: CH

Connector Part Information

  • OEM: 12064982
  • Service: 12102633
  • Description: 5-Way F Micro-Pack 100 Series (BK)

Terminal Part Information

  • Terminal/Tray: See Terminal Repair Kit
  • Core/Insulation Crimp: See Terminal Repair Kit
  • Release Tool/Test Probe: See Terminal Repair Kit

Recirculation Actuator

Pin

Wire

Circuit

Function

1

0.35 YE

1791

Low Reference

2

0.35 PU

1838

Recirculation Door Position Signal

3

0.35 GY

598

5-Volt Reference

4

0.35 TN/BK

2274

Recirculation Door Control

5

0.35 D-GN

1614

Recirculation Door Control

Remote Control Door Lock Receiver (RCDLR)


Object Number: 1673483  Size: CH

Connector Part Information

  • OEM: IL-AG5-4S-S3C1
  • Service: 88988745
  • Description: 4-Way F ILAG5 Series (GN)

Terminal Part Information

  • Terminal/Tray: IL-AG5-C1-5000/20
  • Core/Insulation Crimp: K/K
  • Release Tool/Test Probe: J-38125-211/J-35616-64B (L-BU)

Remote Control Door Lock Receiver (RCDLR)

Pin

Wire

Circuit

Function

1

0.35 RD/WH

1840

Battery Positive Voltage

2

0.35 D-GN

5060

Low Speed GMLAN Serial Data

3

--

--

Not Used

4

0.35 BK/WH

651

Ground

Seat Adjuster Switch - Driver (AG1)


Object Number: 556473  Size: CH

Connector Part Information

  • OEM: 15326924
  • Service: 15306174
  • Description: 8-Way F GT 280 Series (BK)

Terminal Part Information

  • Terminal/Tray: See Terminal Repair Kit
  • Core/Insulation Crimp: See Terminal Repair Kit
  • Release Tool/Test Probe: See Terminal Repair Kit

Seat Adjuster Switch - Driver (AG1)

Pin

Wire

Circuit

Function

A

3.0 D-GN

286

Driver Seat Front Vertical Motor Up Control

B

3.0 BK

284

Driver Seat Horizontal Motor Rearward Control

C

3.0 RD

285

Driver Seat Horizontal Motor Forward Control

D

2.0 RD/BK

542

Battery Positive Voltage

E

3.0 YE

282

Driver Seat Rear Vertical Motor Up Control

F

2.0 BK

650

Ground

G

3.0 L-BU

283

Driver Seat Rear Vertical Motor Down Control

H

3.0 D-BU

287

Driver Seat Front Vertical Motor Down Control

Seat Belt Buckle - Driver


Object Number: 280768  Size: CH

Connector Part Information

  • OEM: 12052832
  • Service: 12101825
  • Description: 2-Way F Metri-Pack 150 Series (BK)

Terminal Part Information

  • Terminal/Tray: 15326030/2
  • Core/Insulation Crimp: E/C
  • Release Tool/Test Probe: 12094429/J-35616-14(GN)

Seat Belt Buckle - Driver

Pin

Wire

Circuit

Function

A

0.35 TN/WH

5057

Low Reference

B

0.35 D-BU

5016

Seat Belt Switch - Left - Signal

Seat Belt Buckle - Passenger


Object Number: 280768  Size: CH

Connector Part Information

  • OEM: 12052832
  • Service: 12101825
  • Description: 2-Way F Metri-Pack 150 Series (BK)

Terminal Part Information

  • Terminal/Tray: 15326030/2
  • Core/Insulation Crimp: E/C
  • Release Tool/Test Probe: 12094429/J-35616-14(GN)

Seat Belt Buckle - Passenger

Pin

Wire

Circuit

Function

A

0.35 L-GN

5057

Low Reference

B

0.35 RD

1362

Seat Belt Switch - Right - Signal

Seat Belt Pretensioner - Left


Object Number: 1508930  Size: CH

Connector Part Information

  • OEM: 252922346
  • Service: See Catalog
  • Description: 2-Way F (PU with YE Case)

Terminal Part Information

  • Serviced as a pigtail
  • Release Tool/Test Probe: See Terminal Repair Kit

Seat Belt Pretensioner - Left

Pin

Wire

Circuit

Function

1

0.5 TN/WH

2118

Seat Belt Pretensioner - Left - High Control

2

0.5 OG/BK

2119

Seat Belt Pretensioner - Left - Low Control

Seat Belt Pretensioner - Right


Object Number: 1508930  Size: CH

Connector Part Information

  • OEM: 252922347
  • Service: See Catalog
  • Description: 2-Way F (PU with YE Case)

Terminal Part Information

  • Serviced as a pigtail
  • Release Tool/Test Probe: See Terminal Repair Kit

Seat Belt Pretensioner - Right

Pin

Wire

Circuit

Function

1

0.5 L-GN

2116

Seat Belt Pretensioner - Right - High Control

2

0.5 OG

2117

Seat Belt Pretensioner - Right - Low Control

Seat Front Vertical Motor - Driver (AG1)


Object Number: 2152710  Size: CH

Connector Part Information

  • OEM: 12020556
  • Service: 12101820
  • Description: 2-Way F Metri-Pack 280 Series (BK)

Terminal Part Information

  • Terminal/Tray: See Terminal Repair Kit
  • Core/Insulation Crimp: See Terminal Repair Kit
  • Release Tool/Test Probe: See Terminal Repair Kit

Seat Front Vertical Motor - Driver (AG1)

Pin

Wire

Circuit

Function

1

3.0 D-BU

287

Driver Seat Front Vertical Motor Down Control

2

3.0 D-GN

286

Driver Seat Front Vertical Motor Up Control

Seat Rear Vertical Motor - Driver (AG1)


Object Number: 2152710  Size: CH

Connector Part Information

  • OEM: 12020556
  • Service: 12101820
  • Description: 2-Way F Metri-Pack 280 Series (BK)

Terminal Part Information

  • Terminal/Tray: See Terminal Repair Kit
  • Core/Insulation Crimp: See Terminal Repair Kit
  • Release Tool/Test Probe: See Terminal Repair Kit

Seat Rear Vertical Motor - Driver (AG1)

Pin

Wire

Circuit

Function

1

3.0 L-BU

283

Driver Seat Rear Vertical Motor Down Control

2

3.0 YE

282

Driver Seat Rear Vertical Motor Up Control

Speaker - Left Front


Object Number: 1282875  Size: CH

Connector Part Information

  • OEM: 12196741
  • Service: See Catalog
  • Description: 2-Way F Faston 2.8 Series (BK)

Terminal Part Information

  • Terminal/Tray: See Terminal Repair Kit
  • Core/Insulation Crimp: See Terminal Repair Kit
  • Release Tool/Test Probe: See Terminal Repair Kit

Speaker - Left Front

Pin

Wire

Circuit

Function

1

0.8 GY

201

Left Front Speaker Output (+)

2

0.8 TN

118

Left Front Speaker Output (-)

Speaker - Left Rear


Object Number: 1282875  Size: CH

Connector Part Information

  • OEM: 12196741
  • Service: See Catalog
  • Description: 2-Way F Faston 2.8 Series (BK)

Terminal Part Information

  • Terminal/Tray: See Terminal Repair Kit
  • Core/Insulation Crimp: See Terminal Repair Kit
  • Release Tool/Test Probe: See Terminal Repair Kit

Speaker - Left Rear

Pin

Wire

Circuit

Function

1

0.8 YE

199

Left Rear Speaker Output (+)

2

0.8 BN

116

Left Rear Speaker Output (-)

Speaker - Left Tweeter


Object Number: 1282877  Size: CH

Connector Part Information

  • OEM: 626064-0
  • Service: See Catalog
  • Description: 2-Way F Faston 2.8 Series (NA)

Terminal Part Information

  • Terminal/Tray: See Terminal Repair Kit
  • Core/Insulation Crimp: See Terminal Repair Kit
  • Release Tool/Test Probe: See Terminal Repair Kit

Speaker - Left Tweeter

Pin

Wire

Circuit

Function

1

0.8 GY

201

Left Front Speaker Output (+)

2

0.8 TN

118

Left Front Speaker Output (-)

Speaker - Right Front


Object Number: 1282875  Size: CH

Connector Part Information

  • OEM: 12196741
  • Service: See Catalog
  • Description: 2-Way F Faston 2.8 Series (BK)

Terminal Part Information

  • Terminal/Tray: See Terminal Repair Kit
  • Core/Insulation Crimp: See Terminal Repair Kit
  • Release Tool/Test Probe: See Terminal Repair Kit

Speaker - Right Front

Pin

Wire

Circuit

Function

1

0.8 GY

200

Right Front Speaker Output (+)

2

0.8 TN

117

Right Front Speaker Output (-)

Speaker - Right Rear


Object Number: 1282875  Size: CH

Connector Part Information

  • OEM: 12196741
  • Service: See Catalog
  • Description: 2-Way F Faston 2.8 Series (BK)

Terminal Part Information

  • Terminal/Tray: See Terminal Repair Kit
  • Core/Insulation Crimp: See Terminal Repair Kit
  • Release Tool/Test Probe: See Terminal Repair Kit

Speaker - Right Rear

Pin

Wire

Circuit

Function

1

0.8 YE

46

Right Rear Speaker Output (+)

2

0.8 BN

115

Right Rear Speaker Output (-)

Speaker - Right Tweeter


Object Number: 1282877  Size: CH

Connector Part Information

  • OEM: 626064-0
  • Service: See Catalog
  • Description: 2-Way F Faston 2.8 Series (NA)

Terminal Part Information

  • Terminal/Tray: See Terminal Repair Kit
  • Core/Insulation Crimp: See Terminal Repair Kit
  • Release Tool/Test Probe: See Terminal Repair Kit

Speaker - Right Tweeter

Pin

Wire

Circuit

Function

1

0.8 GY

200

Right Front Speaker Output (+)

2

0.8 TN

117

Right Front Speaker Output (-)

Speaker - Subwoofer (U65)


Object Number: 130637  Size: CH

Connector Part Information

  • OEM: 12064760
  • Service: 12085208
  • Description: 4-Way F Metri-Pack 150 Series (BK)

Terminal Part Information

  • Terminal/Tray: 12047767/2
  • Core/Insulation Crimp: E/A
  • Release Tool/Test Probe: 12094429/J-35616-2A (GY)

Speaker - Subwoofer (U65)

Pin

Wire

Circuit

Function

A

1.0 L-GN/BK

1794

Subwoofer Speaker Coil 2 Output (-)

B

1.0 D-BU/WH

346

Subwoofer Speaker Coil 2 Output (+)

C

1.0 L-BU/BK

315

Subwoofer Speaker Coil 1 Output (-)

D

1.0 D-GN

1795

Subwoofer Speaker Coil 1 Output (+)

Starter Motor X1


Object Number: 439508  Size: CH

Connector Part Information

  • OEM: 12089916
  • Service: 12101763
  • Description: 1-Way F Metri-Pack 280 Sealed (GY)

Terminal Part Information

  • Terminal/Tray: 12176387/3
  • Core/Insulation Crimp: F/5
  • Release Tool/Test Probe: 12094430/J-35616-4A (PU)

Starter Motor X1

Pin

Wire

Circuit

Function

A

3.0 PU

6

Starter Solenoid Crank Voltage

Starter Motor X2 (Battery Positive Cable)

Terminal Part Information

  • Harness: Battery Positive Cable
  • Terminal/Tray: 12161134 (LNJ)
  • Terminal/Tray: 7003-1849-02 (LY7)
  • Core/Insulation Crimp: N/A
  • Description: Ring Terminal

Starter Motor X2 (Battery Positive Cable)

Pin

Wire

Circuit

Function

+

32 RD

1

Battery Positive Voltage

Starter Motor X2 (Engine)

Terminal Part Information

  • Harness: Engine
  • Terminal/Tray: 12146363 (LNJ)
  • Terminal/Tray: 7003-1849-02 (LY7)
  • Core/Insulation Crimp: N/A
  • Description: Ring Terminal

Starter Motor X2 (Engine)

Pin

Wire

Circuit

Function

+

19 RD

1

Battery Positive Voltage (LY7)

8 L-BU

5576

Battery Positive Voltage (LNJ)

Steering Angle Sensor (LY7)


Object Number: 1835137  Size: CH

Connector Part Information

  • OEM: 1488752-1
  • Service: 88988374
  • Description: 6-Way F 064 GET Series (BK)

Terminal Part Information

  • Terminal/Tray: 1393366-1/16
  • Core/Insulation Crimp: K/K
  • Release Tool/Test Probe: 15315247/J-35616-64B (L-BU)

Steering Angle Sensor (LY7)

Pin

Wire

Circuit

Function

1

0.5 GY

6044

12-Volt Reference

2

0.5 BN/WH

6437

CAN Bus High Terminated Serial Data

3

0.5 TN/WH

6433

CAN Bus High Terminated Serial Data

4

0.5 L-GN/BK

6432

CAN Bus Low Terminated Serial Data

5

0.5 WH/BK

6436

CAN Bus Low Terminated Serial Data

6

0.5 OG/BK

6045

Low Reference

Steering Wheel Control Switch - Left (Chevy with K34)


Object Number: 1711015  Size: CH

Connector Part Information

  • OEM: 30700-1100
  • Service: See Catalog
  • Description: 10-Way F HDAC64 DR Series (GY)

Terminal Part Information

  • Terminal/Tray: See Terminal Repair Kit
  • Core/Insulation Crimp: See Terminal Repair Kit
  • Release Tool/Test Probe: See Terminal Repair Kit

Steering Wheel Control Switch - Left (Chevy with K34)

Pin

Wire

Circuit

Function

1

0.35 PU

1375

Steering Wheel Control

2

--

--

Not Used

3

0.35 GY

1884

Cruise Control Switch Signal

4-5

--

--

Not Used

6

0.35 PU/WH

7005

LED Dimming Signal

7

--

--

Not Used

8

0.35 BK

1450

Ground

9

0.35 D-GN/WH

7158

Cruise Control Indicator Dimming Signal

10

--

--

Not Used

Steering Wheel Control Switch - Left (Pontiac with K34)


Object Number: 1333392  Size: CH

Connector Part Information

  • OEM: 50579407
  • Service: See Catalog
  • Description: 7-Way F (BK)

Terminal Part Information

  • Terminal/Tray: See Terminal Repair Kit
  • Core/Insulation Crimp: See Terminal Repair Kit
  • Release Tool/Test Probe: See Terminal Repair Kit

Steering Wheel Control Switch - Left (Pontiac with K34)

Pin

Wire

Circuit

Function

1

--

--

Not Used

2

--

--

Not Used

3

0.35 GY

7005

LED Dimming Signal

4

0.35 L-GN

1375

Steering Wheel Control

5

0.35 PK

1884

Cruise Control Switch Signal

6

0.35 YE

7158

Cruise Control Indicator Dimming Signal

7

0.35 BK

1450

Ground

Steering Wheel Control Switch - Right (Chevy with UK3)


Object Number: 1711016  Size: CH

Connector Part Information

  • OEM: 31068-1010
  • Service: See Catalog
  • Description: 4-Way F HDAC64 SR Housing (BK)

Terminal Part Information

  • Terminal/Tray: See Terminal Repair Kit
  • Core/Insulation Crimp: See Terminal Repair Kit
  • Release Tool/Test Probe: See Terminal Repair Kit

Steering Wheel Control Switch - Right (Chevy with UK3)

Pin

Wire

Circuit

Function

1

0.35 BK

1450

Ground

2

0.35 PU/WH

7005

LED Dimming Signal

3

0.35 PU

1375

Remote Radio Control

4

0.35 D-BU

1796

Steering Wheel Controls Signal

Steering Wheel Control Switch - Right (Pontiac with UK3)


Object Number: 605502  Size: CH

Connector Part Information

  • OEM: 50579404
  • Service: See Catalog
  • Description: 4-Way F (BK)

Terminal Part Information

  • Terminal/Tray: See Terminal Repair Kit
  • Core/Insulation Crimp: See Terminal Repair Kit
  • Release Tool/Test Probe: See Terminal Repair Kit

Steering Wheel Control Switch - Right (Pontiac with UK3)

Pin

Wire

Circuit

Function

1

0.35 BK

1450

Ground

2

0.35 L-GN

1375

Remote Radio Control

3

0.35 GY

7005

LED Dimming Signal

4

0.35 D-BU

1796

Steering Wheel Controls Signal

Sunroof Control Module (CF5)


Object Number: 1469285  Size: CH

Connector Part Information

  • OEM: 7283-8398-40
  • Service: See Catalog
  • Description: 14-Way F 64 2.8 YESC Series (L-GY)

Terminal Part Information

  • Terminal/Tray: See Terminal Repair Kit
  • Core/Insulation Crimp: See Terminal Repair Kit
  • Release Tool/Test Probe: See Terminal Repair Kit

Sunroof Control Module (CF5)

Pin

Wire

Circuit

Function

1

3.0 RD/WH

4440

Battery Positive Voltage

2

--

--

Not Used

3

0.35 YE

643

Ignition Voltage

4

3.0 BK

850

Ground

5

0.35 OG/BK

144

Sunroof Switch Open Vent Signal

6

0.35 BN

100

Sunroof Switch Open Signal

7

0.35 D-GN

2074

Sunroof Switch Express Signal

8-10

--

--

Not Used

11

0.35 D-BU

128

Low Reference

12

0.35 BN/WH

9061

Not Used

13

0.35 BK/WH

9062

Not Used

14

0.35 WH

9063

Not Used

Sunroof Switch (CF5)


Object Number: 40427  Size: CH

Connector Part Information

  • OEM: 12064978
  • Service: 12125678
  • Description: 6-Way F Metri-Pack 100 Series (GY)

Terminal Part Information

  • Terminal/Tray: See Terminal Repair Kit
  • Core/Insulation Crimp: See Terminal Repair Kit
  • Release Tool/Test Probe: See Terminal Repair Kit

Sunroof Switch (CF5)

Pin

Wire

Circuit

Function

1

--

--

Not Used

2

0.35 BN

100

Sunroof Switch Open Signal

3

0.35 OG/BK

144

Sunroof Switch Open Vent Signal

4

--

--

Not Used

5

0.35 D-BU

128

Low Reference

6

0.35 D-GN

2074

Sunroof Switch Express Signal

Tail/Stop Lamp - Left


Object Number: 1860839  Size: CH

Connector Part Information

  • OEM: 7822-2540-A22
  • Service: See Catalog
  • Description: 3-Way Lamp Socket Wedge Base W3 Sealed (BK)

Terminal Part Information

  • Terminal/Tray: See Terminal Repair Kit
  • Core/Insulation Crimp: See Terminal Repair Kit
  • Release Tool/Test Probe: See Terminal Repair Kit

Tail/Stop Lamp - Left

Pin

Wire

Circuit

Function

MAJOR

0.35 D-GN/WH

709

Left Park Lamp Control

MINOR

0.5 RD/D-BU

20

Stop Lamp Control

GRND

0.5 BK

550

Ground

Tail/Stop Lamp - Right


Object Number: 1860839  Size: CH

Connector Part Information

  • OEM: 7822-2540-A22
  • Service: See Catalog
  • Description: 3-Way Lamp Socket Wedge Base W3 Sealed (BK)

Terminal Part Information

  • Terminal/Tray: See Terminal Repair Kit
  • Core/Insulation Crimp: See Terminal Repair Kit
  • Release Tool/Test Probe: See Terminal Repair Kit

Tail/Stop Lamp - Right

Pin

Wire

Circuit

Function

MAJOR

0.35 D-GN/WH

309

Right Park Lamp Control

MINOR

0.5 RD/D-BU

20

Stop Lamp Control

GRND

0.5 BK

850

Ground

Theft Deterrent Module (TDM)


Object Number: 1593355  Size: CH

Connector Part Information

  • OEM: 50-57-9705
  • Service: 88988353
  • Description: 5-Way F SL Series, Unsealed (BK)

Terminal Part Information

  • Terminal/Tray: 16-02-1110/20
  • Core/Insulation Crimp: H/H
  • Release Tool/Test Probe: J-38125-213/J-35616-64B (L-BU)

Theft Deterrent Module (TDM)

Pin

Wire

Circuit

Function

1

0.35 RD/WH

1040

Battery Positive Voltage

2

0.35 BN

4

Ignition Voltage

3

0.35 BK/WH

1551

Ground

4

--

--

Not Used

5

0.35 D-GN

5060

Low Speed GMLAN Serial Data

Throttle Body (LNJ)


Object Number: 1664617  Size: CH

Connector Part Information

  • OEM: 15355297
  • Service: 19115594
  • Description: 6-Way F GT 150 Series Sealed (BK)

Terminal Part Information

  • Terminal/Tray: 12191819/8
  • Core/Insulation Crimp: Pins A, B: 2/A
  • Core/Insulation Crimp: Pins C-F: E/A
  • Release Tool/Test Probe: 15315247/J-35616-2A (GY)

Throttle Body (LNJ)

Pin

Wire

Circuit

Function

A

0.8 BN

582

Throttle Actuator Control (TAC) Motor Control - 2

B

0.8 YE

581

Throttle Actuator Control (TAC) Motor Control - 1

C

0.5 TN

2752

Low Reference

D

0.5 D-GN

485

Throttle Position Sensor 1 Signal

E

0.5 GY

2701

5-Volt Reference 2

F

0.5 PU

486

Throttle Position Sensor 2 Signal

Throttle Body (LY7)


Object Number: 1664617  Size: CH

Connector Part Information

  • OEM: 15355297
  • Service: 19115594
  • Description: 6-Way F GT 150 Series, Sealed (BK)

Terminal Part Information

  • Terminal/Tray: 15326427/5
  • Core/Insulation Crimp: Pins A-B - 2/A
  • Core/Insulation Crimp: Pins C-F - E/A
  • Release Tool/Test Probe: 15315247/J-35616-2A (GY)

Throttle Body (LY7)

Pin

Wire

Circuit

Function

A

0.8 BN

582

Throttle Actuator Control Motor Control - 2

B

0.8 YE

581

Throttle Actuator Control Motor Control - 1

C

0.5 TN

2752

Low Reference

D

0.5 D-GN

485

Throttle Position Sensor 1 Signal

E

0.5 GY

2701

5-Volt Reference

F

0.5 PU

486

Throttle Position Sensor 2 Signal

Traction Control Switch (TCS)


Object Number: 812599  Size: CH

Connector Part Information

  • OEM: 5057-9403
  • Service: See Catalog
  • Description: 3-Way F Receptacle 0.64 (BK)

Terminal Part Information

  • Terminal/Tray: 16-02-1110/20
  • Core/Insulation Crimp: H/H
  • Release Tool/Test Probe: J-38125-213/J-35616-64B (L-BU)

Traction Control Switch (TCS)

Pin

Wire

Circuit

Function

1

0.35 L-BU

1788

Traction Control Switch Signal

2

0.35 BK/WH

1551

Ground

3

0.35 PU/WH

1382

LED Dimming Signal

Trailer Connector (V92)


Object Number: 1479630  Size: CH

Connector Part Information

  • OEM: 15A416
  • Service: Serviced as a harness
  • Description: 4-Way F Sealed (BK)

Terminal Part Information

  • Serviced as a pigtail
  • Core/Insulation Crimp: See Terminal Repair Kit
  • Release Tool/Test Probe: See Terminal Repair Kit

Trailer Connector (V92)

Pin

Wire

Circuit

Function

1

1.0 WH

850

Ground

2

0.5 BN

2109

Trailer Park Lamps Control

3

0.5 YE

1618

Trailer Left Rear Turn/Stop Lamp Control

4

0.5 D-GN

1619

Trailer Right Rear Turn/Stop Lamp Control

Transmission Control Module (TCM) X1 (M09/M45)


Object Number: 1971240  Size: CH

Connector Part Information

  • OEM: 7283-9133-30
  • Service: See Catalog
  • Description: 16-Way F 0.64/1.5 Series Sealed (BK)

Terminal Part Information

  • Terminal/Tray: 7116-4720-02/14
  • Core/Insulation Crimp: J/J
  • Release Tool/Test Probe: 15315247/J-35616-64B (L-BU)

Transmission Control Module (TCM) X1 (M09/M45)

Pin

Wire

Circuit

Function

1

RD/WH

540

Battery Positive Voltage

2-4

--

--

Not Used

5

OG/BK

1786

Ignition Lock Cylinder Control Actuator Signal

6

TN

2501

High Speed GMLAN Serial Data Bus-

7

TN/BK

2500

High Speed GMLAN Serial Data Bus+

8

TN/BK

2500

High Speed GMLAN Serial Data Bus+

9

BK/WH

451

Ground

10

--

--

Not Used

11

PK

1339

Ignition Voltage

12

BN

4

Ignition Voltage

13

--

--

Not Used

14

TN

2501

High Speed GMALN Serial Data Bus-

15-16

--

--

Not Used

Transmission Control Module (TCM) X2 (M09/M45)


Object Number: 1938974  Size: CH

Connector Part Information

  • OEM: 7183-6563-30
  • Service: Non-Serviceable
  • Description: 4-Way M (BK)

Terminal Part Information

  • Terminal/Tray: Non-Serviceable
  • Core/Insulation Crimp: Non-Serviceable
  • Release Tool/Test Probe: Non-Serviceable

Transmission Control Module (TCM) X2 (M09/M45)

Pin

Wire

Circuit

Function

1

BK

401

Output Speed Sensor (OSS) Low Signal

2

RD

400

Output Shaft Sensor (OSS) High Signal

3

L-BU

1230

Input Speed Sensor (ISS) High Signal

4

TN

1231

Input Speed Sensor (ISS) Low Signal

Turn Signal Lamp - Left Front (Chevrolet)


Object Number: 1413080  Size: CH

Connector Part Information

  • OEM: 7223-1324-40
  • Service: 88988460
  • Description: 2-Way F 090 Sealed (GY)

Terminal Part Information

  • Terminal/Tray: 7116-1420/11
  • Core/Insulation Crimp: E/1
  • Release Tool/Test Probe: 15315247/J-35616-18 (BK)

Turn Signal Lamp - Left Front (Chevrolet)

Pin

Wire

Circuit

Function

1

0.35 L-BU/WH

1314

Left Front Turn Signal Lamp Control

2

0.35 BK

1250

Ground

Turn Signal Lamp - Right Front (Chevrolet)


Object Number: 1413080  Size: CH

Connector Part Information

  • OEM: 7223-1324-40
  • Service: 88988460
  • Description: 2-Way F 090 Sealed (GY)

Terminal Part Information

  • Terminal/Tray: 7116-1420/11
  • Core/Insulation Crimp: E/1
  • Release Tool/Test Probe: 15315247/J-35616-18 (BK)

Turn Signal Lamp - Right Front (Chevrolet)

Pin

Wire

Circuit

Function

1

0.35 D-BU/WH

1315

Right Front Turn Signal Lamp Control

2

0.35 BK

1250

Ground

Turn Signal/Multifunction Switch X1


Object Number: 1376709  Size: CH

Connector Part Information

  • OEM: 15450317
  • Service: 88987843
  • Description: 8-Way F Unsealed (WH)

Terminal Part Information

  • Terminal/Tray: SNAC-A03T-M040/20
  • Core/Insulation Crimp: J/J
  • Release Tool/Test Probe: 12094429/J-35616-12 (BU)

Turn Signal/Multifunction Switch X1

Pin

Wire

Circuit

Function

1

0.35 BK/WH

1551

Ground

2

0.35 WH

103

Headlamp Switch On Signal

3

0.35 BN/WH

301

Park Lamp Switch On Signal

4

0.35 D-GN

306

Headlamp Switch Off Signal

5-8

--

--

Not Used

Turn Signal/Multifunction Switch X2


Object Number: 845610  Size: CH

Connector Part Information

  • OEM: 15393435
  • Service: 88986438
  • Description: 10-Way F Micro 64 (GY)

Terminal Part Information

  • Terminal/Tray: 12177007/19
  • Core/Insulation Crimp: E/2
  • Release Tool/Test Probe: 12180559-1/J-35616-64B (L-BU)

Turn Signal/Multifunction Switch X2

Pin

Wire

Circuit

Function

A

--

--

Not Used

B

0.35 BK/WH

1551

Ground

C

0.35 BN

1356

Flash To Pass Switch Signal

D

0.35 PU

524

Headlamp Dimmer Switch High Beam Signal

E

--

--

Not Used

F

0.35 BK/WH

1551

Ground

G

0.35 L-BU/WH

1414

Left Front Turn Signal Switch Signal

H

0.35 D-BU/WH

1415

Right Front Turn Signal Switch Signal

J-K

--

--

Not Used

Vehicle Communication Interface Module (VCIM) X1 (UE1)


Object Number: 1710975  Size: CH

Connector Part Information

  • OEM: 917981-1
  • Service: 15306351
  • Description: 16-Way F.040/.070 Hybrid (WH)

Terminal Part Information

  • Pins: 10, 12-15
  • Terminal/Tray: See Terminal Repair Kit
  • Core/Insulation Crimp: See Terminal Repair Kit
  • Release Tool/Test Probe: See Terminal Repair Kit
  • Pins: 1-3, 6-7, 11
  • Terminal/Tray: 175266-5/15
  • Core/Insulation Crimp: Pins 1-3, 6, 11 - J/J
  • Core/Insulation Crimp: Pins 7 - K/K
  • Release Tool/Test Probe: 15315247/J-35616-16 (L-GN)

Vehicle Communication Interface Module (VCIM) X1 (UE1)

Pin

Wire

Circuit

Function

1

0.35 D-GN

5060

Low Speed GMLAN Serial Data

2

0.35 BN/WH

2517

Keypad Red LED Signal

3

0.35 YE/BK

2516

Keypad Green LED Signal

4-5

--

--

Not Used

6

0.35 L-GN/BK

2515

Keypad Control

7

0.8 BK/WH

1551

Ground

8-9

--

--

Not Used

10

0.5 TN/BK

2500

High Speed GMLAN Serial Data Bus+

11

0.35 D-GN/WH

2514

Keypad Signal

12

0.5 TN

2501

High Speed GMLAN Serial Data Bus-

13

0.5 GY/BK

5167

Low Reference

14

0.5 RD/WH

5235

Battery Backup Control

15

0.5 RD/WH

1140

Battery Positive Voltage

16

--

--

Not Used

Vehicle Communication Interface Module (VCIM) X2 (UE1)


Object Number: 1471691  Size: CH

Connector Part Information

  • OEM: 917975-1
  • Service: 88952886
  • Description: 12-Way F.040/.070 Hybrid (WH)

Terminal Part Information

  • Terminal/Tray: 15445905/23
  • Core/Insulation Crimp: J/J
  • Release Tool/Test Probe: 12180559/J-35616-16 (L-GN)

Vehicle Communication Interface Module (VCIM) X2 (UE1)

Pin

Wire

Circuit

Function

1

0.5 OG/BK

1406

Remote Playback Device Left Audio Signal

2

0.5 L-BU

1405

Remote Playback Device Audio Common Signal

3

0.5 TN/BK

2500

High Speed GMLAN Serial Data Bus+

4

0.5 TN

2501

High Speed GMLAN Serial Data Bus-

5-7

--

--

Not Used

8

0.35 GY

814

Drain Wire

9

0.5 GY

655

Cellular Microphone Signal

10

0.35 GY

1489

Drain Wire

11-12

--

--

Not Used

Vehicle Communication Interface Module (VCIM) X3 (UE1 with U3U)


Object Number: 814531  Size: CH

Connector Part Information

  • OEM: 917983-2
  • Service: 88988722
  • Description: 16-Way M MKII Hybrid (BK)

Terminal Part Information

  • Terminal/Tray: 175266-5/15
  • Core/Insulation Crimp: K/K
  • Release Tool/Test Probe: 15315247/J-35616-16 (L-GN)

Vehicle Communication Interface Module (VCIM) X3 (UE1 with U3U)

Pin

Wire

Circuit

Function

1

--

--

Not Used

2

0.5 YE

7154

Communication Box Mic Output (+) Signal

3

--

--

Not Used

4

0.5 D-GN

7149

Communication Box Mic Output (-) Signal

5

0.35 BARE

813

Drain Wire

6-16

--

--

Not Used

Vehicle Communication Interface Module (VCIM) Battery (UE1)


Object Number: 523630  Size: CH

Connector Part Information

  • OEM: 15326801
  • Service: 15306156
  • Description: 2-Way F GT 150 Series (BK)

Terminal Part Information

  • Terminal/Tray: 12191819/8
  • Core/Insulation Crimp: E/A
  • Release Tool/Test Probe: 15315247/J-35616-2A (GY)

Vehicle Communication Interface Module (VCIM) Battery (UE1)

Pin

Wire

Circuit

Function

A

0.5 RD/WH

5235

Battery Backup Control

B

0.5 GY/BK

5167

Low Reference

Video Display (UUC)


Object Number: 1711011  Size: CH

Connector Part Information

  • OEM: 7283-9088-30
  • Service: See Catalog
  • Description: 10-Way F Kaizen 0.64 Series (BK)

Terminal Part Information

  • Terminal/Tray: 7116-4618-02/14
  • Core/Insulation Crimp: P/P
  • Release Tool/Test Probe: J-38125-215/J-35616-64B (L-BU)

Video Display (UUC)

Pin

Wire

Circuit

Function

1

0.5 D-GN

6975

DVD Video Signal (+)

2

0.5 WH/BK

5335

DVD Video Signal (-)

3-5

--

--

Not Used

6

0.5 BK/WH

1551

Ground

7

0.5 RD/WH

2340

Battery Positive Voltage

8

0.5 WH

1487

Antenna Enable Signal

9

0.5 PK/BK

5844

Video Bright Control

10

0.5 BN/WH

5846

Video Mode Signal

Wheel Speed Sensor (WSS) - Left Front


Object Number: 537107  Size: CH

Connector Part Information

  • OEM: 12052644
  • Service: See Catalog
  • Description: 2-Way F Metri-Pack 150 Series Sealed (GY)

Terminal Part Information

  • Terminal/Tray: 12048074/2
  • Core/Insulation Crimp: E/1
  • Release Tool/Test Probe: 12094429/J-35616-2A (GY)

Wheel Speed Sensor (WSS) - Left Front

Pin

Wire

Circuit

Function

A

0.8 YE

873

Low Reference

B

0.8 L-BU

830

Left Front Wheel Speed Sensor Signal

Wheel Speed Sensor (WSS) - Left Rear


Object Number: 605500  Size: CH

Connector Part Information

  • OEM: 12162343
  • Service: 12162343
  • Description: 2-Way M Metri-Pack 150 Series Sealed (GY)

Terminal Part Information

  • Terminal/Tray: 12045773/2
  • Core/Insulation Crimp: E/1
  • Release Tool/Test Probe: 12094429/J-35616-3 (GY)

Wheel Speed Sensor (WSS) - Left Rear

Pin

Wire

Circuit

Function

A

0.5 OG

885

Low Reference

B

0.5 TN

884

Left Rear Wheel Speed Sensor Signal

Wheel Speed Sensor (WSS) - Right Front


Object Number: 537107  Size: CH

Connector Part Information

  • OEM: 12052644
  • Service: See Catalog
  • Description: 2-Way F Metri-Pack 150 Series Sealed (GY)

Terminal Part Information

  • Terminal/Tray: 12048074/2
  • Core/Insulation Crimp: E/1
  • Release Tool/Test Probe: 12094429/J-35616-2A (GY)

Wheel Speed Sensor (WSS) - Right Front

Pin

Wire

Circuit

Function

A

0.8 TN

833

Low Reference

B

0.8 D-GN

872

Right Front Wheel Speed Sensor Signal

Wheel Speed Sensor (WSS) - Right Rear


Object Number: 605500  Size: CH

Connector Part Information

  • OEM: 12162343
  • Service: 12162343
  • Description: 2-Way M Metri-Pack 150 Series Sealed (GY)

Terminal Part Information

  • Terminal/Tray: 12045773/2
  • Core/Insulation Crimp: E/1
  • Release Tool/Test Probe: 12094429/J-35616-3 (GY)

Wheel Speed Sensor (WSS) - Right Rear

Pin

Wire

Circuit

Function

A

0.5 WH

883

Low Reference

B

0.5 BN

882

Right Rear Wheel Speed Sensor Signal

Window Motor - Driver


Object Number: 1415174  Size: CH

Connector Part Information

  • OEM: 7283-5565-40
  • Service: See Catalog
  • Description: 2-Way F YESC/USCAR Series (L-GY)

Terminal Part Information

  • Terminal/Tray: See Terminal Repair Kit
  • Core/Insulation Crimp: See Terminal Repair Kit
  • Release Tool/Test Probe: See Terminal Repair Kit

Window Motor - Driver

Pin

Wire

Circuit

Function

1

2.0 BN

165

Power Window Motor Left Front Down Control

2

2.0 D-BU

164

Power Window Motor Left Front Up Control

Window Motor - Left Rear


Object Number: 1415174  Size: CH

Connector Part Information

  • OEM: 7283-5565-40
  • Service: See Catalog
  • Description: 2-Way F YESC/USCAR Series (L-GY)

Terminal Part Information

  • Terminal/Tray: See Terminal Repair Kit
  • Core/Insulation Crimp: See Terminal Repair Kit
  • Release Tool/Test Probe: See Terminal Repair Kit

Window Motor - Left Rear

Pin

Wire

Circuit

Function

1

2.0 BN

669

Power Window Motor Left Rear Down Control

2

2.0 D-BU

668

Power Window Motor Left Rear Up Control

Window Motor - Passenger


Object Number: 1415174  Size: CH

Connector Part Information

  • OEM: 7283-5565-40
  • Service: See Catalog
  • Description: 2-Way F YESC/USCAR Series (L-GY)

Terminal Part Information

  • Terminal/Tray: See Terminal Repair Kit
  • Core/Insulation Crimp: See Terminal Repair Kit
  • Release Tool/Test Probe: See Terminal Repair Kit

Window Motor - Passenger

Pin

Wire

Circuit

Function

1

2.0 BN

167

Power Window Master Switch Right Front Down Signal

2

2.0 D-BU

166

Power Window Master Switch Right Front Up Signal

Window Motor - Right Rear


Object Number: 1415174  Size: CH

Connector Part Information

  • OEM: 7283-5565-40
  • Service: See Catalog
  • Description: 2-Way F YESC/USCAR Series (L-GY)

Terminal Part Information

  • Terminal/Tray: See Terminal Repair Kit
  • Core/Insulation Crimp: See Terminal Repair Kit
  • Release Tool/Test Probe: See Terminal Repair Kit

Window Motor - Right Rear

Pin

Wire

Circuit

Function

1

2.0 BN

671

Power Window Motor Right Rear Down Control

2

2.0 D-BU

670

Power Window Motor Right Rear Up Control

Window Switch - Driver X1


Object Number: 1519696  Size: CH

Connector Part Information

  • OEM: 7283-6466-40
  • Service: See Catalog
  • Description: 6-Way F YESC 2.8MM (GY)

Terminal Part Information

  • Pins: 1, 3-6
  • Terminal/Tray: 7116-4112-02/9
  • Core/Insulation Crimp: C/D
  • Release Tool/Test Probe: 12094430/J-35616-35 (VT)
  • Pins: 2
  • Terminal/Tray: 7116-4110-02/9
  • Core/Insulation Crimp: E/C
  • Release Tool/Test Probe: 12094430/J-35616-4A (PU)

Window Switch - Driver X1

Pin

Wire

Circuit

Function

1

2.0 PU

171

Power Window Master Switch Right Rear Down Signal

2

0.35 PU/WH

6816

Indicator Dimming Control

3

2.0 L-GN

170

Power Window Master Switch Right Rear Up Signal

4

2.0 D-BU

1307

Power Window Master Switch Lockout Control

5

2.0 L-BU

166

Power Window Master Switch Right Front Up Signal

6

2.0 TN

167

Power Window Master Switch Right Front Down Signal

Window Switch - Driver X2


Object Number: 1519696  Size: CH

Connector Part Information

  • OEM: 7283-3242-60
  • Service: See Catalog
  • Description: 6-Way F Unsealed (GN)

Terminal Part Information

  • Terminal/Tray: 7116-4112-02/9
  • Core/Insulation Crimp: C/D
  • Release Tool/Test Probe: 12094430/J-35616-35 (VT)

Window Switch - Driver X2

Pin

Wire

Circuit

Function

1

2.0 YE

143

Ignition Voltage

2

2.0 D-GN

168

Power Window Master Switch Left Rear Up Signal

3

2.0 PU

169

Power Window Master Switch Left Rear Down Signal

4

2.0 BN

165

Power Window Motor Left Front Down Control

5

2.0 D-BU

164

Power Window Motor Left Front Up Control

6

2.0 BK

650

Ground

Window Switch - Left Rear


Object Number: 1861362  Size: CH

Connector Part Information

  • OEM: 6098-0245
  • Service: See Catalog
  • Description: 6-Way F HD Series (L-GY)

Terminal Part Information

  • Terminal/Tray: See Terminal Repair Kit
  • Core/Insulation Crimp: See Terminal Repair Kit
  • Release Tool/Test Probe: See Terminal Repair Kit

Window Switch - Left Rear

Pin

Wire

Circuit

Function

1

2.0 BN

669

Power Window Motor Left Rear Down Control

2

2.0 PU

169

Power Window Master Switch Left Rear Down Signal

3

--

--

Not Used

4

2.0 D-BU

668

Power Window Motor Left Rear Up Control

5

2.0 D-BU

1307

Power Window Master Switch Lockout Signal

6

2.0 D-GN

168

Power Window Master Switch Left Rear Up Signal

Window Switch - Right Rear


Object Number: 1861362  Size: CH

Connector Part Information

  • OEM: 6098-0245
  • Service: See Catalog
  • Description: 6-Way F HD Series (L-GY)

Terminal Part Information

  • Terminal/Tray: See Terminal Repair Kit
  • Core/Insulation Crimp: See Terminal Repair Kit
  • Release Tool/Test Probe: See Terminal Repair Kit

Window Switch - Right Rear

Pin

Wire

Circuit

Function

1

2.0 BN

671

Power Window Motor Right Rear Down Control

2

2.0 PU

171

Power Window Master Switch Right Rear Down Signal

3

--

--

Not Used

4

2.0 D-BU

670

Power Window Motor Right Rear Up Control

5

2.0 D-BU

1307

Power Window Master Switch Lockout Signal

6

2.0 D-GN

170

Power Window Master Switch Right Rear Up Signal

Windshield Washer Fluid Pump


Object Number: 1243629  Size: CH

Connector Part Information

  • OEM: 12185025
  • Service: 89046634
  • Description: 2-Way F Mini Timer Sealed (BK)

Terminal Part Information

  • Terminal/Tray: 60012941/21
  • Core/Insulation Crimp: See Terminal Repair Kit
  • Release Tool/Test Probe: 12122378/J-35616-4A (PU)

Windshield Washer Fluid Pump

Pin

Wire

Circuit

Function

1

0.8 D-GN

392

Rear Window Washer Pump Control

2

0.8 D-BU

298

Rear Window Washer Pump Control

Windshield Wiper Motor


Object Number: 243503  Size: CH

Connector Part Information

  • OEM: 12084891
  • Service: 15305874
  • Description: 5-Way F Metri-Pack 280 Series, Sealed (GY)

Terminal Part Information

  • Terminal/Tray: 12077411/2
  • Core/Insulation Crimp: 2/5
  • Release Tool/Test Probe: 12094430/J-35616-4A (PU)

Windshield Wiper Motor

Pin

Wire

Circuit

Function

A

--

--

Not Used

B

0.35 YE

196

Windshield Wiper Motor Park Switch Signal

C

1.0 BK

1250

Ground

D

1.0 PU

92

Windshield Wiper Motor High Speed

E

1.0 D-GN

95

Windshield Wiper Motor Low Speed

Windshield Wiper/Washer Switch


Object Number: 130718  Size: CH

Connector Part Information

  • OEM: 12059800
  • Service: 15306169
  • Description: 5-Way F Metri-Pack 150 Series (BK)

Terminal Part Information

  • Terminal/Tray: 12064971/5
  • Core/Insulation Crimp: E/C
  • Release Tool/Test Probe: 12094429/J-35616-2A (GY)

Windshield Wiper/Washer Switch

Pin

Wire

Circuit

Function

A

--

--

Not Used

B

0.35 PK

94

Rear Wiper Switch Signal

C

0.35 L-GN

1715

Windshield Wiper Switch High Signal

D

0.35 BK/WH

1251

Ground

E

0.35 L-BU

1714

Windshield Wiper Switch Low Signal

Yaw and Lateral Accelerometer Sensor


Object Number: 810084  Size: CH

Connector Part Information

  • OEM: 1-967640-1
  • Service: See Catalog
  • Description: 4-Way F MQS Socket Housing Sealed (BK)

Terminal Part Information

  • Terminal/Tray: 962885-5/15
  • Core/Insulation Crimp: 6/6
  • Release Tool/Test Probe: 12094429/J-35616-61B (L-BU)

Yaw and Lateral Accelerometer Sensor

Pin

Wire

Circuit

Function

1

0.5 OG/BK

6045

Low Reference

2

0.5 WH/BK

6436

CAN Bus Low Terminated Serial Data

3

0.5 BN/WH

6437

CAN Bus High Terminated Serial Data

4

0.5 GY

6044

12-Volt Reference