GM Service Manual Online
For 1990-2009 cars only

SMU - SECTION 9K - REMOTE KEYLESS ENTRY MODULE

SUBJECT: SERVICE MANUAL UPDATE - SECTION 9K - REMOTE KEYLESS ENTRY MODULE - CORRECT LOCATION IS DEPICTED IN 8A-201, FIGURE 65

MODELS: 1994-95 CHEVROLET LUMINA 1994-95 OLDSMOBILE SILHOUETTE 1994-95 PONTIAC TRANS SPORT

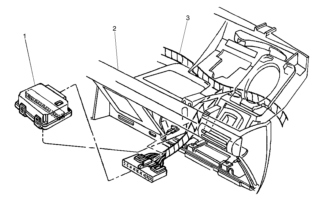
THE REMOTE KEYLESS ENTRY (RKE) MODULE IS INCORRECTLY SHOWN IN FIGURE 2, PAGE 9K-4 (1994 SERVICE MANUAL), PAGE 9K-3 (1995 SERVICE MANUAL).

THE MODULE IS DEPICTED IN THE RIGHT KICK PAD AREA, WHICH WAS THE CORRECT LOCATION THROUGH 1993.

THE CORRECT LOCATION FOR 1994 AND 1995 IS THE RIGHT SIDE OF THE I/P, BEHIND THE CONVENIENCE CENTER. THE CORRECT LOCATION IS DEPICTED IN 8A-201, FIGURE 65 OF THE SAME MANUALS (SEE FOLLOWING ILLUSTRATON).

THIS DISCREPANCY HAS BEEN CORRECTED FOR THE 1996 SERVICE MANUAL.

FIGURES: 1


Object Number: 95482  Size: FS

GENERAL MOTORS BULLETINS ARE INTENDED FOR USE BY PROFESSIONAL TECHNICIANS, NOT A "DO-IT-YOURSELFER". THEY ARE WRITTEN TO INFORM THOSE TECHNICIANS OF CONDITIONS THAT MAY OCCUR ON SOME VEHICLES, OR TO PROVIDE INFORMATION THAT COULD ASSIST IN THE PROPER SERVICE OF A VEHICLE. PROPERLY TRAINED TECHNICIANS HAVE THE EQUIPMENT, TOOLS, SAFETY INSTRUCTIONS AND KNOW-HOW TO DO A JOB PROPERLY AND SAFELY. IF A CONDITION IS DESCRIBED, DO NOT ASSUME THAT THE BULLETIN APPLIES TO YOUR VEHICLE, OR THAT YOUR VEHICLE WILL HAVE THAT CONDITION. SEE A GENERAL MOTORS DEALER SERVICING YOUR BRAND OF GENERAL MOTORS VEHICLE FOR INFORMATION ON WHETHER YOUR VEHICLE MAY BENEFIT FROM THE INFORMATION.

COPYRIGHT 1996 GENERAL MOTORS CORPORATION. ALL RIGHTS RESERVED.