GM Service Manual Online
For 1990-2009 cars only
Makes
🢒
Pontiac
🢒
1997
🢒
Trans Sport Ext.
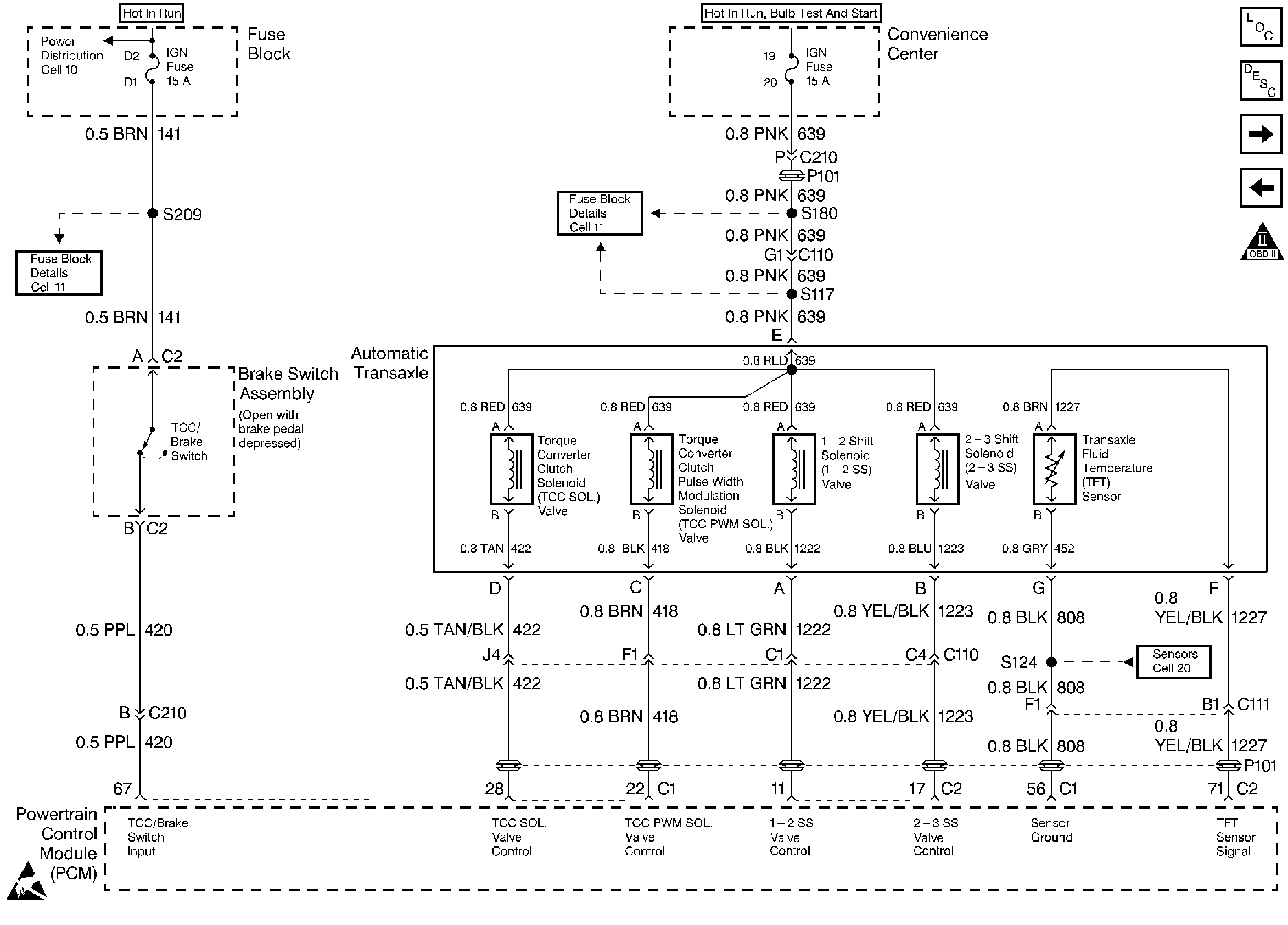
🢒 TCC, Brake Switch
TCC, Brake Switch
TCC, Brake Switch
Engine Controls Components
A/C Controls
VSS, Cruise Control
OBD II Symbol Description Notice
Handling ESD Sensitive Parts Notice