GM Service Manual Online
For 1990-2009 cars only

Caution: Use the proper eye protection when drilling to prevent metal chips from causing physical injury.


    Object Number: 1464393  Size: SH
  1. Clamp the strut in a vise horizontally with the strut rod completely extended.
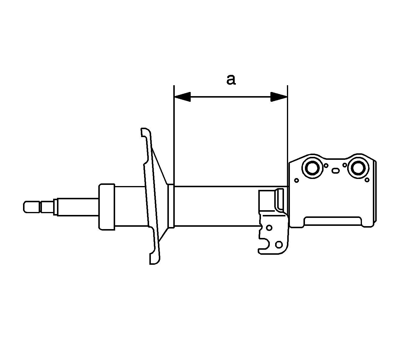
  2. Make an indentation in the middle of the tube (a) with a centerpunch.
  3. Drill a hole in the strut at the centerpunch using a 5 mm (3/16 in) drill bit. Gas and/or oil will escape when the drill bit penetrates the strut. Use shop towels in order to contain the escaping oil.
  4. Remove the strut from the vise. Hold the strut over a drain pan horizontally with the hole down. Move the rod in and out of the tube to completely drain the oil from the strut.