| Table 1: | Ambient Light Sensor |
| Table 2: | Backup Lamp Switch (Manual Transmission) |
| Table 3: | Center High Mounted Stop Lamp |
| Table 4: | Cigar Lighter Illumination Lamp |
| Table 5: | Daytime Running Lamps (DRL) Control Module |
| Table 6: | Flasher Relay |
| Table 7: | Front Dome Lamp |
| Table 8: | Hazard Switch |
| Table 9: | I/P Lamp Dimmer |
| Table 10: | Left Backup and Rear Fog Lamp |
| Table 11: | Left Fog Lamp |
| Table 12: | Left Front Park/Turn Lamp |
| Table 13: | Left Headlamp |
| Table 14: | Left License Plate Lamp |
| Table 15: | Left Rear Turn Lamp |
| Table 16: | Left Tail/Stop Lamp |
| Table 17: | Park/Neutral Position (PNP) Switch |
| Table 18: | Rear Dome Lamp |
| Table 19: | Right Backup and Rear Fog Lamp |
| Table 20: | Right Fog Lamp |
| Table 21: | Right Front Park/Turn Lamp |
| Table 22: | Right Headlamp |
| Table 23: | Right License Plate Lamp |
| Table 24: | Right Rear Turn Lamp |
| Table 25: | Right Tail/Stop Lamp |
| Table 26: | Stop Lamp Switch |
| Table 27: | Turn Signal/Headlamp Switch |
| ||||||
|---|---|---|---|---|---|---|
Connector Part Information |
| |||||
Pin | Wire Color | Function | ||||
1 | GN/YE | Daytime Running Lamps Control Module - Sensor Supply Voltage | ||||
2 | -- | Not Used | ||||
3 | GN/WH | Daytime Running Lamps Control Module - Sensor Ground | ||||
4 | GN/BK | Daytime Running Lamps Control Module - Sensor Signal | ||||
| ||||||
|---|---|---|---|---|---|---|
Connector Part Information |
| |||||
Pin | Wire Color | Function | ||||
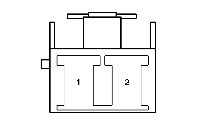
1 | RD/WH | Backup Lamp Feed Circuit | ||||
2 | RD/BK | Backup Lamp Control Circuit | ||||
| ||||||
|---|---|---|---|---|---|---|
Connector Part Information |
| |||||
Pin | Wire Color | Function | ||||
1 | GN/WH | Brake Signal | ||||
2 | WH/BK | Ground | ||||
| ||||||
|---|---|---|---|---|---|---|
Connector Part Information |
| |||||
Pin | Wire Color | Function | ||||
1 | WH/BK | Illumination Negative | ||||
2 | GN | Illumination Positive | ||||
| ||||||
|---|---|---|---|---|---|---|
Connector Part Information |
| |||||
Pin | Wire Color | Function | ||||
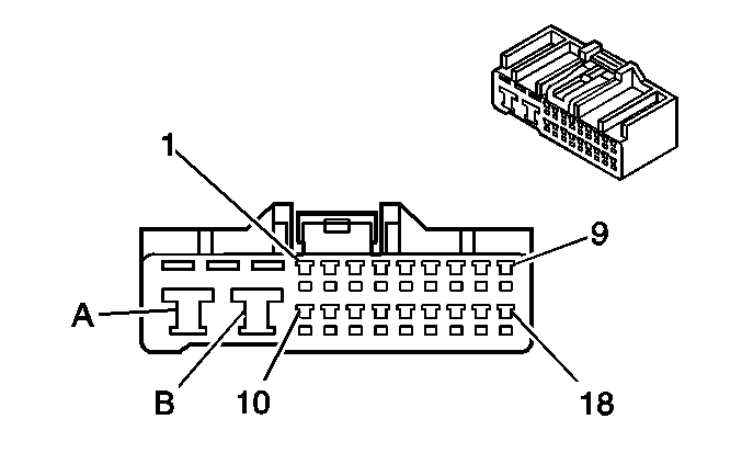
A | RD/BK | Low Beam Control | ||||
B | WH/BK | Ground | ||||
1 | RD/BK | Battery Voltage | ||||
2 | GN/OR | Fog Lamp Relay Control | ||||
3 | RD | Headlamps ON Indicator Control | ||||
4 | RD/YE | Headlamp Relay Control | ||||
5 | RD | Headlamps ON/Low Beam Position | ||||
6 | YE | Generator Load Signal | ||||
7 | WH/BK | Ground | ||||
8 | RD/WH | Brake Signal | ||||
9 | RD/BK | Park Brake Switch Signal | ||||
10 | RD/WH | Ignition Voltage | ||||
11 | WH/RD | DIM Relay Control | ||||
12 | GN/BK | TAIL Relay Control | ||||
13 | GN/WH | Park Lamps Signal | ||||
14 | RD/WH | High Beam/Flash Signal | ||||
15 | -- | Not Used | ||||
16 | GN/RD | Ambient Light Sensor Ground | ||||
17 | GN/OR | Ambient Light Sensor Signal | ||||
18 | GN/YE | Ambient Light Sensor Supply Voltage | ||||
| ||||||
|---|---|---|---|---|---|---|
Connector Part Information |
| |||||
Pin | Wire Color | Function | ||||
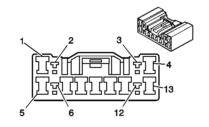
1 | RD/WH | Ignition Voltage | ||||
2 | GN/YE | LH Turn Signal Supply Voltage Circuit | ||||
3 | GN/BK | RH Turn Signal Supply Voltage Circuit | ||||
4 | GN/WH | Battery Voltage | ||||
5 | GN/RD | Left Turn Signal/ Signal | ||||
6 | GN/OR | Right Turn Signal/ Signal | ||||
7 | WH/BK | Ground | ||||
8 | YE/BK | Hazard Switch Control Circuit | ||||
| ||||||
|---|---|---|---|---|---|---|
Connector Part Information |
| |||||
Pin | Wire Color | Function | ||||
1 | RD/YE | Front Dome Lamp Control Circuit | ||||
2 | BU/WH | Front Dome Lamp Feed Circuit | ||||
3 | -- | Not Used | ||||
| ||||||
|---|---|---|---|---|---|---|
Connector Part Information |
| |||||
Pin | Wire Color | Function | ||||
1 | WH/BK | Ground | ||||
2-3 | -- | Not Used | ||||
4 | YE/BK | Hazard Control Circuit | ||||
5-7 | -- | Not Used | ||||
8 | GN | Illumination Lamp Positive | ||||
9 | WT/BK | Illumination Lamp Negative | ||||
10 | -- | Not Used | ||||
| ||||||
|---|---|---|---|---|---|---|
Connector Part Information |
| |||||
Pin | Wire Color | Function | ||||
1 | RD/WH | Courtesy Lamps Control Circuit | ||||
2 | GN | Instrument Panel Illumination Supply Voltage | ||||
3 | BK | Instrument Panel Cluster | ||||
4 | GN | Instrument Panel Lamp Dimmer Feed Circuit | ||||
5 | WH/RD | Instrument Panel Cluster | ||||
6 | -- | Not Used | ||||
7 | WH/BK | Ground | ||||
8 | RD/BK | Front and Rear Dome Lamp Control Circuit | ||||
| ||||||
|---|---|---|---|---|---|---|
Connector Part Information |
| |||||
Pin | Wire Color | Function | ||||
1 | RD | Rear Fog Lamp Feed Circuit | ||||
2 | RD/BK | Backup Lamp Feed Circuit | ||||
3 | WH/BK | Ground | ||||
| ||||||
|---|---|---|---|---|---|---|
Connector Part Information |
| |||||
Pin | Wire Color | Function | ||||
A | WH/BK | Ground | ||||
B | RD | Fog Lamp Feed Circuit | ||||
| ||||||
|---|---|---|---|---|---|---|
Connector Part Information |
| |||||
Pin | Wire Color | Function | ||||
1 | GN | Park Lamp Feed Circuit | ||||
2 | WH/BK | Ground | ||||
3 | GN/BK | Turn Signal Feed Circuit | ||||
| ||||||
|---|---|---|---|---|---|---|
Connector Part Information |
| |||||
Pin | Wire Color | Function | ||||
1 | RD/BK | Low Beam Control | ||||
2 | RD/WH | High Beam Control | ||||
3 | RD/WH | Headlamp Supply Voltage | ||||
| ||||||
|---|---|---|---|---|---|---|
Connector Part Information |
| |||||
Pin | Wire Color | Function | ||||
1 | WH/BK | Ground | ||||
2 | GN | License Plate Lamp Feed Circuit | ||||
| ||||||
|---|---|---|---|---|---|---|
Connector Part Information |
| |||||
Pin | Wire Color | Function | ||||
1 | WH/BK | Ground | ||||
2 | GN/BK | Turn Lamp Feed Circuit | ||||
| ||||||
|---|---|---|---|---|---|---|
Connector Part Information |
| |||||
Pin | Wire Color | Function | ||||
1 | WH/BK | Ground | ||||
2 | GN | Tail Lamp Feed Circuit | ||||
3 | GN/WT | Stop Lamp Feed Circuit | ||||
| ||||||
|---|---|---|---|---|---|---|
Connector Part Information |
| |||||
Pin | Wire Color | Function | ||||
1 | -- | Not Used | ||||
2 | RD/BK | Backup Lamp Supply Voltage | ||||
3 | RD/WH | PNP Switch Feed Circuit | ||||
4 | LT GN | 2nd Gear Position Signal | ||||
5 | -- | Not Used | ||||
6 | BK | Start Position Signal | ||||
7 | BU | Drive Position Signal | ||||
8 | LT GN/BK | Low Position Signal | ||||
9 | RD | PNP Switch Feed Circuit | ||||
| ||||||
|---|---|---|---|---|---|---|
Connector Part Information |
| |||||
Pin | Wire Color | Function | ||||
1 | RD/YE | Rear Dome Lamp Control Circuit | ||||
2 | BU/WH | Rear Dome Lamp Feed Circuit | ||||
3 | -- | Not Used | ||||
| ||||||
|---|---|---|---|---|---|---|
Connector Part Information |
| |||||
Pin | Wire Color | Function | ||||
1 | RD | Rear Fog Lamp Feed Circuit | ||||
2 | RD/BK | Backup Lamp Feed Circuit | ||||
3 | WH/BK | Ground | ||||
| ||||||
|---|---|---|---|---|---|---|
Connector Part Information |
| |||||
Pin | Wire Color | Function | ||||
A | WH/BK | Ground | ||||
B | RD | Fog Lamp Feed Circuit | ||||
| ||||||
|---|---|---|---|---|---|---|
Connector Part Information |
| |||||
Pin | Wire Color | Function | ||||
1 | GN | Right Park Lamp Feed Circuit | ||||
2 | WH/BK | Ground | ||||
3 | GN/WH | Right Turn Signal Feed Circuit | ||||
| ||||||
|---|---|---|---|---|---|---|
Connector Part Information |
| |||||
Pin | Wire Color | Function | ||||
1 | RD/BK | Low Beam Feed Circuit | ||||
2 | RD/WH | High Beam Feed Circuit | ||||
3 | RD | Ground | ||||
| ||||||
|---|---|---|---|---|---|---|
Connector Part Information |
| |||||
Pin | Wire Color | Function | ||||
1 | WH/BK | Ground | ||||
2 | GN | Right License Plate Lamp Feed Circuit | ||||
| ||||||
|---|---|---|---|---|---|---|
Connector Part Information |
| |||||
Pin | Wire Color | Function | ||||
1 | WH/BK | Ground | ||||
2 | GN/YE | Turn Lamp Feed Circuit | ||||
| ||||||
|---|---|---|---|---|---|---|
Connector Part Information |
| |||||
Pin | Wire Color | Function | ||||
1 | WH/BK | Ground | ||||
2 | GN | Tail Lamp Feed Circuit | ||||
3 | GN/WH | Stop Lamp Feed Circuit | ||||
| ||||||
|---|---|---|---|---|---|---|
Connector Part Information |
| |||||
Pin | Wire Color | Function | ||||
1 | GN/WH | Stop Lamp Switch Signal Circuit | ||||
2 | RD/WH | Stop Lamp Switch Feed Circuit | ||||
3 | GN/OR | Cruise Control Servo Interrupt Circuit | ||||
4 | RD/YE | Cruise Control Module Interrupt Circuit | ||||
| ||||||
|---|---|---|---|---|---|---|
Connector Part Information |
| |||||
Pin | Wire Color | Function | ||||
1 | -- | Not Used | ||||
2 | RD/YE | Fog Lamp Relay Control--Fog Lamp Switch | ||||
3 | -- | Not Used | ||||
4 | GN/OR | Fog Lamp Relay Control--DRL Control Module | ||||
5 | GN/RD | Left Turn Signal/ Signal | ||||
6 | WH/BK | Ground | ||||
7 | GN/OR | Right Turn Signal/ Signal | ||||
8 | RD | Low Beam Signal | ||||
9 | RD/WH | High Beam Signal | ||||
10 | WH/BK | Ground | ||||
11 | WH/BK | Ground | ||||
12 | RD | Low Beam ON Signal | ||||
13 | GN/WH | Park Lamps ON Signal | ||||