GM Service Manual Online
For 1990-2009 cars only
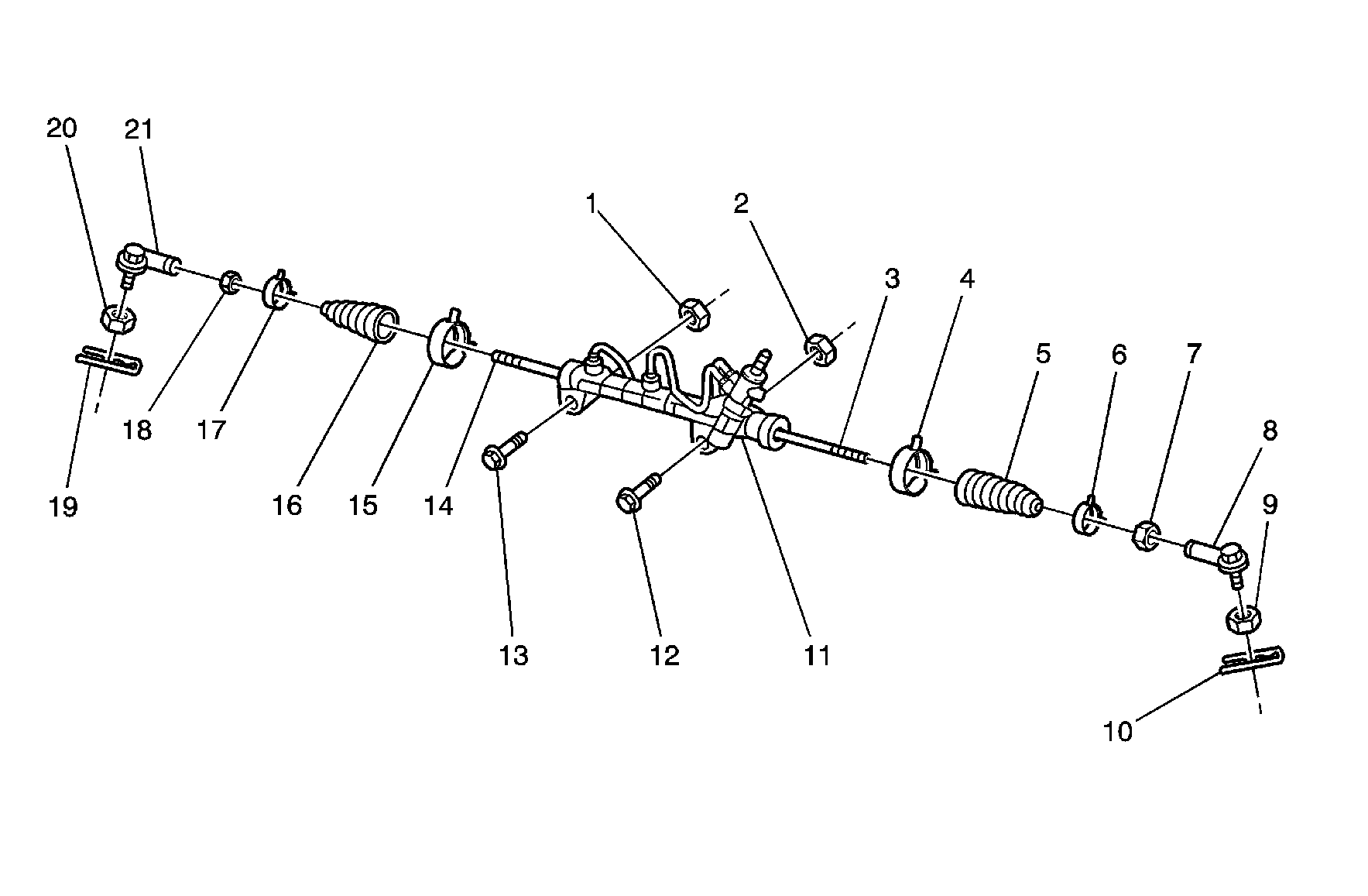
Figure 1:

Power Steering Gear Disassembled View (FWD)


Object Number: 850136  Size: MF
(1)Bolt
(2)Bolt
(3)Bolt
(4)Bolt
(5)Steering Linkage Outer Tie Rod Cotter Pin
(6)Steering Linkage Outer Tie Rod Nut
(7)Steering Linkage Outer Tie Rod
(8)Steering Linkage Inner Tie Rod Nut
(9)Steering Gear Boot Clamp
(10)Steering Gear Boot
(11)Steering Gear Boot Clamp
(12)Steering Linkage Inner Tie Rod
(13)Steering Gear Housing
(14)Steering Linkage Inner Tie Rod
(15)Steering Gear Boot Clamp
(16)Steering Gear Boot
(17)Steering Gear Boot Clamp
(18)Steering Linkage Inner Tie Rod Nut
(19)Steering Linkage Outer Tie Rod
(20)Steering Linkage Outer Tie Rod Nut
(21)Steering Linkage Outer Tie Rod Cotter Pin
Figure 2:

Power Steering Gear Disassembled View (AWD)


Object Number: 850220  Size: MF
(1)Steering Gear Nut
(2)Steering Gear Nut
(3)Steering Linkage Inner Tie Rod
(4)Steering Gear Boot Clamp
(5)Steering Gear Boot
(6)Steering Gear Boot Clamp
(7)Steering Linkage Inner Tie Rod Nut
(8)Steering Linkage Outer Tie Rod
(9)Steering Linkage Outer Tie Rod Nut
(10)Steering Linkage Outer Tie Rod Cotter Pin
(11)Steering Gear Housing
(12)Steering Gear Bolt
(13)Steering Gear Bolt
(14)Steering Linkage Inner Tie Rod
(15)Steering Gear Boot Clamp
(16)Steering Gear Boot
(17)Steering Gear Boot Clamp
(18)Steering Linkage Inner Tie Rod Nut
(19)Steering Linkage Outer Tie Rod Cotter Pin
(20)Steering Linkage Outer Tie Rod Nut
(21)Steering Linkage Outer Tie Rod