| |||||||||||||
|---|---|---|---|---|---|---|---|---|---|---|---|---|---|
Connector Part Information |
| Connector Part Information |
| ||||||||||
Pin | Wire Color | Function | Pin | Wire Color | Function | ||||||||
1-2 | -- | Not Used | 1-2 | -- | Not Used | ||||||||
3 | BK/WH | EFI Supply Voltage | 3 | BK/WH | EFI Supply Voltage | ||||||||
4 | BK/WH | AC Clutch Supply Voltage | 4 | BK/WH | AC Clutch Supply Voltage | ||||||||
5 | WH | Alternator Supply Voltage | 5 | WH | Alternator Supply Voltage | ||||||||
6-7 | -- | Not Used | 6-7 | -- | Not Used | ||||||||
8 | YE | Refrigerant Pressure Switch PCM Signal | 8 | YE | Refrigerant Pressure Switch PCM Signal | ||||||||
9 | BK | EFI Relay PCM Signal Voltage | 9 | BK | EFI Relay PCM Signal Voltage | ||||||||
10 | BK/WH | Ignition Coils Supply Voltage | 10 | BK/WH | Ignition Coils Ignition Supply Voltage | ||||||||
|
| ||||||||||||
|---|---|---|---|---|---|---|---|---|---|---|---|---|---|
Connector Part Information |
| Connector Part Information |
| ||||||||||
Pin | Wire Color | Function | Pin | Wire Color | Function | ||||||||
1 | RD/BK | Daytime Running Lamps Control Module - Low Beam Control | 1 | RD/BK | Daytime Running Lamps Control Module - Low Beam Control | ||||||||
2 | BK/RD | Starter Relay Supply Voltage | 2 | BK/RD | Starter Relay Supply Voltage | ||||||||
3 | WH/BL | Daytime Running Lamps Control Module | 3 | WH/BK | Daytime Running Lamps Control Module | ||||||||
| |||||||||||||
|---|---|---|---|---|---|---|---|---|---|---|---|---|---|
Connector Part Information |
| Connector Part Information |
| ||||||||||
Pin | Wire Color | Function | Pin | Wire Color | Function | ||||||||
1 | RD/WH | Battery Positive Voltage | 1 | RD/WH | Battery Positive Voltage | ||||||||
2 | BU/RD | Rear Washer Pump Control | 2 | BU/RD | Rear Washer Pump Control | ||||||||
3 | RD | Clutch Pedal Position Switch Supply Voltage | 3 | RD | Clutch Pedal Position Switch Supply Voltage | ||||||||
4 | RD/WH | Headlamp Relay Control | 4 | RD/YE | Headlamp Relay Control | ||||||||
5 | BU/RD | Radio Amplifier Supply Voltage | 5 | BU/RD | Radio Amplifier Supply Voltage | ||||||||
6 | BU/WH | Windshield Wiper Park Signal | 6 | BU/WH | Windshield Wiper Park Signal | ||||||||
7 | BU/WH | Windshield Wiper Low Speed Signal | 7 | BU/WH | Windshield Wiper Low Speed Signal | ||||||||
8 | BU/RD | Windshield Wiper High Speed Signal | 8 | BU/RD | Windshield Wiper High Speed Signal | ||||||||
9 | BU/YE | Windshield Washer Pump Supply Voltage | 9 | BU/YE | Windshield Washer Pump Supply Voltage | ||||||||
10 | WH/RD | Headlamp Dimmer Relay Control | 10 | WH/RD | Headlamp Dimmer Relay Control | ||||||||
|
| ||||||||||||
|---|---|---|---|---|---|---|---|---|---|---|---|---|---|
Connector Part Information |
| Connector Part Information |
| ||||||||||
Pin | Wire Color | Function | Pin | Wire Color | Function | ||||||||
1 | YE | Deceleration Sensor Signal | 1 | YE | Deceleration Sensor Signal | ||||||||
2 | YE/RD | Deceleration Sensor Signal | 2 | YE/RD | Deceleration Sensor Signal | ||||||||
3 | WH/BK | Cruise Control Servo Ground | 3 | WH/BK | Cruise Control Servo Ground | ||||||||
4 | RD/GN | Cruise Control Accel Signal | 4 | RD/GN | Cruise Control Accel Signal | ||||||||
5 | RD/WH | Cruise Control Release Switch Supply Voltage | 5 | RD/WH | Cruise Control Release Switch Supply Voltage | ||||||||
6 | L-GN/BK | Fan 1 Relay PCM Control | 6 | L-GN/BK | Fan 1 Relay PCM Control | ||||||||
7 | L-GN | Fan 2 Relay PCM Control | 7 | L-GN | Fan 2 Relay PCM Control | ||||||||
8 | GN/WH | Flasher Relay Supply Voltage | 8 | GN/WH | Flasher Relay Supply Voltage | ||||||||
9 | RD/YE | Fog Lamp Switch Relay Control | 9 | RD/YE | Fog Lamp Switch Relay Control | ||||||||
10 | BK | Ignition Positive Voltage | 10 | BK | Ignition Positive Voltage | ||||||||
11 | YE/BK | Accelerometer Signal | 11 | YE/BK | Accelerometer Signal | ||||||||
12 | RD/BU | Cruise Control Coast Signal | 12 | RD/BU | Cruise Control Coast Signal | ||||||||
13 | GN/OG | Magnetic Clutch Control - Cruise Control | 13 | GN/OG | Magnetic Clutch Control - Cruise Control | ||||||||
14 | BU | Ignition Positive Voltage - Cruise Control Release Switch | 14 | BU | Ignition Positive Voltage - Cruise Control Release Switch | ||||||||
15 | RD/WH | Brake Indicator Control | 15 | RD/WH | Brake Indicator Control | ||||||||
16 | RD | Brake Indicator Control | 16 | RD | Brake Indicator Control | ||||||||
17 | RD/WH | Brake Fluid Level Switch Signal | 17 | RD/WH | Brake Fluid Level Switch Signal | ||||||||
18 | GN/YE | Horn Relay Control | 18 | GN/YE | Horn Relay Control | ||||||||
|
| ||||||||||||
|---|---|---|---|---|---|---|---|---|---|---|---|---|---|
Connector Part Information |
| Connector Part Information |
| ||||||||||
Pin | Wire Color | Function | Pin | Wire Color | Function | ||||||||
1 | -- | Not Used | 1 | -- | Not Used | ||||||||
2 | RD/WH | High Beam Indicator Control | 2 | RD/WH | High Beam Indicator Control | ||||||||
3 | BK | Ambient Air Temperature Sensor Signal | 3 | BK | Ambient Air Temperature Sensor Signal | ||||||||
4 | BU/RD | Serial Data | 4 | BU/RD | Serial Data | ||||||||
5 | WH/RD | ABS Indicator Control | 5 | WH/RD | ABS Indicator Control | ||||||||
6 | RD | Ignition Positive Voltage - High Beam Indicator | 6 | RD | Ignition Positive Voltage - High Beam Indicator | ||||||||
7 | YE/BK | A/C Compressor Clutch Relay Control | 7 | YE/BK | A/C Compressor Clutch Relay Control | ||||||||
8-9 | -- | Not Used | 8-9 | -- | Not Used | ||||||||
10 | BK/BU | Ambient Air Temperature Sensor Signal | 10 | BK/BU | Ambient Air Temperature Sensor Signal | ||||||||
11 | GY | Serial Data | 11 | GY | Serial Data | ||||||||
12 | PK/BK | Serial Data | 12 | PK/BK | Serial Data | ||||||||
13 | BU/WH | Low Washer Fluid Level Indicator Signal | 13 | BU/WH | Low Washer Fluid Level Indicator Signal | ||||||||
14 | WH/GN | Vehicle Speed Input | 14 | WH/GN | Vehicle Speed Input | ||||||||
|
| ||||||||||||
|---|---|---|---|---|---|---|---|---|---|---|---|---|---|
Connector Part Information |
| Connector Part Information |
| ||||||||||
Pin | Wire Color | Function | Pin | Wire Color | Function | ||||||||
1 | BK | Left Rear Speed Sensor High | 1 | BK | Left Rear Speed Sensor High | ||||||||
2 | YE | Left Rear Speed Sensor Low | 2 | YE | Left Rear Speed Sensor Low | ||||||||
3 | RD | Right Rear Speed Sensor High | 3 | RD | Right Rear Speed Sensor High | ||||||||
4 | WH | Right Rear Speed Sensor Low | 4 | WH | Right Rear Speed Sensor Low | ||||||||
| |||||||||||||
|---|---|---|---|---|---|---|---|---|---|---|---|---|---|
Connector Part Information |
| Connector Part Information |
| ||||||||||
Pin | Wire Color | Function | Pin | Wire Color | Function | ||||||||
1 | -- | Not Used | 1 | -- | Not Used | ||||||||
2 | BK | Positive Signal - Speaker RF Door | 2 | BK | Positive Signal - Speaker RF Door | ||||||||
3 | RD/BU | Left Rear Window Master Switch Up Supply Voltage | 3 | RD/BU | Left Rear Window Master Switch Up Supply Voltage | ||||||||
4 | BU | Left Rear Window Master Switch Down Supply Voltage | 4 | BU | Left Rear Window Master Switch Down Supply Voltage | ||||||||
5 | -- | Not Used | 5 | -- | Not Used | ||||||||
6 | YE | Left Rear Speaker Ground | 6 | YE | Left Rear Speaker Ground | ||||||||
7 | -- | Not Used | 7 | -- | Not Used | ||||||||
8 | BK | Rear Defogger Supply Voltage | 8 | BK | Rear Defogger Supply Voltage | ||||||||
9 | RD/WH | Ignition Positive Voltage - Rear Wiper Diode | 9 | RD/WH | Ignition Positive Voltage - Rear Wiper Diode | ||||||||
10 | BU | Ignition Positive Voltage | 10 | BU | Ignition Positive Voltage | ||||||||
|
| ||||||||||||
|---|---|---|---|---|---|---|---|---|---|---|---|---|---|
Connector Part Information |
| Connector Part Information |
| ||||||||||
Pin | Wire Color | Function | Pin | Wire Color | Function | ||||||||
1 | BK/WH | Blower Motor High Voltage | 1 | BK/WH | Blower Motor High Voltage | ||||||||
2 | BU/WH | Blower Motor Medium 2 Voltage | 2 | L-BU | Blower Motor Medium 2 Voltage | ||||||||
3 | BN | Evaporator Temperature Sensor Ground | 3 | BN | Evaporator Temperature Sensor Ground | ||||||||
4 | BK/BU | Evaporator Temperature Sensor Input | 4 | BK/BU | Evaporator Temperature Sensor Input | ||||||||
5 | WH/BK | Blower Motor Resistor Ground | 5 | WH/BK | Blower Motor Resistor Ground | ||||||||
6 | RD | Blower Motor Medium 1 Voltage | 6 | RD | Blower Motor Medium 1 Voltage | ||||||||
| |||||||||||||
|---|---|---|---|---|---|---|---|---|---|---|---|---|---|
Connector Part Information |
| Connector Part Information |
| ||||||||||
Pin | Wire Color | Function | Pin | Wire Color | Function | ||||||||
1 | WH/BK | Data Link Connector Ground | 1 | WH/BK | Data Link Connector Ground | ||||||||
2 | L-GN/BK | Park Neutral Position Switch Low Position Signal to PCM | 2 | L-GN/BK | Park Neutral Position Switch Low Position Signal to PCM | ||||||||
3 | BK/WH | Shift Solenoid S2 Signal | 3 | BK/WH | Shift Solenoid S2 Signal | ||||||||
4 | BU | Park Neutral Position Switch Drive Position Signal to PCM | 4 | BU | Park Neutral Position Switch Drive Position Signal to PCM | ||||||||
5 | L-GN | Park Neutral Position Switch 2nd Position Signal to PCM | 5 | L-GN | Park Neutral Position Switch 2nd Position Signal to PCM | ||||||||
6 | BK | Battery Positive Voltage | 6 | BK | Battery Positive Voltage | ||||||||
7 | BK | Starter Supply Voltage | 7 | BK | Starter Supply Voltage | ||||||||
8 | BK/WH | Ignition On Voltage - Fuel Injector Supply Voltage | 8 | BK/WH | Ignition On Voltage - Fuel Injector Supply Voltage | ||||||||
9 | BK/RD | Battery Positive Voltage | 9 | BK | Battery Positive Voltage | ||||||||
10 | -- | Not Used | 10 | -- | Not Used | ||||||||
| |||||||||||||
|---|---|---|---|---|---|---|---|---|---|---|---|---|---|
Connector Part Information |
| Connector Part Information |
| ||||||||||
Pin | Wire Color | Function | Pin | Wire Color | Function | ||||||||
1-6 | -- | Not Used | 1-6 | -- | Not Used | ||||||||
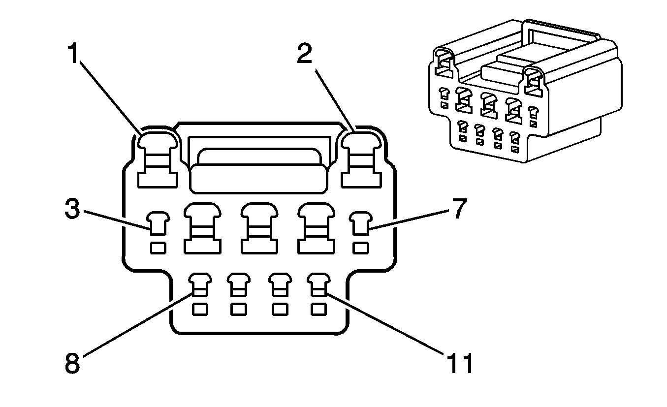
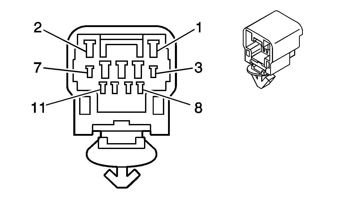
7 | BK/WH | EFI Relay Control | 7 | BK/WH | EFI Relay Control | ||||||||
8 | BU/WH | Auxiliary Intake Air Solenoid Valve Control | 8 | BU/WH | Auxiliary Intake Air Solenoid Valve Control | ||||||||
9 | PK | Heated Oxygen Sensor Heater Control | 9 | PK | Heated Oxygen Sensor Heater Control | ||||||||
10-11 | -- | Not Used | 10-11 | -- | Not Used | ||||||||
|
| ||||||||||||
|---|---|---|---|---|---|---|---|---|---|---|---|---|---|
Connector Part Information |
| Connector Part Information |
| ||||||||||
Pin | Wire Color | Function | Pin | Wire Color | Function | ||||||||
1 | BN | Sensor Ground | 1 | BN | Sensor Ground | ||||||||
2 | YE | Generator Charge Indicator Signal | 2 | YE
| Generator Charge Indicator Signal | ||||||||
3 | WH | Ground - Oil Pressure Indicator | 3 | WH | Ground - Oil Pressure Indicator | ||||||||
4 | WH/GN | Speedometer - Vehicle Speed Input | 4 | WH/GN | Speedometer - Vehicle Speed Input | ||||||||
5 | BN | Ground - Instrument Panel Cluster | 5 | BN | Ground - Instrument Panel Cluster | ||||||||
6 | PK/BK | Drain | 6 | PK/BK | Drain | ||||||||
7 | BN | Sensor Ground | 7 | BN | Sensor Ground | ||||||||
8 | BN | Ground - Heated Oxygen Sensor 2 | 8 | BN | Ground - Heated Oxygen Sensor 2 | ||||||||
9 | GY | Drain | 9 | GY | Drain | ||||||||
10 | BN | Ground - PCM | 10 | BN | Ground - PCM | ||||||||
11 | BK | Crank Signal - PCM | 11 | BK | Crank Signal - PCM | ||||||||
12 | RD | Ignition ON Voltage - Park/Neutral Position Switch | 12 | RD | Ignition ON Voltage - Park/Neutral Position Switch | ||||||||
13 | RD/BK | Park Neutral Position Switch Reverse Lamp Supply Voltage and Signal Input | 13 | RD/BK | Park Neutral Position Switch Reverse Lamp Supply Voltage and Signal Input | ||||||||
14 | RD/WH | Ignition ON Voltage | 14 | RD/WH | Ignition ON Voltage | ||||||||
15 | BN | Heated Oxygen Sensor 1 Input-Low | 15 | BN | Heated Oxygen Sensor 1 Input-Low | ||||||||
16 | YE | 5-Volt Reference Signal | 16 | YE | 5-Volt Reference Signal | ||||||||
17 | BU (AWD) RD (FWD) | EVAP Canister Vent Solenoid Valve Control | 17 | BU (AWD) RD(FWD) | EVAP Canister Vent Solenoid Valve Control | ||||||||
18 | WH | Heated Oxygen Sensor 2 Heater Control | 18 | WH | Heated Oxygen Sensor 2 Heater Control | ||||||||
|
| ||||||||||||
|---|---|---|---|---|---|---|---|---|---|---|---|---|---|
Connector Part Information |
| Connector Part Information |
| ||||||||||
Pin | Wire Color | Function | Pin | Wire Color | Function | ||||||||
1 | GN/YE | Ambient Light Control Sensor Battery Voltage | 1 | GN/YE | Ambient Light Control Sensor Battery Voltage | ||||||||
2 | GN/RD | Ambient Light Control Sensor Ground | 2 | GN/WH | Ambient Light Control Sensor Ground | ||||||||
3 | GN/OG | Ambient Light Control Sensor Signal | 3 | GN/BK | Ambient Light Control Sensor Signal | ||||||||
| |||||||||||||
|---|---|---|---|---|---|---|---|---|---|---|---|---|---|
Connector Part Information |
| Connector Part Information |
| ||||||||||
Pin | Wire Color | Function | Pin | Wire Color | Function | ||||||||
1-2 | -- | Not Used | 1-2 | -- | Not Used | ||||||||
3 | PU | Left Rear Speaker Ground | 3 | PU | Left Rear Speaker Ground | ||||||||
4 | PK | Left Rear Speaker Positive | 4 | PK | Left Rear Speaker Positive | ||||||||
5-7 | -- | Not Used | 5-7 | -- | Not Used | ||||||||
8 | L-GN | Left Rearview Mirror Up/Down Signal | 8 | L-GN | Left Rearview Mirror Up/Down Signal | ||||||||
9 | BN/WH | Left Rearview Mirror Up/Down Signal | 9 | BN/WH | Left Rearview Mirror Up/Down Signal | ||||||||
10 | BU | Left Rearview Mirror Right/Left Signal | 10 | BU | Left Rearview Mirror Right/Left Signal | ||||||||
| |||||||||||||
|---|---|---|---|---|---|---|---|---|---|---|---|---|---|
Connector Part Information |
| Connector Part Information |
| ||||||||||
Pin | Wire Color | Function | Pin | Wire Color | Function | ||||||||
1 | BK | Left Front Power Window Switch Supply Voltage | 1 | BK | Left Front Power Window Switch Supply Voltage | ||||||||
2 | -- | Not Used | 2 | -- | Not Used | ||||||||
3 | WH | LH Front Key Switch Unlock Detection Signal | 3 | WH | LH Front Key Switch Unlock Detection Signal | ||||||||
4 | BU | Left Front Door Lock Switch Unlock Signal | 4 | BU | Left Front Door Lock Switch Unlock Signal | ||||||||
5 | BU/WH | Left Front Door Lock Switch Lock Signal | 5 | BU/WH | Left Front Door Lock Switch Lock Signal | ||||||||
6 | WH/BK | Key Cylinder Switch Ground | 6 | WH/BK | Key Cylinder Switch Ground | ||||||||
7 | -- | Not Used | 7 | -- | Not Used | ||||||||
8 | RD | Left Front Door Lock Actuator Unlock Signal | 8 | RD | Left Front Door Lock Actuator Unlock Signal | ||||||||
9 | BU | Left Front Door Lock Actuator Lock Signal | 9 | BU | Left Front Door Lock Actuator Lock Signal | ||||||||
10 | BU/YE | Left Front Door Lock Actuator Unlock Signal | 10 | BU/YE | Left Front Door Lock Actuator Unlock Signal | ||||||||
11 | GN | Left Front Door Lock Actuator Lock Signal | 11 | GN | Left Front Door Lock Actuator Lock Signal | ||||||||
12 | -- | Not Used | 12 | -- | Not Used | ||||||||
| |||||||||||||
|---|---|---|---|---|---|---|---|---|---|---|---|---|---|
Connector Part Information |
| Connector Part Information |
| ||||||||||
Pin | Wire Color | Function | Pin | Wire Color | Function | ||||||||
1 | BK/RD | Right Front Window Switch UP Signal | 1 | GN/RD | Right Front Window Switch UP Signal | ||||||||
2 | BK | Ignition Positive Voltage - Master Power Window Switch | 2 | BK | Ignition Positive Voltage - Master Power Window Switch | ||||||||
3 | RD | Right Rear Window Switch Down Signal | 3 | BU/RD | Right Rear Window Switch Down Signal | ||||||||
4 | RD/BK | Right Rear Window Switch Up Signal | 4 | RD/BK | Right Rear Window Switch Up Signal | ||||||||
5 | BU | Left Rear Window Switch Down Signal | 5 | BU | Left Rear Window Switch Down Signal | ||||||||
6 | RD/BU | Left Rear Window Switch Up Signal | 6 | RD/GN | Left Rear Window Switch Up Signal | ||||||||
7 | BK/WH | Right Front Window Switch Down Signal | 7 | BU/WH | Right Front Window Switch Down Signal | ||||||||
| |||||||||||||
|---|---|---|---|---|---|---|---|---|---|---|---|---|---|
Connector Part Information |
| Connector Part Information |
| ||||||||||
Pin | Wire Color | Function | Pin | Wire Color | Function | ||||||||
1 | WH/BK | Right Front Door Lock Actuator Key Cylinder Switch Ground | 1 | WH/BK | Right Front Door Lock Actuator Key Cylinder Switch Ground | ||||||||
2 | -- | Not Used | 2 | -- | Not Used | ||||||||
3 | WH/RD | Right Front Door Lock Actuator Unlock Detection Signal - Multifunction Alarm | 3 | WH/RD | Right Front Door Lock Actuator Unlock Detection Signal - Multifunction Alarm | ||||||||
4 | GN/RD | Right Front Window Switch Up Voltage | 4 | GN/RD | Right Front Window Switch Up Voltage | ||||||||
5 | BU/WH | Right Front Window Switch Down Voltage | 5 | BU/WH | Right Front Window Switch Down Voltage | ||||||||
6 | BK | Right Front Power Window Switch Supply Voltage | 6 | BK | Right Front Power Window Switch Supply Voltage | ||||||||
7 | BU/WH | Right Front Door Lock Switch Lock Signal | 7 | BU/WH | Right Front Door Lock Switch Lock Signal | ||||||||
8 | RD | Right Front Door Lock Actuator Unlock Signal - Multifunction Alarm | 8 | RD | Right Front Door Lock Actuator Unlock Signal - Multifunction Alarm | ||||||||
9 | BU | Right Front Door Lock Actuator Lock Signal - Multifunction Alarm | 9 | BU | Right Front Door Lock Actuator Lock Signal - Multifunction Alarm | ||||||||
10 | BU/BK | Right Front Door Lock Actuator Unlock Signal - Key Switch | 10 | BU/BK | Right Front Door Lock Actuator Unlock Signal - Key Switch | ||||||||
11 | GN | Right Front Door Lock Actuator Lock Signal - Key Switch | 11 | GN | Right Front Door Lock Actuator Lock Signal - Key Switch | ||||||||
12 | BU | Right Front Door Lock Switch Unlock Signal - Multifunction Alarm Module | 12 | BU | Right Front Door Lock Switch Unlock Signal - Multifunction Alarm Module | ||||||||
| |||||||||||||
|---|---|---|---|---|---|---|---|---|---|---|---|---|---|
Connector Part Information |
| Connector Part Information |
| ||||||||||
Pin | Wire Color | Function | Pin | Wire Color | Function | ||||||||
1-2 | -- | Not Used | 1-2 | -- | Not Used | ||||||||
3 | BU | Right Front Speaker Ground | 3 | BU | Right Front Speaker Ground | ||||||||
4 | L-GN | Right Front Speaker Positive | 4 | L-GN | Right Front Speaker Positive | ||||||||
5-7 | -- | Not Used | 5-7 | -- | Not Used | ||||||||
8 | RD/WH | Right Rearview Mirror Up/Down Signal | 8 | RD/WH | Right Rearview Mirror Up/Down Signal | ||||||||
9 | BN/WH | Right Rearview Mirror Up/Down Signal | 9 | BN/WH | Right Rearview Mirror Up/Down Signal | ||||||||
10 | RD | Right Rearview Mirror Up/Down Signal | 10 | RD | Right Rearview Mirror Up/Down Signal | ||||||||
|
| ||||||||||||
|---|---|---|---|---|---|---|---|---|---|---|---|---|---|
Connector Part Information |
| Connector Part Information |
| ||||||||||
Pin | Wire Color | Function | Pin | Wire Color | Function | ||||||||
1 | WH/BK | Ground | 1 | BK | Ground | ||||||||
2 | GN | Driver Seat Belt Switch Signal | 2 | BK/GN | Driver Seat Belt Switch Signal | ||||||||
3 | GN/YE | Seat Belt Indicator Control | 3 | BK/RD | Seat Belt Indicator Control | ||||||||
4 | GN/WH | Driver Seat Position High | 4 | YE | Driver Seat Position High | ||||||||
5 | RD/BK | Driver Seat Position Low | 5 | BU | Driver Seat Position Low | ||||||||
6 | -- | Not Used | 6 | -- | Not Used | ||||||||
|
| ||||||||||||
|---|---|---|---|---|---|---|---|---|---|---|---|---|---|
Connector Part Information |
| Connector Part Information |
| ||||||||||
Pin | Wire Color | Function | Pin | Wire Color | Function | ||||||||
A | WH/BK | Ground | A | BK | Ground | ||||||||
B | BK | Passenger Buckle Signal Circuit | B | BK | Passenger Buckle Signal Circuit | ||||||||
C | BU/WH | Passenger Seat Occupant Detection Signal | C | BK | Passenger Seat Belt warning Lamp Control Circuit | ||||||||
D | BK | Passenger Buckle Signal Circuit | D | BK | Passenger Buckle Signal Circuit | ||||||||
|
| ||||||||||||
|---|---|---|---|---|---|---|---|---|---|---|---|---|---|
Connector Part Information |
| Connector Part Information |
| ||||||||||
Pin | Wire Color | Function | Pin | Wire Color | Function | ||||||||
1 | BN | Fuel Tank Pressure Sensor Ground | 1 | BN | Fuel Tank Pressure Sensor Ground | ||||||||
2 | BU | Fuel Tank Pressure Sensor Input | 2 | BU | Fuel Tank Pressure Sensor Input | ||||||||
3 | WH | Rear Glass Hatch Actuator Supply Voltage | 3 | WH | Rear Glass Hatch Actuator Supply Voltage | ||||||||
4 | PK | Rear Wiper Off Position Signal | 4 | PK | Rear Wiper Off Position Signal | ||||||||
5 | YE | Fuel Sender Assembly Fuel Gauge Signal | 5 | YE | Fuel Sender Assembly Fuel Gauge Signal | ||||||||
6 | YE | Fuel Tank Pressure Sensor 5-Volt Reference Voltage | 6 | YE | Fuel Tank Pressure Sensor 5-Volt Reference Voltage | ||||||||
7 | BK | EVAP Pressure Switching Solenoid Supply Voltage | 7 | BK | EVAP Pressure Switching Solenoid Supply Voltage | ||||||||
8 | RD | EVAP Control - PCM | 8 | RD | EVAP Control - PCM | ||||||||
9-11 | -- | Not Used | 9-11 | -- | Not Used | ||||||||
12 | WH | Rear Wiper ON Voltage | 12 | WH | Rear Wiper ON Voltage | ||||||||
13 | BN | Low Fuel Indicator Signal | 13 | BN | Low Fuel Indicator Signal | ||||||||
|
| ||||||||||||
|---|---|---|---|---|---|---|---|---|---|---|---|---|---|
Connector Part Information |
| Connector Part Information |
| ||||||||||
Pin | Wire Color | Function | Pin | Wire Color | Function | ||||||||
1 | BU/YE | Center Console Power Outlet | 1 | BU/YE | Center Console Power Outlet | ||||||||
2 | WH/BK | Center Console Power Outlet Ground | 2 | WH/BK | Center Console Power Outlet Ground | ||||||||
| |||||||||||||
|---|---|---|---|---|---|---|---|---|---|---|---|---|---|
Connector Part Information |
| Connector Part Information |
| ||||||||||
Pin | Wire Color | Function | Pin | Wire Color | Function | ||||||||
1 | -- | Not Used | 1 | -- | Not Used | ||||||||
2 | RD/BK | Battery Voltage | 2 | RD/BK | Battery Voltage | ||||||||
3 | RD/WH | Ignition Voltage | 3 | RD/WH | Ignition Voltage | ||||||||
4 | BU/RD | DLC Signal | 4 | BU/RD | DLC Signal | ||||||||
5 | -- | Not Used | 5 | -- | Not Used | ||||||||
6 | -- | Not Used | 6 | -- | Not Used | ||||||||
7 | BN | Ground | 7 | BN | Ground | ||||||||
8 | GN/YE | Driver Seat Belt Switch Signal | 8 | GN/YE | Driver Seat Belt Switch Signal | ||||||||
9 | WH/BK | Driver Seat Belt Switch Ground | 9 | WH/BK | Driver Seat Belt Switch Ground | ||||||||
10 | -- | Not Used | 10 | -- | Not Used | ||||||||
|
| ||||||||||||
|---|---|---|---|---|---|---|---|---|---|---|---|---|---|
Connector Part Information |
| Connector Part Information |
| ||||||||||
Pin | Wire Color | Function | Pin | Wire Color | Function | ||||||||
1 | GN/YE | Driver Seat Belt Indicator Signal | 1 | GN/YE | Driver Seat Belt Indicator Signal | ||||||||
2 | PU | Vehicle Stability Control Indicator | 2 | PU | Vehicle Stability Control Indicator | ||||||||
3 | -- | Not Used | 3 | -- | Not Used | ||||||||
4 | RD/YE | Power Train Module EFI Signal | 4 | RD/YE | Power Train Module EFI Signal | ||||||||
5 | BK/WH | Power Train Module EFI Signal - Positive | 5 | BK/WH | Power Train Module EFI Signal - Positive | ||||||||
6 | RD/WH | RH Front Wheel Speed Sensor Signal Low | 6 | RD/WH | RH Front Wheel Speed Sensor Signal Low | ||||||||
7 | -- | Not Used | 7 | -- | Not Used | ||||||||
8 | BK/RD | Throttle Actuator Control (TAC) System Ignition Voltage | 8 | BK/RD | Throttle Actuator Control (TAC) System Ignition Voltage | ||||||||
9 | YE | Accelerator Pedal Position (APP) Sensor 2 Low Reference | 9 | YE | Accelerator Pedal Position (APP) Sensor 2 Low Reference | ||||||||
10 | WH | Accelerator Pedal Position (APP) Sensor 2 Signal | 10 | WH | Accelerator Pedal Position (APP) Sensor 2 Signal | ||||||||
11 | YE | Accelerator Pedal Position (APP) Sensor 1 Low Reference | 11 | YE | Accelerator Pedal Position (APP) Sensor 1 Low Reference | ||||||||
12 | -- | Not Used | 12 | -- | Not Used | ||||||||
13 | WH | Slip Indicator Control | 13 | WH | Slip Indicator Control | ||||||||
14 | PK | Brake Pressure Modulator Valve 5-Volt Reference | 14 | PK | Brake Pressure Modulator Valve 5-Volt Reference | ||||||||
15 | -- | Not Used | 15 | -- | Not Used | ||||||||
16 | BU | Engine Control Ground Signal | 16 | BU | Engine Control Ground Signal | ||||||||
17 | WH | PCM Traction Control Ground Signal | 17 | WH | PCM Traction Control Ground Signal | ||||||||
18 | -- | Not Used | 18 | -- | Not Used | ||||||||
19 | GN/OG | Cruise Control Interrupt Circuit | 19 | GN/OG | Cruise Control Interrupt Circuit | ||||||||
20 | BK | Accelerator Pedal Position (APP) Sensor 2 Reference Voltage | 20 | BK | Accelerator Pedal Position (APP) Sensor 2 Reference Voltage | ||||||||
21 | GN | Accelerator Pedal Position (APP) Sensor 1 Signal | 21 | GN | Accelerator Pedal Position (APP) Sensor 1 Signal | ||||||||
22 | BK | Accelerator Pedal Position (APP) Sensor 1 Reference Voltage | 22 | BK | Accelerator Pedal Position (APP) Sensor 1 Reference Voltage | ||||||||
| |||||||||||||
|---|---|---|---|---|---|---|---|---|---|---|---|---|---|
Connector Part Information |
| Connector Part Information |
| ||||||||||
Pin | Wire Color | Function | Pin | Wire Color | Function | ||||||||
1 | BU/RD | Radio Amplifier Battery Positive Voltage | 1 | BU/RD | Radio Amplifier Battery Positive Voltage | ||||||||
2 | WH/BK | Radio Amplifier Battery Positive Ground | 2 | WH/BK | Radio Amplifier Battery Positive Ground | ||||||||
3 | L-GN | Front Right Speaker Positive | 3 | L-GN | Front Right Speaker Positive | ||||||||
4 | BU | Front Right Speaker Negative | 4 | BU | Front Right Speaker Negative | ||||||||
5 | GN/WH | Front Right Tweeter Positive | 5 | GN/WH | Front Right Tweeter Positive | ||||||||
6 | BN | Front Right Tweeter Negative | 6 | BN | Front Right Tweeter Negative | ||||||||
7 | -- | Not Used | 7 | -- | Not Used | ||||||||
| |||||||||||||
|---|---|---|---|---|---|---|---|---|---|---|---|---|---|
Connector Part Information |
| Connector Part Information |
| ||||||||||
Pin | Wire Color | Function | Pin | Wire Color | Function | ||||||||
1 | BU | Tailgate Door Lock Actuator Lock Signal | 1 | BU | Tailgate Door Lock Actuator Lock Signal | ||||||||
2 | WH | Rear Glass Hatch Supply Voltage | 2 | WH | Rear Glass Hatch Supply Voltage | ||||||||
3 | PK | Rear Wiper Park Position Supply Voltage | 3 | PK | Rear Wiper Park Position Supply Voltage | ||||||||
4 | BU | Rear Wiper Motor Supply Voltage | 4 | BU | Rear Wiper Motor Supply Voltage | ||||||||
5 | -- | Not Used | 5 | -- | Not Used | ||||||||
6 | RD | Tailgate Door Lock Actuator Unlock Signal | 6 | RD | Tailgate Door Lock Actuator Unlock Signal | ||||||||
7 | -- | Not Used | 7 | -- | Not Used | ||||||||
8 | WH | Rear Wiper ON Position Supply Voltage | 8 | WH | Rear Wiper ON Position Supply Voltage | ||||||||
9 | GN/WH | Center High Mounted Stop Lamp Supply Voltage | 9 | GN/WH | Center High Mounted Stop Lamp Supply Voltage | ||||||||
10 | WH/BK | Center High Mounted Stop Lamp Ground | 10 | WH/BK | Center High Mounted Stop Lamp Ground | ||||||||
|
| ||||||||||||
|---|---|---|---|---|---|---|---|---|---|---|---|---|---|
Connector Part Information |
| Connector Part Information |
| ||||||||||
Pin | Wire Color | Function | Pin | Wire Color | Function | ||||||||
1 | BK | Rear Defogger Supply Voltage | 1 | BK | Rear Defogger Supply Voltage | ||||||||
2 | WH/BK | Glass Hatch Courtesy Switch Ground | 2 | WH/BK | Glass Hatch Courtesy Switch Ground | ||||||||
3 | RD/WH | Rear Wiper Relay 1 Ground | 3 | RD/WH | Rear Wiper Relay 1 Ground | ||||||||
4 | RD | Courtesy Lamps - Tailgate Signal | 4 | RD | Courtesy Lamps - Tailgate Signal | ||||||||
5 | GN | Rear License Plate Lamp Supply Voltage | 5 | GN | Rear License Plate Lamp Supply Voltage | ||||||||
| |||||||||||||
|---|---|---|---|---|---|---|---|---|---|---|---|---|---|
Connector Part Information |
| Connector Part Information |
| ||||||||||
Pin | Wire Color | Function | Pin | Wire Color | Function | ||||||||
1 | -- | Not Used | 1 | -- | Not Used | ||||||||
2 | BK | Right Rear Window Switch Supply Voltage | 2 | BK | Right Rear Window Switch Supply Voltage | ||||||||
3 | BU | Right Rear Door Lock Actuator Lock Signal | 3 | BU | Right Rear Door Lock Actuator Lock Signal | ||||||||
4 | RD/BK | Right Rear Window Switch Up Voltage | 4 | RD/BK | Right Rear Window Switch Up Voltage | ||||||||
5 | BU/RD | Right Rear Window Switch Down Voltage | 5 | BU/RD | Right Rear Window Switch Down Voltage | ||||||||
6 | WH | Right Rear Door Speaker Ground | 6 | WH | Right Rear Door Speaker Ground | ||||||||
7 | RD | Right Rear Door Speaker Positive | 7 | RD | Right Rear Door Speaker Positive | ||||||||
8 | RD | Right Rear Door Lock Actuator Unlock Signal | 8 | RD | Right Rear Door Lock Actuator Unlock Signal | ||||||||
| |||||||||||||
|---|---|---|---|---|---|---|---|---|---|---|---|---|---|
Connector Part Information |
| Connector Part Information |
| ||||||||||
Pin | Wire Color | Function | Pin | Wire Color | Function | ||||||||
1 | -- | Not Used | 1 | -- | Not Used | ||||||||
2 | BK | Left Rear Window Switch Supply Voltage | 2 | BK | Left Rear Window Switch Supply Voltage | ||||||||
3 | BU | Left Rear Door Lock Actuator Lock Signal | 3 | BU | Left Rear Door Lock Actuator Lock Signal | ||||||||
4 | RD/BK | Left Rear Window Switch Up Voltage | 4 | RD/BK | Left Rear Window Switch Up Voltage | ||||||||
5 | BU/RD | Left Rear Window Switch Down Voltage | 5 | BU/RD | Left Rear Window Switch Down Voltage | ||||||||
6 | WH | Left Rear Door Speaker Ground | 6 | WH | Left Rear Door Speaker Ground | ||||||||
7 | RD | Left Rear Door Speaker Positive | 7 | RD | Left Rear Door Speaker Positive | ||||||||
8 | RD | Left Rear Door Lock Actuator Unlock Signal | 8 | RD | Left Rear Door Lock Actuator Unlock Signal | ||||||||
|
| ||||||||||||
|---|---|---|---|---|---|---|---|---|---|---|---|---|---|
Connector Part Information |
| Connector Part Information |
| ||||||||||
Pin | Wire Color | Function | Pin | Wire Color | Function | ||||||||
1 | RD/BK | Left Rear Backup Lamp Supply Voltage | 1 | RD/BK | Left Rear Backup Lamp Supply Voltage | ||||||||
2-3 | -- | Not Used | 2-3 | -- | Not Used | ||||||||
4 | WH/BK | Left Rear Backup Lamp Ground | 4 | WH/BK | Left Rear Backup Lamp Ground | ||||||||
|
| ||||||||||||
|---|---|---|---|---|---|---|---|---|---|---|---|---|---|
Connector Part Information |
| Connector Part Information |
| ||||||||||
Pin | Wire Color | Function | Pin | Wire Color | Function | ||||||||
1 | RD/BK | Right Rear Backup Lamp Supply Voltage | 1 | RD/BK | Right Rear Backup Lamp Supply Voltage | ||||||||
2-3 | -- | Not Used | 2-3 | -- | Not Used | ||||||||
4 | WH/BK | Right Rear Backup Lamp Ground | 4 | WH/BK | Right Rear Backup Lamp Ground | ||||||||
|
| ||||||||||||
|---|---|---|---|---|---|---|---|---|---|---|---|---|---|
Connector Part Information |
| Connector Part Information |
| ||||||||||
Pin | Wire Color | Function | Pin | Wire Color | Function | ||||||||
1 | L-GN | Subwoofer Right Channel Ground | 1 | L-GN | Subwoofer Right Channel Ground | ||||||||
2 | BU/WH | Digital Radio Receiver Supply Voltage | 2 | BU/WH | Digital Radio Receiver Supply Voltage | ||||||||
3 | RD | Satellite Receiver Antenna Right Signal | 3 | RD | Satellite Receiver Antenna Right Signal | ||||||||
4 | BU | Subwoofer Right Channel Positive | 4 | BU | Subwoofer Right Channel Positive | ||||||||
5 | YE | Subwoofer Left Channel Positive | 5 | YE | Subwoofer Left Channel Positive | ||||||||
6 | BK | Subwoofer Left Channel Ground | 6 | BK | Subwoofer Left Channel Ground | ||||||||
7 | BN | Digital Radio Receiver Ground | 7 | BN | Digital Radio Receiver Ground | ||||||||
8 | WH | Satellite Receiver Antenna Left Signal | 8 | WH | Satellite Receiver Antenna Left Signal | ||||||||
9 | BK | Audio Common | 9 | BK | Audio Common | ||||||||
10 | BARE | Drain | 10 | BARE | Drain | ||||||||
11 | OG | Serial Data | 11 | OG | Serial Data | ||||||||
|
| ||||||||||||
|---|---|---|---|---|---|---|---|---|---|---|---|---|---|
Connector Part Information |
| Connector Part Information |
| ||||||||||
Pin | Wire Color | Function | Pin | Wire Color | Function | ||||||||
1 | BK | Rear Defogger Supply Voltage | 1 | BK | Rear Defogger Supply Voltage | ||||||||
2 | WH/BK | Rear Wiper Ground | 2 | WH/BK | Rear Wiper Ground | ||||||||
3 | BU | Rear Wiper Supply Voltage | 3 | BU | Rear Wiper Supply Voltage | ||||||||
4 | RD | Courtesy Lamp - Tailgate Signal | 4 | RD | Courtesy Lamp - Tailgate Signal | ||||||||
| |||||||||||||
|---|---|---|---|---|---|---|---|---|---|---|---|---|---|
Connector Part Information |
| Connector Part Information |
| ||||||||||
Pin | Wire Color | Function | Pin | Wire Color | Function | ||||||||
1 | BU | Tailgate Door Lock Actuator Lock Signal | 1 | BU | Tailgate Door Lock Actuator Lock Signal | ||||||||
2 | WH | Glass Hatch Supply Voltage | 2 | WH | Glass Hatch Supply Voltage | ||||||||
3 | GN | Rear License Plate Lamp Supply Voltage | 3 | GN | Rear License Plate Lamp Supply Voltage | ||||||||
4 | RD | Tailgate Door Unlock Actuator Lock Signal | 4 | RD | Tailgate Door Unlock Actuator Lock Signal | ||||||||
5 | -- | Not Used | 5 | -- | Not Used | ||||||||
6 | RD/WH | Rear Wiper 1 Relay Ground | 6 | RD/WH | Rear Wiper 1 Relay Ground | ||||||||
7 | WH | Rear Wiper ON Position Supply Voltage | 7 | WH | Rear Wiper ON Position Supply Voltage | ||||||||
8 | PK | Rear Wiper Park Position Signal | 8 | PK | Rear Wiper Park Position Signal | ||||||||