GM Service Manual Online
For 1990-2009 cars only

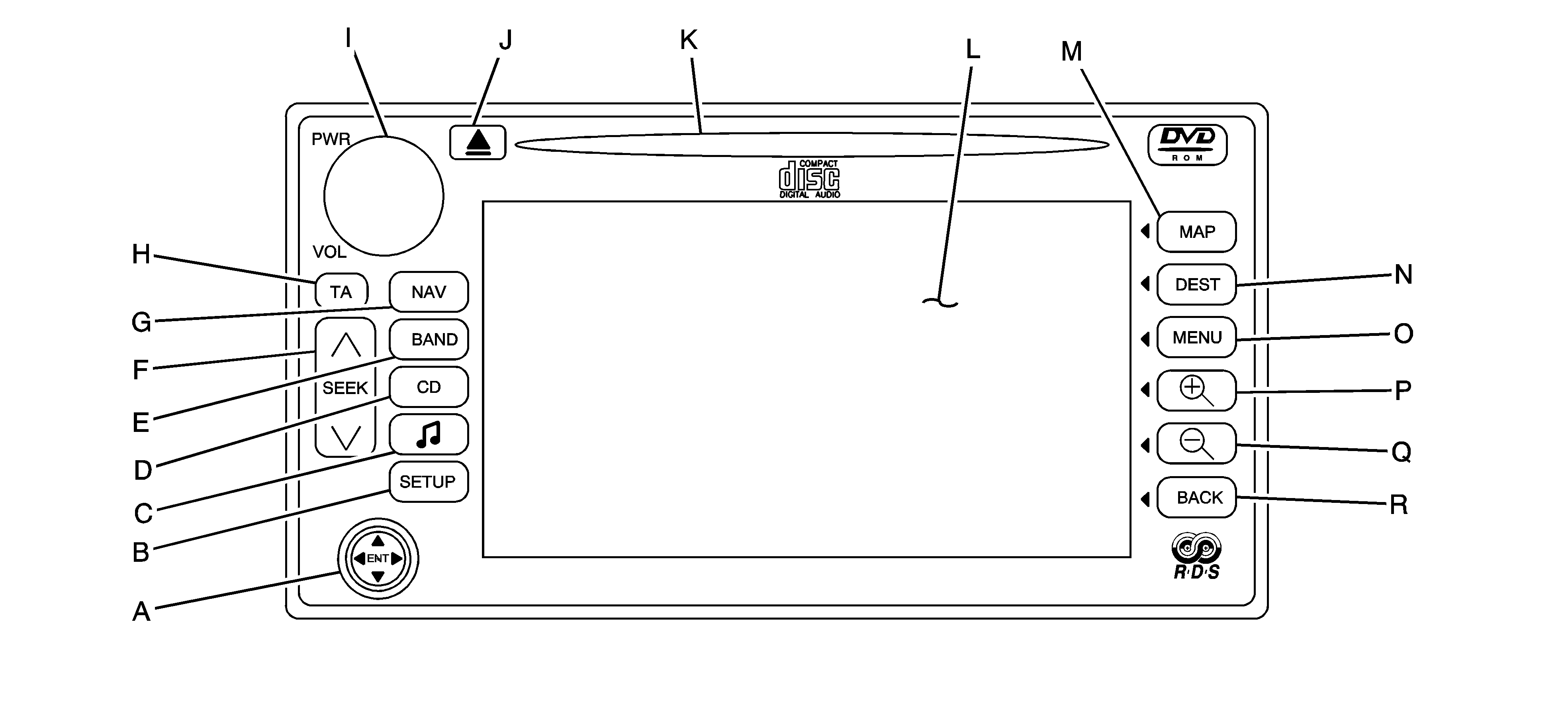
Object Number: 1401856  Size: C1
  1. Navigation Joystick. See Using the Navigation System .

  2. SETUP Key. See Setup Menu .

  3. Audio Key. See "Audio Screen" under Navigation Audio System .

  4. CD Key. See "Playing a CD" under Navigation Audio System .

  5. BAND Key. See "Playing the Radio" under Navigation Audio System .

  6. SEEK Key. See "Finding a Station" under Navigation Audio System .

  7. NAV Key. See "Hard Keys" under Using the Navigation System .

  8. TA Key. See "Radio Data Systems (RDS)" under Navigation Audio System .

  9. Power/Volume Knob. See "Hard Keys" under Using the Navigation System .

  10. DVD/CD Eject Key. See "Hard Keys" under Using the Navigation System .

  11. DVD/CD Loading Slot

  12. Navigation System Screen

  13. MAP Key. See "Hard Keys" under Using the Navigation System .

  14. DEST Key. See "Hard Keys" under Using the Navigation System .

  15. MENU Key. See "Hard Keys" under Using the Navigation System .

  16. Zoom In Key. See "Hard Keys" under Using the Navigation System .

  17. Zoom Out Key. See "Hard Keys" under Using the Navigation System .

  18. BACK Key. See "Hard Keys" under Using the Navigation System .