GM Service Manual Online
For 1990-2009 cars only

The fuel system is comprised of two subsystems. The fuel supply system and the fuel metering system. The correct amount of fuel can not be delivered to the engine cylinders without a constant supply of air from the air intake system. The air intake system provides measured clean air to each cylinder for proper mixture with the pressurized fuel. The powertrain control module (PCM), along with the information sensors and switches, controls the activity between all three systems.

Fuel System Components


Object Number: 1457625  Size: LF
(1)Fuel Rail
(2)Quick Connect Fuel Line Fittings
(3)Fuel Sender Assembly, includes fuel pump
(4)EVAP Canister
(5)Fuel Filler Door
(6)Fuel Filler Pipe
(7)Access Panel for Fuel Sender Assembly
(8)Fuel and EVAP Lines
(9)Fuel Tank
(10)Fuel Injectors

The fuel supply system is a returnless on-demand design, that reduces evaporative emissions. The fuel metering system is a sequential fuel injection (SFI) design. The function of the fuel metering system is deliver the correct amount of fuel to the engine under all operating conditions. The main component of the vehicle's fuel metering system is the fuel injectors. There is one fuel injector for each cylinder. The fuel injectors are controlled sequentially by the PCM. The PCM bases the control of the fuel injectors on several important engine parameters. These engine parameters include the following:

    • The mass air flow (MAF) sensor
    • The intake air temperature (IAT) sensor
    • The engine coolant temperature (ECT) sensor
    • The throttle position (TP) sensor
    • The engine speed (RPM)
    • The heated oxygen sensor (HO2S)

The engine is designed to use premium unleaded fuel. Unleaded fuel must be used for proper emission control system operation. Using unleaded fuel will also decrease spark plug fouling and extend engine oil life. Leaded fuel can damage the emission control system. The use of leaded fuel can result in the loss of emission warranty coverage.

The vehicle fuel system is equipped with an evaporative emission (EVAP) control system that minimizes the release of fuel vapors to the atmosphere. For more information on the EVAP system, refer to Evaporative Emission Control System Description .

Fuel Supply System


Object Number: 245480  Size: MF
(1)Fuel Pressure Gauge Adapter J 42982
(2)Fuel Feed Pipe
(3)Fuel Sender Assembly
(4)Fuel Tank
(5)Fuel Pressure Regulator
(6)Fuel Pump
(7)Fuel Sender (gauge)
(8)Fuel Filter
(9)Pinch Off Area
(10)Fuel Pressure Gauge J 34730-1A
(11)Fuel Injectors
(12)Fuel Rail

The supply of fuel is stored in the fuel tank. An electric fuel pump pressurizes the fuel through to the fuel filter and out to the fuel lines and the fuel rail. The electric fuel pump is suspended from the top of the fuel tank as part of the fuel sender assembly. The fuel pump is designed to provide fuel at a pressure above the regulated pressure needed by the fuel injectors. The fuel pressure regulator keeps the fuel supplied to the fuel injectors at the regulated pressure.

The fuel pressure regulator is located inside of the fuel tank and is part of the fuel sender assembly. Locating the fuel pressure regulator in the fuel tank eliminates the need for a return line from the fuel rail. A returnless system reduces the internal temperature of the fuel tank resulting in lower evaporative emissions.

The fuel system is also equipped with an enhanced evaporative emission system and an on-board refueling vapor recovery (ORVR) system. Together the 2 systems minimize the release of fuel vapors to the atmosphere.

Fuel Tank Assembly


Object Number: 1456204  Size: LF
(1)Fuel Supply Line
(2)Retaining Clip
(3)ORVR Vent Line
(4)Fuel Filler Cap
(5)Fuel Filler Pipe Assembly
(6)Fuel Filler Hose
(7)Fuel Filler Hose Protector
(8)Fuel Tank Straps
(9)Fuel Tank
(10)Fuel Sender Assembly Gasket
(11)Fuel Sender Assembly
(12)Fuel Tank Lock Ring

Fuel Tank

The fuel tank is a composite design with a storage capacity of 49 liters (13 gallons). The composite construction is made of several layers of materials. The outside and inside layers are a high desity polyethylene, with a center layer of recycled material and ethylene vinyl alcohol copolymer. The fuel tank is located behind the rear seat area. The tank is held in place with two straps that are secured with bolts. The shape of this tank was designed to allow for a constant supply of fuel around the fuel pump strainer during low fuel conditions and also during aggressive vehicle maneuvers. The fuel inlet port on the tank is equipped with an inlet valve. This fuel tank inlet valve prevents the fuel from spewing into the fuel filler neck during aggressive vehicle maneuvers or vehicle rollovers. The fuel tank is equipped with an on-board refueling vapor recovery (ORVR) system.

The fuel tank, pipes, and hoses should be checked for any road damage which could result in leakage. Also inspect the fuel filler cap for a correct seal and any indications of physical damage.

Fuel Tank Filler Neck

In order to prevent refueling with leaded fuel, the fuel filler neck has a built-in restrictor and deflector. The opening of the restrictor admits only the smaller unleaded fuel nozzle. The nozzle must be fully inserted to bypass the deflector. Any attempt at refueling with leaded fuel will result in fuel splashing out of the filler neck.

Fuel Filler Cap


Object Number: 426163  Size: SH

Notice: If a fuel tank filler pipe cap requires replacement, use only a fuel tank filler pipe cap with the same features. Failure to use the correct fuel tank filler pipe cap can result in a serious malfunction of the fuel system.

The fuel filler cap is an updated version of the screw thread design. This latest version of the screw on cap provides only one click with a firm stop, when the cap is correctly installed. Tightening the fuel cap until the one click is heard assures a sealed fuel system. The fuel cap is a pressure-vacuum type operation. To install the cap, turn the cap clockwise until the cap stops and the one click is heard. This indicates that the fuel filler cap gasket (1) is fully seated.

A vacuum relief valve is incorporated into the fuel filler cap. If the pressure in the fuel tank becomes negative (vacuum), the relief valve opens to relieve the pressure created within the fuel tank. Only when the vacuum becomes excessive within the tank does this occur. Vacuum pressure is also vented through the tank pressure control valve which is located on the top of the fuel tank.

A pressure relief valve is also located in the fuel filler cap. The pressure of the fuel vapor within the tank should exceed that for which the fuel system is designed, the pressure relief valve opens, and the excess pressure is vented to the atmosphere.

Fuel Sender Assembly

The fuel sender assembly is located in the fuel tank. The fuel sender assembly contains the electric fuel pump, the fuel level sensor, the fuel pressure regulator, and the fuel filter. Most of the fuel sender assembly components can be serviced separately.

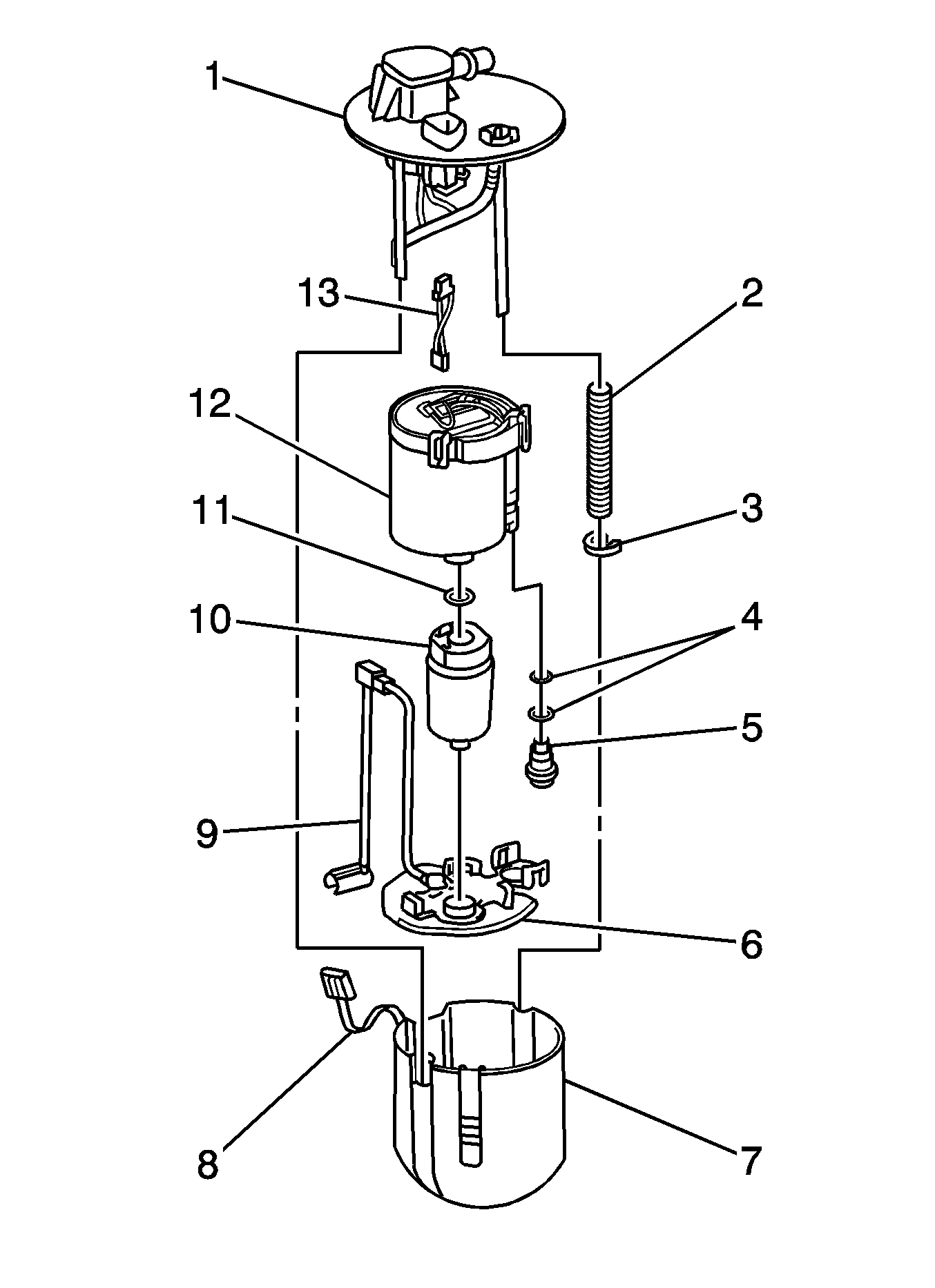
Fuel Sender Assembly


Object Number: 1464200  Size: MH
(1)Fuel Sender Assembly - Upper Support
(2)Spring
(3)Retaining E-Clip
(4)Fuel Pressure Regulator O-rings
(5)Fuel Pressure Regulator
(6)Fuel Pump Strainer
(7)Fuel Sender Assembly - Lower Housing
(8)Fuel Level Sensor
(9)Fuel Pump Jet Tube
(10)Fuel Pump
(11)Fuel Pump O-ring
(12)Fuel Filter and Housing
(13)Fuel Pump Electrical Jumper Harness

Fuel Level Sensor


Object Number: 828364  Size: SH

The fuel level sensor is part of the fuel sender assembly. The fuel level sensor (1) consists of a float (2), a float arm, and a variable resistor (1). The fuel level is measured by the position of the float in the fuel tank, and is indicated by a gauge in the instrument panel cluster (IPC) assembly. When the fuel level changes, the float position changes. The change in the float position increases or decreases the resistance reading of the variable resistor. The change in the resistance causes the position of the fuel gauge pointer to change.

Fuel Pump

The fuel pump is an electric pump that is controlled by the powertrain control module (PCM) through the circuit opening relay. When the PCM commands the fuel pump to operate, an impeller is driven by an electric motor in the pump assembly, causing the fuel in the tank to be drawn into the fuel pump inlet port. The fuel is then pumped under pressure through the fuel filter and the fuel pressure regulator, out to the fuel feed pipe and hoses to the fuel rail and the fuel injectors. The fuel pressure is maintained when the fuel pump is not running by a pressure control valve located within the pump.

Fuel Pump Strainer

The fuel pump strainer attaches to the lower end of the fuel pump and reservoir assembly. The fuel pump strainer is made of woven plastic. The functions of the fuel pump strainer are to filter contaminants and to wick fuel. The fuel pump strainer is self-cleaning and normally requires no maintenance. Fuel stoppage at this point indicates that the fuel tank contains an abnormal amount of sediment or water. Clean the fuel tank and replace a plugged fuel pump strainer with a new strainer.

Fuel Filter

The fuel filter located in the fuel tank and is part of the fuel sender assembly. The fuel filter housing is constructed to withstand the maximum fuel system pressure, exposure to fuel additives, and changes in temperature. The filter element is made of paper and is designed to trap the particles in the fuel that may cause damage to the fuel injection system.

Fuel Pressure Regulator


Object Number: 1456199  Size: SH

The fuel pressure regulator is located in the fuel tank and is part of the fuel sender assembly. The fuel pressure regulator is a diaphragm-operated pressure relief valve consisting of a diaphragm, a spring, and a valve. The fuel pressure regulator is inserted into the fuel sender assembly and sealed with one or more o-rings (1). The fuel pressure regulator used with the composite fuel tank is a double o-ring (3) design. A correctly calibrated fuel pressure regulator ensures that the fuel is delivered to the fuel injectors at the correct pressure.

Quick Connect Fittings

Quick connect style fuel fittings provide a simplified means of installing and connecting the fuel system components. Depending on the vehicle model, there are several types of quick connect fittings. Different types of fittings are used at different locations in the fuel system. Each type of quick connect fitting consists of a unique female connector and a compatible male fuel pipe end. O-rings located inside of the female connector provide a leak proof seal. Integral locking tabs or fingers hold the quick connect fittings together. A special tool is used to service some of the quick connect fittings.

Fuel Feed Pipes and Hoses

Caution: In order to Reduce the Risk of Fire and Personal Injury:

   • If nylon fuel pipes are nicked, scratched or damaged during installation, Do Not attempt to repair the sections of the nylon fuel pipes. Replace them.
   • When installing new fuel pipes, Do Not hammer directly on the fuel harness body clips as it may damage the nylon pipes resulting in a possible fuel leak.
   • Always cover nylon vapor pipes with a wet towel before using a torch near them. Also, never expose the vehicle to temperatures higher than 115°C (239°F) for more than one hour, or more than 90°C (194°F) for any extended period.
   • Before connecting fuel pipe fittings, always apply a few drops of clean engine oil to the male pipe ends. This will ensure proper reconnection and prevent a possible fuel leak. (During normal operation, the O-rings located in the female connector will swell and may prevent proper reconnection if not lubricated.)

The fuel feed and return pipes and hoses carry the fuel from the fuel tank to the fuel injectors. These pipes and hoses are attached to the underbody of the vehicle and should be inspected periodically for kinks or dents that could restrict the fuel flow.

Fuel Vapor Pipes and Hoses

The fuel vapor pipe and hoses carry the fuel vapors from the fuel tank to the evaporative emission (EVAP) canister located at the rear of the vehicle, ahead of the fuel tank. The fuel vapors are stored in the canister when the engine is not running. When the engine is running at the normal operating temperature and the accelerator pedal is depressed, the PCM will command the EVAP canister purge valve to open and allow the stored fuel vapors to be purged into the intake manifold where the vapors will be burned in the combustion process.

On-Board Refueling Vapor Recovery System (ORVR)


Object Number: 161608  Size: SH

The on-board refueling vapor recovery (ORVR) system is an on-board vehicle system designed to recover fuel vapors during the vehicle refueling operation. Instead of allowing fuel vapors to escape to the atmosphere the ORVR system transports the vapor to the EVAP canister for use by the engine. The flow of liquid fuel down the fuel filler neck provides a liquid seal that prevents fuel vapor from leaving the fuel system. The ORVR system architecture varies from platform to platform. Some of the items listed below are optional depending on the platform application. The following is a list of all the ORVR system components with a brief description of their operation:

    • The EVAP canister (1). The EVAP canister receives and stores refueling vapor from the fuel system. The EVAP canister releases the fuel vapor to the engine through the EVAP control system.
    • The vapor lines (2). The vapor lines transport fuel vapor from the fuel tank assembly to the EVAP canister.
    • The vapor recirculation line (3), if equipped. The vapor recirculation line transports fuel vapor from the fuel tank to the top of the fuel filler pipe during refueling in order to reduce the fuel vapor at the canister. The vapor recirculation line can be located inside the fuel filler pipe or outside of the fuel filler pipe.
    • The variable orifice valve (4), if equipped. The variable orifice valve regulates the amount of vapor allowed to enter the vapor recirculation line.
    • The fuel filler pipe (5). The fuel filler pipe carries fuel from the fuel dispensing nozzle to the fuel tank.
    • The check valve (6). The check valve limits fuel spitback from the fuel tank during the refueling operation by allowing fuel flow only into the fuel tank. The check valve is located at the bottom of the fuel filler pipe or in the fuel tank filler neck.
    • The fuel sender assembly (7). The fuel sender assembly pumps fuel to the engine from the fuel tank.
    • The fill limiter vent valve (8). The fill limiter vent valve is typically located in the fuel tank and acts as a shut-off valve. The fill limiter vent valve performs the following functions:
       - Controls the fuel tank fill level by closing the primary vent of the fuel tank.
       - Prevents liquid fuel from exiting the fuel tank through the vapor line and entering the EVAP canister.
       - Provides fuel-spillage protection in the event of a vehicle rollover by closing the vapor path from the tank to the EVAP canister.
    • The pressure/vacuum relief valve (9), if equipped. The pressure/vacuum relief valve provides venting of excessive fuel tank pressure or vacuum. The pressure/vacuum relief valve is located in the fuel filler neck on a plastic fuel tank and in the fill limiter vent valve on a steel fuel tank.

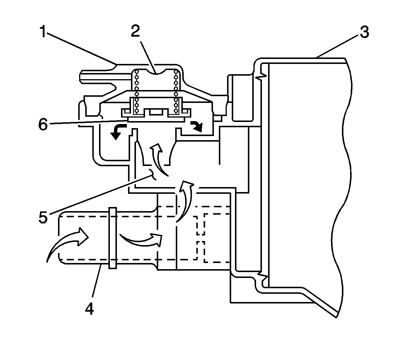
Fill Limiter Vent Valve (FLVV)


Object Number: 1459484  Size: SH
(1)FLVV
(2)Atmosphere Chamber
(3)EVAP Canister
(4)ORVR Vent Line Inlet Port
(5)Vapor Chamber
(6)Vent Control Valve

The fill limiter vent valve (FLVV) (1) is an integral part of the EVAP canister (3). The cross sectional view shows the path of fuel vapors passing thru the valve directly into the EVAP canister. When the fuel filler cap is removed during refueling, the atmosphere chamber (2) fills with atmospheric pressure that has entered thru the port from the fuel filler pipe. The pressure in the atmosphere chamber (2) opens the passage to the vapor chamber (5) by opening the vent control valve (6). Refueling causes the internal pressure in the fuel tank to increase, pushing fuel vapors into the ORVR port (4) and up thru the vent control valve (6) into the EVAP canister (3). When the fuel tank is full, the tank vapor control valve (5) closes, sealing off the passage into the EVAP canister.

Accelerator Controls

The accelerator control system is cable-operated. When the accelerator pedal is depressed the cable pulls the throttle lever open, increasing the throttle plate opening, and when the accelerator pedal is released, the throttle lever spring pressure returns the throttle lever to the idle position, decreasing the throttle plate opening.

Fuel Metering System

The function of the fuel metering system is deliver the correct amount of fuel to the engine under all operating conditions. Fuel is delivered to each cylinder by the fuel injectors. The fuel injectors are controlled sequentially by the powertrain control module (PCM). The PCM bases the control of the fuel injectors on several important engine parameters. These engine parameters include the following:

    • Engine speed (RPM)
    • Mass air flow (MAF)
    • Engine coolant temperature (ECT)
    • Intake air temperature (IAT)
    • Throttle Position (TP)
    • Fuel control oxygen sensor input (HO2S 1)

Determining air density is critical to proper air/fuel management. Air density is primarily derived from the MAF sensor input. The mass air flow (MAF) sensor measures the air volume and determines the air density. Larger volumes of air and denser air masses require additional fuel. The information from the MAF sensor is used by the PCM in order to modify the fuel injector pulse width.

Fuel Injector


Object Number: 228620  Size: SH

The fuel injector is an electromagnetic (solenoid) type injection nozzle which injects fuel into the intake port of the cylinder head according to the signals from the powertrain control module (PCM). There are 4 fuel injectors, one for each cylinder, located between the intake manifold and the fuel rail.

The PCM energizes the solenoid coil of the fuel injector, generating an electromagnet field that attracts the solenoid plunger. The needle valve, which is incorporated with the solenoid plunger, is opened by the movement of the solenoid plunger. The opening of the needle valve allows fuel that is under pressure to disperse thru a twelve hole plate into a cone shaped pattern. Because the stroke of the needle valve in the fuel injector is set constant, the amount of fuel injected at one time is determined by the pulse width injection time--the length of time the solenoid coil is energized.

Fuel Injection Operation

The PCM controls the amount of fuel the fuel injector supplies to each cylinder by controlling the ON time, or length of pulse, of each individual injector. The delivery timing of the fuel into the cylinder head intake port by the fuel injector is controlled by the PCM. The timing and pulse of the fuel injectors is carefully calculated with inputs from the various sensors so that a suitable air/fuel mixture is supplied to the engine for every driving condition.

There are two types of injection timing. One is synchronous injection, when fuel injection is synchronous with the ignition signal or the signal from the camshaft position (CMP) sensor. The other is asynchronous injection, when fuel injection takes place independently of the ignition signal or the signal from the CMP sensor.

The PCM first calculates the correct timing of the fuel injectors by factoring the engine speed and the air volume together. Then the PCM applies certain compensations that are based on the information provided by various sensors which detect the state of the engine and the current driving conditions.

Synchronous Injection

When starting the engine, the fuel injectors inject the fuel simultaneously and synchronously at every camshaft position (CMP) sensor signal. When the engine is starting at a cold state, the amount of fuel is determined by the engine coolant temperature (ECT) sensor and is divided and injected.

Once the engine is running, the fuel injection occurs in a cylinder only when the cylinder is in the exhaust stroke. The PCM detects the compression stroke of cylinder 1 through the CMP sensor signal.

Asynchronous Injection

Whenever a change in the throttle valve opening exceeds a specified value, as determined by the PCM, additional fuel is injected simultaneously into the cylinders which are in the intake and exhaust strokes. This is in addition to the above synchronous injection and is not based on the ignition signal.

Engine Starting Enrichment

In order to improve starting performance, fuel enrichment during start up is carried out. For a certain time after the engine is started, the air/fuel mixture is enriched slightly in order to stabilize the engine speed. The amount of compensation varies depending on the engine coolant temperature as measured by the ECT sensor.

Engine Warm-Up Enrichment

When the engine is cold, additional fuel is added in order to ensure good driveability. The level of enrichment of the air/fuel mixture is gradually decreased until the engine coolant temperature (ECT) sensor reaches a specified value.

Acceleration Enrichment

During acceleration, the pulse of the fuel injectors is lengthened in order to deliver more fuel. The additional fuel required is relative to the engine coolant temperature. Acceleration Enrichment ensures smooth and reliable engine acceleration.

Power Enrichment

In order to provide maximum power during high engine load driving conditions, the air/fuel mixture is enriched when the throttle valve opening is more than a specified, PCM determined, value.

System Voltage Compensation

A power supply system voltage drop will delay the mechanical operation of the fuel injector. The actual injector ON time becomes shorter when the system voltage decreases. In order to compensate for this, the fuel injector pulse width signal is lengthened.

Crank Signal

The crank signal is sent from the starter motor circuit. When the starter motor circuit is energized as the ignition switch is in the START position, a crank signal is supplied to the PCM. The PCM increases the fuel injector pulse when receiving a voltage on the crank signal circuit. The slight increase in fuel provides quicker and smoother engine start-up. The crank signal is also used as an input for running certain engine control system diagnostics, such as the CKP sensor DTC P0335. The crank signal input can be monitored on a scan tool as the Starter Switch parameter.

Base Air/Fuel Ratio Compensation

The base air/fuel ratio may vary due to differences in individual engines and mileage. In order to compensate for such variations, feedback information is used to adjust the base air/fuel mixture to maintain the optimum air/fuel ratio.

Fuel Cutoff

Fuel cutoff occurs when the PCM stops fuel injection or turns off the fuel pump. Fuel cutoff is used during the following conditions:

    • During deceleration, when the throttle valve is closed and engine speed is high, fuel injection is stopped so that unburned gas will not be exhausted. Fuel injection starts again when the engine speed decreases to less than 1,400 RPM.
    • In order to prevent engine overrun, which adversely affects the engine, fuel injector delivery stops when the engine speed exceeds 8,500 RPM. Fuel delivery starts again when the engine speed decreases to a safe operating level.
    • In order to minimize any possible fuel spillage during an airbag deployment event, the fuel pump is de-energized,. The PCM receives a signal from the supplemental inflatable restraint (SIR) system and turns off the fuel pump relay. The relay is re-energized once the ignition switch is cycled off and then on again.

Air/Fuel Ratio Feedback Compensation-Closed Loop Operation

In order to obtain the most efficient engine performance with a good balance of power and fuel economy, the air/fuel mixture must be kept as close to the theoretical air/fuel ratio of 14.7:1 as possible. Maintaining the 14.7:1 air/fuel ratio also provides efficient operation of the 3-way catalytic converter (TWC) and a high clarification rate of CO, HC and NOx in the exhaust gas stream, In order to accomplish this the PCM first compares the input voltage from the heated oxygen sensor 1 (HO2S 1) with a specified reference voltage.

The HO2S 1 sensor used on the 1.8L-LNK is a typical switching style HO2S. The HO2S input signal is displayed as a voltage within the range of 0-1,200 millivolts. An HO2S value of 400-600 millivolts indicates that the air fuel ratio is near 14.7:1. When the HO2S 1 input voltage is higher than the specified reference voltage, the PCM determines that the air/fuel ratio is richer than the theoretical air/fuel ratio and reduces the fuel. If the input voltage from the HO2S 1 is lower than the specified reference voltage, the PCM determines that the air/fuel ratio is leaner and increases the fuel. By repeating these operations, the PCM can adjust the air/fuel ratio in order to be closer to the theoretical air/fuel ratio. Control of the fuel delivery system as just described is known as Closed Loop operation.

Closed Loop Fuel Control Operation

Air/Fuel Mixture

Exhaust O2 Content

HO2S 1 Output

Fuel System Response

Lean Mixture

High Oxygen

Low Voltage

Rich Command

Rich Mixture

Low Oxygen

High Voltage

Lean Command

The Closed Loop fuel control operation will not take place under any of the following conditions:

    • At engine start up
    • When the fuel injection is increased just after engine start up.
    • When the engine coolant temperature (ECT) sensor is indicating a low coolant temperature.
    • When the engine is operating under a high demand, such as at wide open throttle (WOT).
    • During fuel cutoff
    • When the HO2S 1 is cold--Open Loop operation.

Control of the air supply that is mixed with the metered fuel is detailed in the description of the air intake system. Refer to Air Intake System Description .