GM Service Manual Online
For 1990-2009 cars only

Exhaust Muffler Replacement LV6 Engine

Removal Procedure

  1. Raise the vehicle. Support the vehicle. Refer to Lifting and Jacking the Vehicle .

  2. Object Number: 836332  Size: SH
  3. Remove the bolt and clamp from the three-way catalytic converter (TWC) assembly.
  4. Remove the hangers from the muffler.
  5. Remove the muffler/tail pipe assembly from the vehicle.
  6. Clean the seal mating surfaces.

Installation Procedure

Notice: Use the correct fastener in the correct location. Replacement fasteners must be the correct part number for that application. Fasteners requiring replacement or fasteners requiring the use of thread locking compound or sealant are identified in the service procedure. Do not use paints, lubricants, or corrosion inhibitors on fasteners or fastener joint surfaces unless specified. These coatings affect fastener torque and joint clamping force and may damage the fastener. Use the correct tightening sequence and specifications when installing fasteners in order to avoid damage to parts and systems.


    Object Number: 836332  Size: SH
  1. Install the muffler/tail pipe assembly, with a new gasket, to the vehicle.
  2. Install the hangers to the muffler.

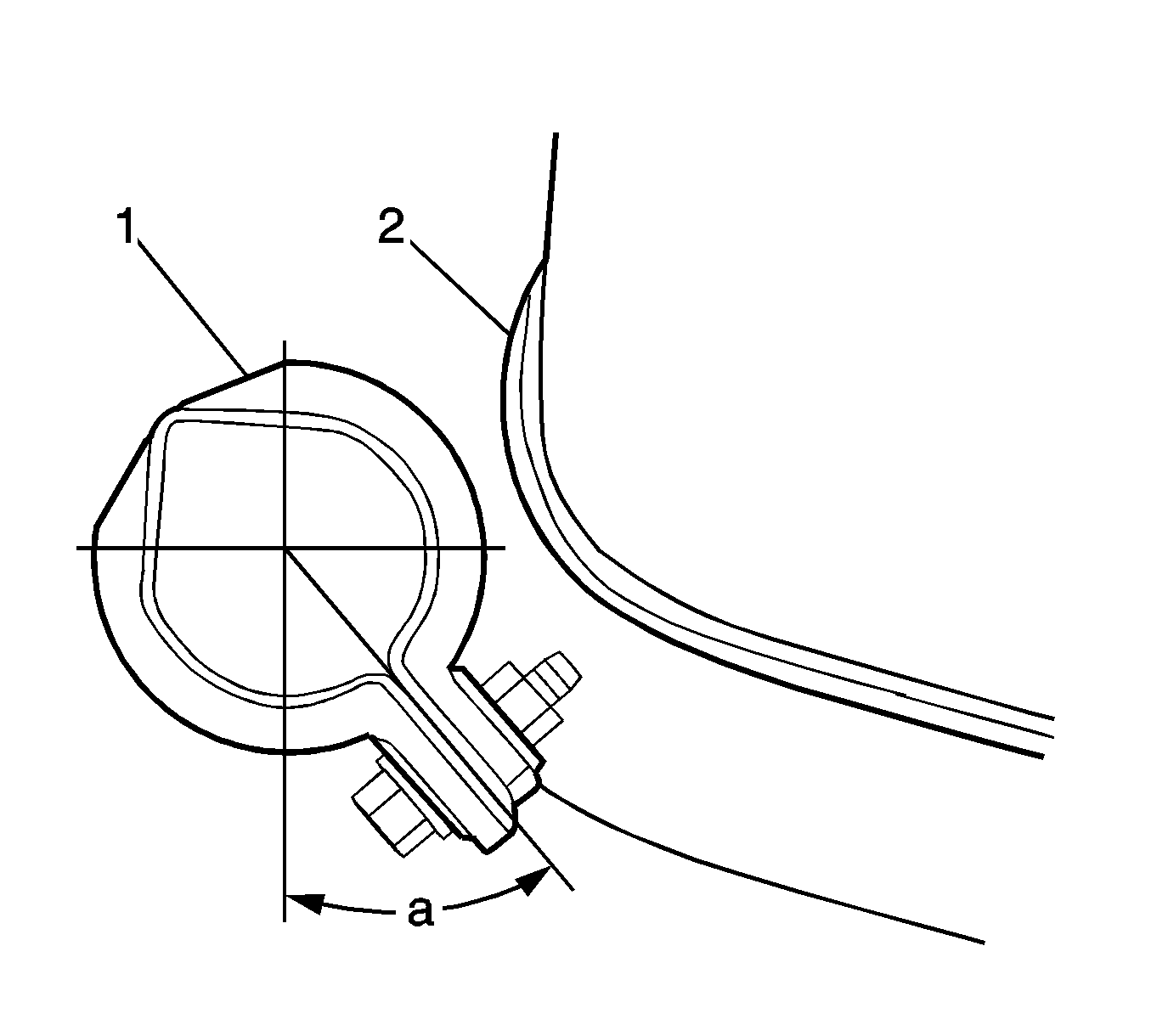
  3. Object Number: 1637901  Size: SH

    Important: Ensure clamp (1) is positioned in the acceptable range (A), in relation to the muffler (2).

  4. Install the bolt and clamp (1) to the TWC assembly
  5. Tighten
    Tighten the clamp bolt to 32 N·m (24 lb ft).

  6. Lower the vehicle.

Exhaust Muffler Replacement LNK Engine

Removal Procedure

  1. Raise the vehicle. Support the vehicle. Refer to Lifting and Jacking the Vehicle .

  2. Object Number: 836734  Size: SH
  3. Remove the bolts, the springs and the gasket from the three-way catalytic converter (TWC)  (3) assembly.
  4. Remove the hangers from the muffler.
  5. Remove the muffler/tail pipe assembly from the vehicle.
  6. Clean the seal mating surfaces.

Installation Procedure

Notice: Use the correct fastener in the correct location. Replacement fasteners must be the correct part number for that application. Fasteners requiring replacement or fasteners requiring the use of thread locking compound or sealant are identified in the service procedure. Do not use paints, lubricants, or corrosion inhibitors on fasteners or fastener joint surfaces unless specified. These coatings affect fastener torque and joint clamping force and may damage the fastener. Use the correct tightening sequence and specifications when installing fasteners in order to avoid damage to parts and systems.


    Object Number: 836734  Size: SH
  1. Install the muffler/tail pipe assembly, with a new gasket, to the vehicle.
  2. Install the hangers to the muffler.
  3. Install the springs and bolts to the TWC (3) assembly.
  4. Tighten
    Tighten the clamp bolt to 43 N·m (32 lb ft).

  5. Lower the vehicle.