GM Service Manual Online
For 1990-2009 cars only
Makes
🢒
Pontiac
🢒
2006
🢒
Vibe - AWD
🢒
Body
🢒
Roof
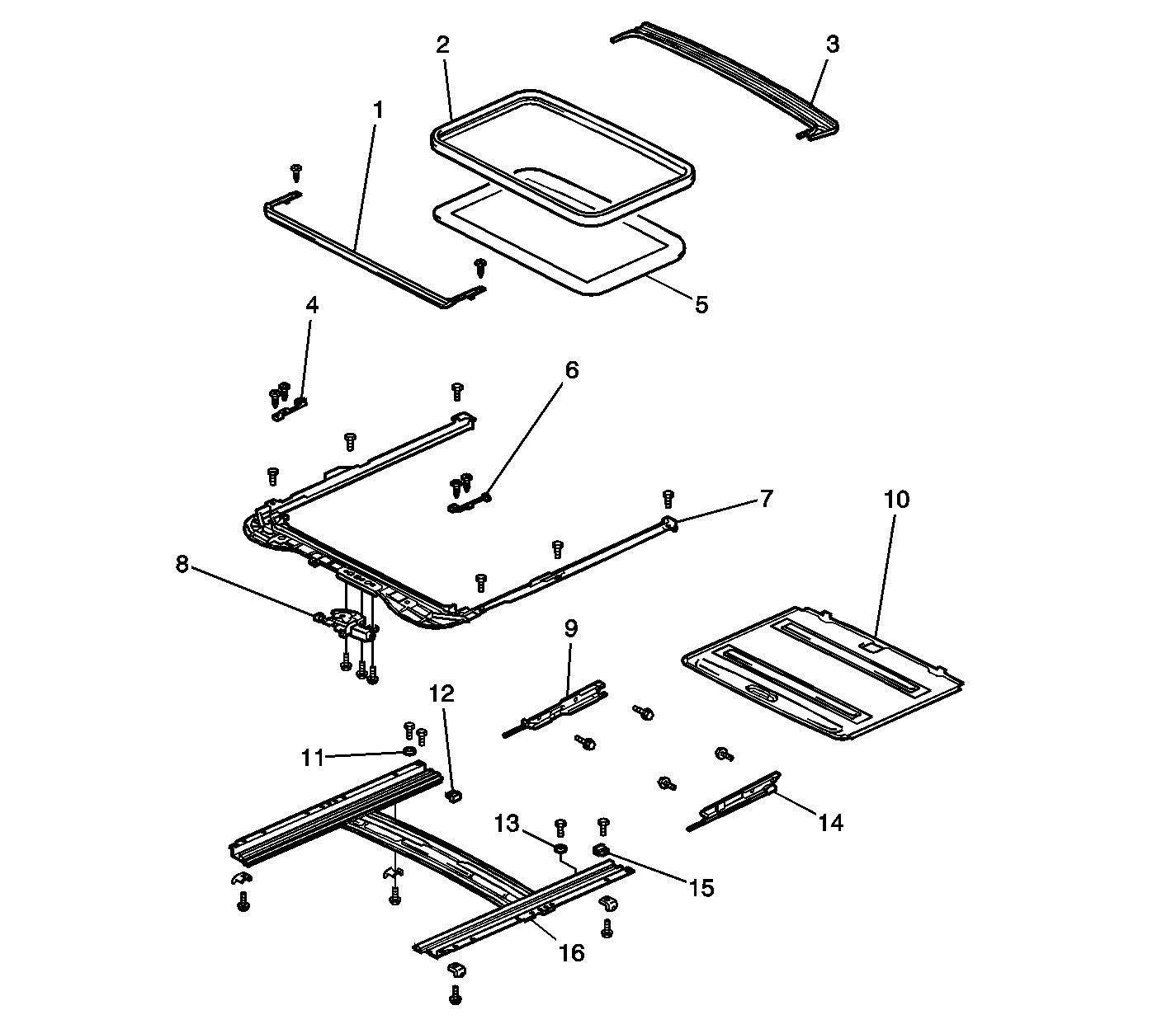
🢒 Power Sunroof Disassembled View
Sunroof
(1)
Roof Wind Deflector
(2)
Sunroof Weatherstrip
(3)
Rear Roof Drip Channel
(4)
LH Sunroof Guide Block
(5)
Sunroof Glass
(6)
RH Sunroof Guide Block
(7)
Sunroof Housing
(8)
Sunroof Drive Gear Assembly
(9)
RH Drive Cable
(10)
Sunshade Trim Sub Assembly
(11)
Sunroof Panel Stopper
(12)
Sunshade Trim Stopper
(13)
Sunroof Panel Stopper
(14)
LH Drive Cable
(15)
Sunshade Trim Stopper
(16)
Sunroof Rail Sub Assembly