GM Service Manual Online
For 1990-2009 cars only

BPMV and EBCM (with Traction Control)


Object Number: 1491409  Size: SH
(1)EBCM Wiring Harness Connector
(2)Brake Pressure Modulator Valve (BPMV)/Electronic Brake Control Module (EBCM)
(3)EBCM/BPMV Mounting Bracket

BPMV and EBCM (without Traction Control)


Object Number: 1491413  Size: SH
(1)Brake Pressure Modulator Valve (BPMV)/Electronic Brake Control Module (EBCM)
(2)EBCM Wiring Harness Connector
(3)EBCM/BPMV Mounting Bracket

Front Wheel Speed Sensors and Rings


Object Number: 237532  Size: SH
(1)Front Wheel Speed Sensor
(2)Front Wheel Speed Sensor Ring

Rear Wheel Speed Sensors and Rings


Object Number: 237536  Size: SF
(1)Rear Wheel Speed Sensor
(2)O-Ring
(3)Brake Drum
(4)Rear Hub and Bearing Assembly

BPMV Hydraulic Flow (without Traction Control)


Object Number: 236979  Size: LF
(1)Right Rear Flow Control Valve
(2)Left Front Flow Control Valve
(3)Left Front ABS Solenoid Valve
(4)Right Rear ABS Solenoid Valve
(5)Buffer Chamber
(6)Proportioning Valve
(7)Pump Inlet Check Valves
(8)Left Rear ABS Solenoid Valve
(9)Right Front ABS Solenoid Valve
(10)Right Front Flow Control Valve
(11)Left Rear Flow Control Valve
(12)Pump Outlet Check Valves
(13)Master Cylinder

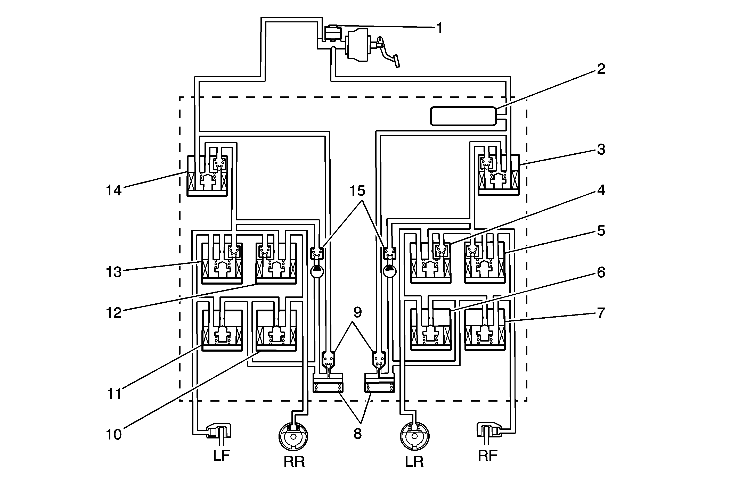
BPMV Hydraulic Flow (with Traction Control)


Object Number: 1491404  Size: MF
(1)Master Cylinder
(2)Master Cylinder Pressure Sensor
(3)Master Cylinder Solenoid Valve
(4)Left Rear Pressure Hold Valve
(5)Right Front Pressure Hold Valve
(6)Left Rear Pressure Reduction Valve
(7)Right Front Pressure Reduction Valve
(8)Buffer Chamber
(9)Pressure Regulator Valves
(10)Right Rear Pressure Reduction Valve
(11)Left Front Pressure Reduction Valve
(12)Right Rear Pressure Hold Valve
(13)Left Front Pressure Hold Valve
(14)Master Cylinder Solenoid Valve
(15)Pump Check Valves

The vehicle may be equipped with the following braking systems:

    • Antilock brake system (ABS)
    • Electronic brake force distribution (EBD)
    • Traction control system (TCS)
    • Vehicle stability enhancement system (VSES) (JL4)

The following components are involved in the operation of the above systems:

    • Electronic brake control module (EBCM)--The EBCM controls the system functions and detects failures.
    • Brake pressure modulator valve (BPMV)--The BPMV contains the hydraulic valves and pump motor that are controlled electrically by the EBCM. The BPMV uses a 4-circuit configuration with a diagonal split. The BPMV directs fluid from the reservoir of the master cylinder to the left front and right rear wheels and fluid from the other reservoir to the right front and left rear wheels. The diagonal circuits are hydraulically isolated so that a leak or malfunction in one circuit will allow continued braking ability on the other.

       Important: There is a rubber isolator located under the BPMV and on the mounting studs. The rubber isolators protect the BPMV and the EBCM from vehicle vibrations.

    • The BPMV contains the following components:
       - Pump motor
       - Hold valves, one per wheel
       - Reduction Valves, one per wheel
       - Master cylinder valves
    • Wheel speed sensors (WSS)--As the wheel spins, the wheel speed sensor produces an AC signal. The EBCM uses this AC signal to calculate wheel speed. The wheel speed sensors are replaceable only as part of the wheel hub and bearing assemblies.
    • Traction control switch--The traction control system (TCS) is manually disabled or enabled using the traction control switch.
    • Deceleration sensor (AWD vehicles)--The EBCM uses the deceleration sensor as an indication of the lateral acceleration/deceleration of the vehicle.
    • Yaw rate/deceleration sensor (w/JL4)--The EBCM uses the yaw rate/deceleration sensor as an indication of the yaw rate and lateral acceleration/deceleration of the vehicle.
    • Steering angle sensor (w/JL4)--The EBCM uses the steering angle sensor as an indication of the position and rotation of the steering wheel.
    • Brake pressure sensor (w/JL4)--The EBCM uses the brake pressure sensor for more accurate control during a VSES event.

Initialization Sequence

The electronic brake control module (EBCM) performs one initialization test each ignition cycle.

The initialization sequence may also be commanded with a scan tool.

The initialization sequence cycles each solenoid valve and the pump motor, as well as the necessary relays for approximately 1.5 seconds to check component operation. The EBCM sets a DTC if any error is detected. The initialization sequence may be heard and felt while it is taking place, and is considered part of normal system operation.

The EBCM defines a drive cycle as the completion of the initialization sequence.

Antilock Brake System

When wheel slip is detected during a brake application, the ABS enters antilock mode. During antilock braking, hydraulic pressure in the individual wheel circuits is controlled to prevent any wheel from slipping. A separate hydraulic line and specific solenoid valves are provided for each wheel. The ABS can decrease, hold, or increase hydraulic pressure to each wheel brake. The ABS cannot, however, increase hydraulic pressure above the amount which is transmitted by the master cylinder during braking.

During antilock braking, a series of rapid pulsations is felt in the brake pedal. These pulsations are caused by the rapid changes in position of the individual solenoid valves as the electronic brake control module (EBCM) responds to wheel speed sensor inputs and attempts to prevent wheel slip. These pedal pulsations are present only during antilock braking and stop when normal braking is resumed or when the vehicle comes to a stop. A ticking or popping noise may also be heard as the solenoid valves cycle rapidly. During antilock braking on dry pavement, intermittent chirping noises may be heard as the tires approach slipping. These noises and pedal pulsations are considered normal during antilock operation.

Vehicles equipped with ABS may be stopped by applying normal force to the brake pedal. Brake pedal operation during normal braking is no different than that of previous non-ABS systems. Maintaining a constant force on the brake pedal provides the shortest stopping distance while maintaining vehicle stability.

Pressure Hold

The electronic brake control module (EBCM) closes the hold valve and keeps the reduction valve closed in order to isolate the system when wheel slip occurs. This holds the pressure steady on the brake so that the hydraulic pressure does not increase or decrease.

Pressure Decrease

The electronic brake control module (EBCM) decreases the pressure to individual wheels during a deceleration when wheel slip occurs. The hold valve is closed and the reduction valve is opened. The excess fluid is stored in the accumulator until the return pump can return the fluid to the master cylinder.

Pressure Increase

The electronic brake control module (EBCM) increases the pressure to individual wheels during a deceleration in order to reduce the speed of the wheel. The hold valve is opened and the reduction valve is closed. The increased pressure is delivered from the master cylinder.

Electronic Brake Force Distribution (EBD)

The electronic brake force distribution (EBD) system is part of the operation software in the electronic brake control module (EBCM). The EBD uses active control with existing ABS in order to regulate the vehicle's front to rear brake pressure.

Traction Control System (TCS)

The traction control system (TCS) is designed to limit wheel slip during acceleration when one or more of the drive wheels are accelerating too rapidly. Traction control will not have any effect on vehicle operation until the electronic brake control module (EBCM) detects one or both of the front wheels rotating faster than the rear wheels. The TCS accomplishes this by 2 methods, engine torque reduction and brake intervention. The 2 methods are used together to control wheel slip during acceleration. Both methods are described below.

Vehicle Stability Enhancement System (VSES)

The vehicle stability enhancement system (VSES) is also known as the Stabilitrak Plus system, and the instrument cluster indicator lamp is labeled Stability Off. The VSES consists of a yaw/lateral accelerometer sensor, a steering angle sensor, and a brake pressure sensor working in conjunction with the electronic brake control module (EBCM).

The yaw rate sensor and deceleration sensor are both in the same module. The yaw/deceleration sensor is located under the front - LH seat.

The steering angle sensor sends dual controller area network (CAN) signals to the EBCM. The EBCM determines steering wheel position and rotation using these signals.

The EBCM uses input from the brake pressure sensor for more accurate control during a VSES event.

ABS Indicator

The instrument panel cluster (IPC) illuminates the ABS indicator when the following occurs:

    • The electronic brake control module (EBCM) detects a malfunction with the antilock brake system.
    • The IPC performs the displays test at the start of each ignition cycle. The indicator illuminates for approximately 3 seconds.

Traction Control System Indicator(s)

The instrument panel cluster (IPC) illuminates the Low Trac indicator when the following occurs:

    • The electronic brake control module (EBCM) detects a traction control event (either ABS active or traction control system active). The IPC receives a message from the EBCM requesting illumination.
    • The IPC performs the displays test at the start of each ignition cycle.

Stability System Indicator

The instrument panel cluster (IPC) illuminates the Stability System indicator when the following occurs:

    • The electronic brake control module (EBCM) detects a malfunction in the vehicle stability enhancement system (VSES) or traction control system (TCS)
    • The EBCM detects the TCS is turned OFF using the TRAC OFF switch.
    • The IPC performs the displays test at the start of each ignition cycle.

Brake Warning Indicator

The instrument panel cluster (IPC) illuminates the brake indicator when the following occurs:

    • The park brake is engaged.
    • The electronic brake control module (EBCM) detects a malfunction with the electronic brake distribution (EBD).
    • The IPC detects a low brake fluid condition (signal circuit is low).
    • The IPC performs the displays test at the start of each ignition cycle. The indicator illuminates for approximately 3 seconds.