GM Service Manual Online
For 1990-2009 cars only

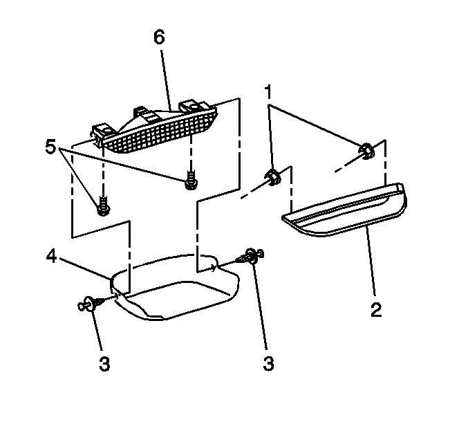
Removal Procedure


    Object Number: 821947  Size: SH
  1. Open the liftgate.
  2. Remove the 2 high mounted stoplamp cover push-in retainers (3).
  3. Remove the high mounted stoplamp center cover (4).
  4. Remove the 2 screws (5) from the stop lamp (6).
  5. Remove the stoplamp (6).
  6. Remove the lamp socket, from the stoplamp (6) by turning counter clockwise, if necessary.
  7. Remove the bulb from the lamp socket, if necessary.
  8. Remove the 2 nuts (1) and the stoplamp cover (2).

Installation Procedure


    Object Number: 821947  Size: SH
  1. Position the stoplamp cover (2) to the stop lamp (5).
  2. Install the 2 stoplamp cover nuts (1).
  3. Install the bulb to the lamp socket, if removed.
  4. Install the lamp socket to the stoplamp (6) by turning clockwise, if removed.
  5. Install the stoplamp (6).
  6. Install the 2 stop lamp screws (5) to the stop lamp (6).
  7. Position the stoplamp center cover (4) to the stop lamp (6).
  8. Install the 2 high mounted stop lamp cover push-in retainers (3) to the stop lamp center cover (4).
  9. Close the liftgate.