GM Service Manual Online
For 1990-2009 cars only

    Object Number: 1413888  Size: SH
  1. Remove the drain plug (34) and drain the transmission fluid.

  2. Object Number: 1413889  Size: SH
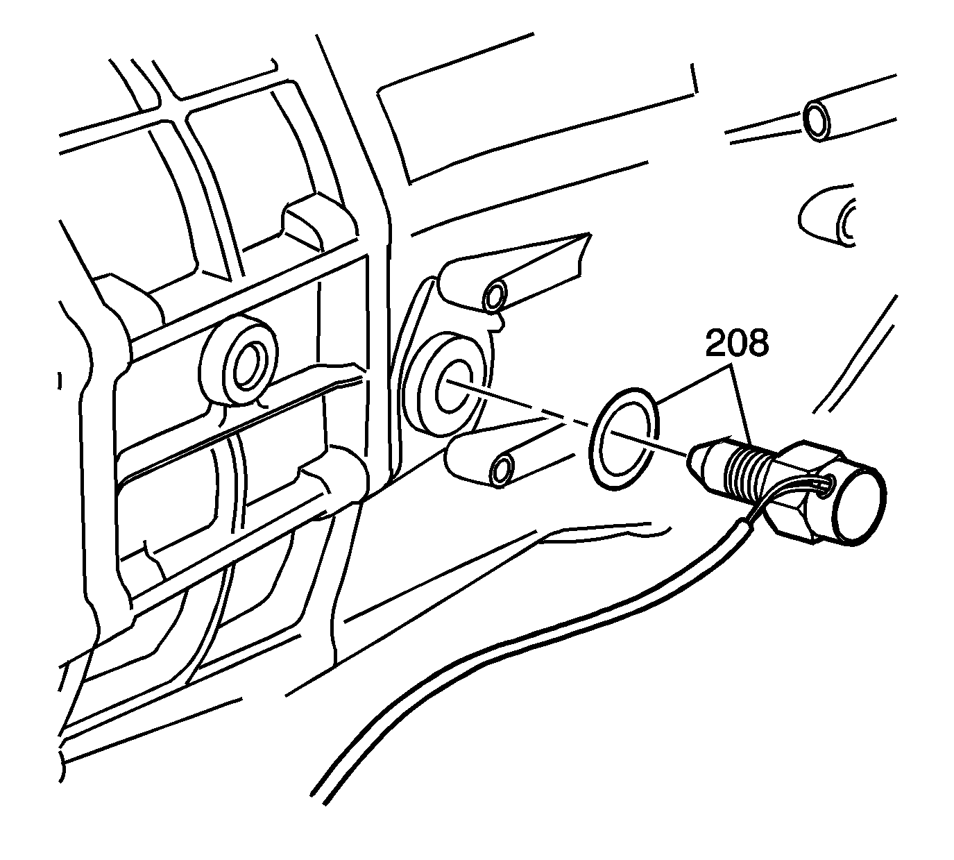
  3. Remove the backup lamp switch and washer (208) from the case.

  4. Object Number: 1413890  Size: SH
  5. Remove the output sensor (213) and bolt (215) from the rear extension housing.

  6. Object Number: 1413891  Size: SH
  7. Using a screwdriver, release the staking of the propshaft flange nut (126).
  8. Remove the propshaft flange nut (126) and propshaft flange fluid seal (193).
  9. Remove the propshaft flange (108).

  10. Object Number: 1413892  Size: SH

    Notice: When releasing the staking, do not tap with a hammer. Excessive force may damage the bearing.

  11. To release the staking, insert a screwdriver into the gap between the select shift lever retainer (42) and the rod.
  12. With suitable pliers, rotate the select shift lever retainer (42) forward.
  13. Use a magnet to remove the shift lever pin (41).

  14. Object Number: 1413893  Size: SH
  15. Remove the shift lever rod universal joint (40), damper (102) and select shift lever retainer (42) from the end of the shift selector.

  16. Object Number: 1413894  Size: SH
  17. Remove the 8 bolts (93) from the extension housing (86).
  18. Remove the extension housing.

  19. Object Number: 1413895  Size: SH
  20. Remove the rear output shaft rear bearing spacer (191).
  21. Remove the vehicle speed sensor drive gear (212).
  22. Remove the locking ball (214).
  23. Remove the main shaft bearing oil slinger (107).

  24. Object Number: 1413897  Size: SH
  25. Remove the 11 flange bolts retaining the clutch housing. This includes 8 bolts from the front and 3 bolts from the rear.

  26. Object Number: 1413898  Size: SH
  27. Remove the clutch housing hole plug (30) from the clutch housing.

  28. Object Number: 1504121  Size: SH
  29. Remove the following components:
  30. • the shift shaft detent plug (36)
    • the shift shaft detent spring (75)
    • the shift shaft detent pin (68)

    Object Number: 1413899  Size: SH
  31. Remove the 10 bolts (27) and retainer (209) from the rear case housing.
  32. Notice: Refer to Machined Surface Damage Notice in the Preface section.

  33. Using a soft-face hammer, separate the rear case housing from the intermediate case housing.
  34. Remove the rear case housing.

  35. Object Number: 1413901  Size: SH
  36. Remove the 2 oil trough bolts (37) and oil trough (20).

  37. Object Number: 1504123  Size: SH
  38. Remove the oil trough pipe (19).
  39. Remove the bolt (35) and gasket (32).
  40. Notice: Refer to Machined Surface Damage Notice in the Preface section.


    Object Number: 1413902  Size: SH
  41. Using a soft-face hammer, separate the intermediate case from the front clutch housing.
  42. Remove the intermediate case housing.

  43. Object Number: 1413904  Size: SH
  44. Remove the shift shaft selector lever.

  45. Object Number: 1413910  Size: SH
  46. Remove the rear output shaft (111), input shaft bearing (137) and blocking ring (121) from the 6th gear synchronizer assembly.

  47. Object Number: 1413905  Size: SH
  48. Remove the reverse idler gear bearing (136), reverse idler gear (205) and the reverse idler gear shaft (204).

  49. Object Number: 1425647  Size: SH
  50. Remove the 4 bracket bolts from the shift counter lever bracket.

  51. Object Number: 1413907  Size: SH
  52. Stretch snap ring on the front countershaft bearing. Maintain stretch.

  53. Object Number: 1425649  Size: SH
  54. Using a rubber hammer, tap on transmission front case in order to disengage the countershaft bearing's snap ring.

  55. Object Number: 1413909  Size: SH
  56. Stretch the snap ring on the rear input shaft bearing. Maintain stretch.

  57. Object Number: 1425649  Size: SH
  58. Hold the countershaft. Using a soft rubber hammer tap on the transmission front case in order to disengage the snap ring. Separate the input shaft and countershaft from clutch housing.

  59. Object Number: 1425650  Size: SH
  60. Remove the input shaft, countershaft and shift rails as an assembly.

  61. Object Number: 1425652  Size: SH
  62. Separate the shift rails, the input shaft and countershaft.