GM Service Manual Online
For 1990-2009 cars only

Driver Seat Belt Indicator System

The driver seat belt system includes a switch in the driver seat belt buckle which controls the seat belt indicator lamp in the instrument panel cluster and the sounding of a tone alarm. When the ignition switch is turned to the ON position, and the driver seat belt is unbuckled, the driver seat belt switch is closed and provides a ground to the seat belt indicator in the instrument panel cluster. The indicator receives ignition voltage through the instrument panel cluster feed circuits. The indicator flashes continuously when the seat belt is unbuckled. When the seat belt is buckled, the switch is opened, and the indicator goes out.

The seat belt switch also provides a ground for the seat belt warning alarm. The alarm sounds for five seconds if the driver seat belt is unbuckled when the ignition switch is turned to the ON position. If the driver buckles the seat belt during this time (opening the switch), the alarm will stop.

The seat belt switch also sends a signal to the inflatable restraint sensing and diagnostic module (SDM).

Passenger Seat Belt Indicator System

The passenger seat belt system includes a switch in the passenger seat belt buckle and an occupant detection sensor in the seat cushion. These two switches are in series and control the ground for the passenger seat belt indicator in the instrument panel. The indicator receives ignition voltage through the GAUGE fuse. When the ignition switch is turned to the ON position, and an occupant is in the passenger seat, the occupant detection switch closes and provides a ground to the indicator through the closed passenger seat belt switch. The indicator flashes continuously when the seat belt is unbuckled. When the passenger seat belt is buckled, the seat belt switch opens causing the indicator to stop flashing.

The seat belt switch also sends a signal to the inflatable restraint sensing and diagnostic module (SDM).

Restraint System

Caution: To help avoid personal injury from unrepaired crash damage to a restraint system, perform the seat belt check for each seat belt system. Replace the seat belt system if there is any doubt about the condition of system components.

Seat belts are the primary means of occupant restraint. Seat belts help to keep the occupant inside the passenger compartment and to ride down the crash forces more gradually during the following events.

    • Frontal impact type crashes
    • Rear impact type crashes
    • Side impact type crashes
    • Roll over type crashes

All seat belts have emergency locks in the retractors. During normal operation, the retractors remain unlocked to allow free movement of the occupant's upper body under normal driving conditions. The seat belt webbing is locked to position by a pendulum that causes a locking bar to engage a cog on the spool of the retractor mechanism under the following conditions.

    • The rapid extraction of the seat belt webbing from the retractor.
    • The speed of the vehicle changes abruptly.
    • The direction of the vehicle changes abruptly.
    • The vehicle is on a steep upgrade or a downgrade.

The seat belts have an automatic locking (cinch) feature. The cinch feature is activated when the seat belt webbing is completely extended from the retractor. The cinch feature will not allow the webbing to extend from whatever position it is allowed to retract. It is recommended that the cinch feature is used when securing a child seat. The cinch feature is canceled by allowing the webbing to be completely wound back into the retractor. After the cinch feature is canceled, the webbing is unlocked and will extend from the retractor.

The seat belts have a comfort lock feature which prevents full retraction of the webbing allowing the user to lock the seat belt into a comfortable position. The feature is activated by slowly allowing the webbing to wind in to the retractor. The user can readjust the comfort lock during vehicle operation. The feature is canceled by extending the webbing from the retractor or the user's door is opened allowing the webbing to fully retract to the stowed position.

Front Seat Belt System

The front seat belt system includes the following components:

    • The driver and the passenger seat belt retractors. The driver and passenger seat belt retractors are located on the center pillar.
    • The driver and passenger seat belt buckles. The driver and the passenger seat belt buckles are located between the two front seats. The seat belt buckles are attached to each seat.
    • The driver seat belt system includes a seat belt switch in the driver seat belt buckle which controls the fasten safety belt indicator and a tone alarm.

Rear Seat Belt System

The rear seat belt system includes the following components:

    • The rear seat belt retractor is located under the rear window trim panel and is attached to the body.
    • The rear seat belt buckles are located beneath the seat cushion and are attached to the rear floor pan.

Child Seat Restraint System

Caution: A child in a rear-facing child restraint can be seriously injured if the right-front passengers air bag inflates. This is because the back of a rear-facing child restraint would be very close to the inflating air bag. NEVER use a rear-facing child restraint in this vehicle. If a forward-facing child restraint is suitable for your child, ALWAYS move the front passenger seat as far back as it will go and then install the child restraint. Be sure the child restraint position does not conflict with any additional requirements provided by the manufacturer. For more information, refer to the vehicle owners manual and the instruction that came with the child restraint.

The child seat may only be used in a forward facing seating location. The child seat should be installed and secured according to the manufacturer's directions.


Object Number: 831179  Size: SH

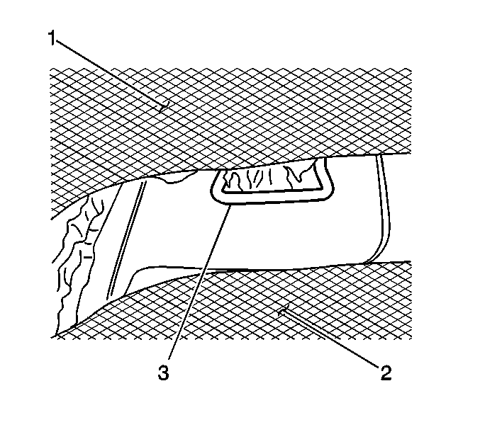
The vehicle is equipped with a upper child seat anchor bracket (2) for each rear seat position. The upper brackets (2) are located behind the rear seat back cushion, on the filler panel (3) under the tether anchor covers (1).


Object Number: 701914  Size: SH

The vehicle is also equipped with a lower child seat anchor bracket (3) for each rear seat position. The lower brackets (3) are located below the rear seat back cushion (1), behind the rear seat cushion (2).


Object Number: 831225  Size: SH

Important: It will be necessary to raise the rear head restraint and install the child seat top strap beneath it, when utilizing either the left, center or right upper anchor bracket.

If the child seat has a top strap (2) it must be anchored to one of the upper anchor brackets (1). If the child seat has a bottom strap it must be anchored to one of the lower anchor brackets.

Passengers should not be allowed to sit at locations where the seat belts are being used to secure the child seat.

All vehicles are equipped with a dual-mode type retractor with emergency and automatic locking features. The automatic locking feature is for restraint of a child seat. The child seat can be secured by pulling the seat belt all the way out to lock it. Then, tighten the seat belt around the child seat.